Системы полива сада, огорода, теплиц, парников своими руками - Страница 9
Затем продолжают выемку грунта. Кольца опускаются под собственной тяжестью, срезая ножом мелкие неровности на стенках шахты. При строительстве колодца таким способом целесообразно использовать простой прием, который позволяет эффективно контролировать равномерность опускания кольца.
Для этого следует взять 4 одинаковые опоры в виде деревянных брусков или кирпичей, выкопать с диаметрально противоположных сторон 4 углубления под кольцом, вставить туда опоры. После этого равномерно удаляют грунт между опорами до тех пор, пока кольцо не встанет на опоры. Затем осторожно вынимают грунт из-под опор, и кольцо равномерно опустится на грунт. Эту операцию повторяют многократно. Грунт из шахты поднимают бадьей с помощью лебедки или простой треноги.
При сооружении шахтного колодца необходимо соблюдать определенные правила техники безопасности. Так, работающий в шахте должен обязательно иметь на голове каску или защитный шлем, а на ногах – резиновые сапоги с теплыми носками. Механизм для подъема грунта, веревка и бадья необходимо надежно закрепить.
Оголовок шахтного колодца следует вывести на 0,7–0,8 м выше поверхности земли и оборудовать отмосткой. Для этого уровень грунта поднимают на 25 см, делают уклон от колодца и мостят с радиусом 2 м кирпичом или булыжником по утрамбованному песку. Можно забетонировать отмостку или выложить фигурной бетонной плиткой. Для отвода талой и дождевой воды по всему периметру отмостки делают водоотводные канавки, также мощенные бетоном.
Сруб колодца накрывают крышкой или устраивают над ним навес. Если в колодце предусмотрен насос для круглогодичной эксплуатации, на уровне поверхности земли внутри шахты делают еще одну крышку, чтобы насос не замерзал в зимнее время.
Шахтный колодец, предназначенный для местного водопровода или полива, оборудуют насосом. Насосы бывают различных типов. Например, электромагнитные насосы могут использоваться круглогодично. Притом что они постоянно опущены в воду, такие модели надежны, экономичны и отличаются хорошими техническими показателями. Электромагнитный насос подвешивают в колодце с помощью прочного капронового шнура на высоте 20—30 см ото дна.
Насос соединяют с трубопроводом посредством резинового шланга длиной не менее 2 м. Дворовый трубопровод вводят в колодец через гильзу и для удобства выполняют в виде колена, в верхней точке которого врезают излив с краном для водоразбора, а на самом колене устанавливают запорный вентиль. При круглогодичной эксплуатации колодец обязательно должен быть оборудован вентиляционным стояком, чтобы вода не приобретала затхлый запах.
Насос обычно подключают к автоматике, работающей по сигналу датчика уровня в водонапорном баке. Кроме того, необходимо предусмотреть использование обыкновенного выключателя, чтобы для полива или в случае пожара насос можно было отключить от водопровода.
В простейшем варианте системы водоснабжения подавать воду в водонапорный бак можно с помощью ручного насоса типа БКФ–4. Для этого его устанавливают на специальную подставку возле самой воды и соединяют с верхним рычагом с помощью двух тяг и двуплечей качалки. К дворовому водопроводу насос подключают через запорный вентиль, перед которым врезают излив с краном. При этом запорным вентилем управляют с помощью удлиненного воротка. В нижней части колена нагнетающей трубы необходимо просверлить отверстие диаметром 2–3 мм, чтобы полностью сливать из трубопровода воду во избежание ее замерзания в зимнее время.
Устройство трубчатого колодца
Трубчатый колодец еще называют водоразборной скважиной и сооружают на самом высоком месте участка, обеспечив отведение талых и дождевых вод. Кроме того, колодец размещают на участке с учетом удобного доступа. При выборе места для колодца необходимо учитывать геологические условия, с тем чтобы при наименьшей глубине колодец отдавал как можно больше воды. В зависимости от грунта определяют вид работ по устройству колодца. Можно производить ручное и механическое бурение с помощью буровой установки (рис. 15). Конечно, пробурить скважину намного легче, чем вырыть колодец, особенно если это делать вручную.
Определение притока воды к колодцу производят по формуле:
где Q – приток воды;
k – коэффициент фильтрации грунта;
H – глубина водоносного слоя;
h – глубина воды в колодце;
r – радиус колодца;
R – радиус влияния.
Для мелкозернистых грунтов R = 100—200 м; для среднезернистых – 250—500 м; для крупнозернистых – 700–1000 м. Выбор r обусловлен размером бетонных обсадных колец. Стандартные кольца заводского изготовления имеют высоту 0,6–0,9 м, толщину стенок 5–9 см при диаметре 0,75–1 м. С увеличением r возрастает расход Q. При одних и тех же условиях эксплуатации колодец с большим r имеет большую вместимость, то есть противопожарный запас, а отдача воды колодцем некоторое время многократно превышает отдачу воды скважиной.

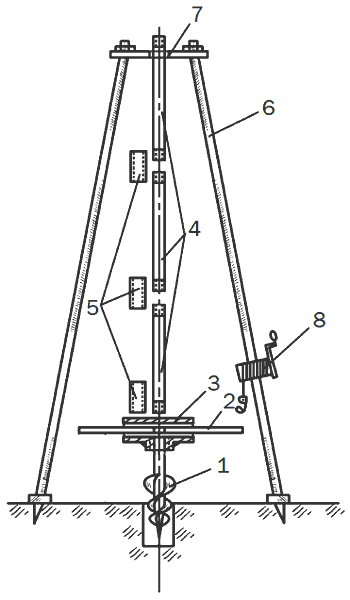
Рис. 15. Буровая установка: 1 – бур; 2 – вороток; 3 – тройник; 4 – разборная штанга; 5 – муфта; 6 – вышка-тренога; 7 – отверстие для штанги; 8 – лебедка.
В песчаных, глинистых, суглинистых грунтах с небольшим содержанием галечника и валунов используют самодельную буровую установку. Бур выполняют из трубы диаметром 1 дюйм, с наружной винтовой резьбой на одном конце и шнековой винтовой поверхностью диаметром 200 мм (1–2 витка) на другом. На торец шнековой поверхности приваривают два стальных ножа.
При установке бура вертикально ножи наклонены к горизонтали и при вращении ввинчиваются в грунт, как штопор, разрыхляют и откладывают его в пазухи винтовой поверхности. После трех оборотов бур вынимают, грунт удаляют и повторяют все сначала.
Бур ввинчивается с помощью воротка – куска трубы длиной 1,5 м, соединенного с однодюймовым тройником с внутренней винтовой поверхностью. Тройник навинчивают на разборную штангу из труб длиной 1,5 м. Так пробуривают скважину глубиной до 1 м. Далее с помощью муфты присоединяют следующую трубу штанги и продолжают процесс бурения. Наращивание штанги позволяет бурить на глубину до 8 м. Если попадается водоносный слой, бурение прекращают и в скважину опускают обсадные кольца диаметром меньше диаметра скважины, чтобы избежать обвала стенок и засыпания ее грунтом.
Если водоносный слой залегает на большой глубине, бурение продолжают с использованием деревянной или металлической вышки-треноги высотой 3–6 м и более. В верхней ее части для выхода штанги устраивают отверстие. Для подъема штанги треногу оборудуют лебедкой. При прохождении твердых, сухих пород в скважину периодически подливают воду.
Предположим, что бурение проводится на глубине 15 м, вороток штанги возвышается на 1 м от земли, бур набрал грунт и его надо извлечь на поверхность. Лебедкой поднимают всю штангу на высоту 8 м, при этом ее верхний конец проходит в отверстие треноги. У поверхности земли треногу разъединяют, крючком лебедки подцепляют за нижнюю часть и поднимают. Затем, перехватив еще раз бур крючком лебедки, поднимают и чистят. Снова в скважину бур опускают в обратной последовательности.
Достигнув водоносного слоя, бурение прекращают и приступают к монтажу обсадных труб, которые могут быть металлическими, керамическими или бетонными, но непременно меньшего диаметра, чем диаметр скважины. Трубы монтируют секциями на высоту вышки, соединяют и опускают в скважину.
Торец нижней обсадной трубы наглухо заделывают и перфорируют на высоту до 2 м, просверливая в шахматном порядке множество отверстий диаметром 10—12 см, превращая конец трубы в фильтр. Снаружи трубу обертывают стеклотканью или сеткой из меди или латуни, чтобы избежать засорения отверстий грунтом.