Системы полива сада, огорода, теплиц, парников своими руками - Страница 8
Основная часть каптажа шахтного колодца – стенки шахты, укрепленные с помощью бетонных колец, природного камня, кирпичной кладки или деревянного сруба. Шахту для колодца заглубляют в водоносный горизонт на 1,5–2 м, чтобы обеспечить объем чистой, отстоявшейся воды на глубину не менее 1 м. Для нижней части сруба колодца, которая постоянно находится в воде, используют крепкую древесину, не влияющую на вкус воды (дуб, вяз, лиственница, ольха, береза). Часто весь сруб выполняют из сосновой древесины, которая сохраняется в течение 20 лет (рис. 11). Срок службы соснового сруба можно увеличить, пропитав предварительно древесину антисептиком, например крепким раствором марганца. Вяжущий привкус от дуба и смолистый от сосны постепенно исчезает.
Диаметр поперечного сечения сруба выбирают в зависимости от глубины колодца. Обычно это 1 х 1 м или 1,5 х 1, 5 м. Венцы рубят из бревен диаметром 12—18 см или деревянного бруса с сечением 10 х 13 см. При этом отдельные венцы сруба подгоняют заранее, обтесывая внутреннюю стенку колодца на плоскость. Венцы вбивают по горизонтали в пазы, по углам соединяют в «косую лапу», а по вертикали крепят дубовыми шпонками.
Строительство колодца начинают с того, что готовят сруб высотой 1,7–2 м. Затем размечают место для шахты и глиняного замка и начинают копать. Когда грунт будет вынут на глубину 1–1,5 м, в яму опускают собранный заранее деревянный сруб. Затем делают водоупорный замок со всех сторон из утрамбованной глины глубиной и шириной около 1 м.

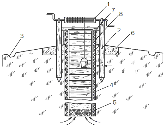
Рис. 11. Устройство шахтного колодца с деревянным срубом: 1 – ворот; 2 – свайка крепления ворота; 3 – водоотводная канавка; 4 – сруб из деревянных пластин; 5 – гравий; 6 – глиняный замок; 7 – крышка колодца; 8 – дощатая обшивка.
Копку шахты продолжают, выбирая грунт на толщину венца равномерно со всех сторон, и подводят бревна следующих венцов, соединяя их между собой временными скобами. Чтобы избежать перекоса и разрыва стенок колодца, через каждые 4–5 венцов два нижних параллельных бревна делают длиннее рядовых на 20—25 см и закладывают эти удлиненные концы в специальные гнезда, выкопанные для них в стенах шахты. Иногда плывун (обильный водоносный слой) не позволяет подвести нижнюю часть сруба шахтного колодца. В этом случае в него заранее опускают коробку, собранную из толстых досок, и продолжают вынимать грунт, стремясь вкопать ее как можно глубже.
Затем на дно насыпают слой крупнозернистого песка, а сверху мелкий щебень или гальку толщиной 20—25 см, чтобы при эксплуатации колодца со дна не поднималась муть (рис. 12).
Некоторые специалисты во избежание заиливания дна рекомендуют выкладывать его толстыми досками с отверстиями. Это также облегчает чистку колодца.

Рис. 12. Устройство шахтных колодцев: а – колодец с деревянным срубом и вибрационным насосом; б – колодец из природного камня, кирпича или бетона с ручным насосом; 1 – шланг; 2 – вибрационный насос; 3 – песок; 4 – щебень; 5 – коробка; 6 – деревянный сруб; 7 – глиняный замок; 8 – отмостка; 9 – будка; 10 – вентиляционный стояк; 11 – ввод электросети; 12 – застекленное окно; 13 – излив с краном; 14 – крышка; 15 – запорный вентиль; 16 – подземный трубопровод; 17 – дренажное (сливное) отверстие диаметром 2–4 мм; 18 – тяж; 19 – рычаг; 20 – вороток; 21 – насос БКФ; 22 – бетон или кирпичная кладка; 23 – водозаборный фильтр.
Самыми практичными, долговечными и простыми в строительстве считаются шахтные колодцы из стандартных железобетонных колец высотой 0,6–0,9 м и диаметром 1, 1,25 и 1,5 м. Иногда для строительства колодцев используют бетонные трубы диаметром 50—80 см и длиной 3–4 м, но применяют их лишь для устройства колодцев глубиной не более 6 м, так как для выемки грунта надо делать шахту диаметром не менее 1 м с креплением стенок посредством распорок.
Устройство колодца из бетонных колец
Кольца для такого колодца также можно изготовить своими силами. Для этого нужно провести определенную подготовительную работу. Сколачивают из толстых досок щит такой площади, чтобы диаметр бетонируемого на нем кольца был меньше на 35—40 см. Затем из четырех листов кровельного железа необходимо изготовить опалубку высотой 25 см (рис. 13).
Листы железа следует скрепить так, чтобы образовалось 2 пояса. Диаметр внутреннего пояса – 80 см, внешнего – 94 см. Листы железа соединяют болтами. При этом гайки должны располагаться снаружи. Железные пояса вставляют один в другой. Зазор между ними и будет соответствовать толщине стенки будущего бетонного кольца.
Опалубку закрепляют на деревянном щите с помощью деревянных распорок, вставляя между поясами 4 вкладыша из дерева длиной 7 см каждый. Бетонный раствор готовят из цемента, песка и щебня в пропорции 1: 3: 4. Цемент и песок хорошо перемешивают вилами в специальной емкости для раствора. Затем порциями вливают в смесь чистую питьевую воду и тщательно размешивают. Только после этого добавляют в раствор щебень и еще раз перемешивают.
Подготовленную опалубку заполняют раствором, постепенно утрамбовывая ее деревянным бруском подходящего размера. При изготовлении бетонных колец удобнее всего работать вдвоем – один укладывает раствор в опалубку, а второй трамбует его. Как только опалубка будет заполнена на четверть высоты, на раствор укладывают арматурное кольцо. Второе кольцо кладут при заполнении опалубки раствором на три четверти.

Рис. 13. Щит и опалубка для изготовления бетонных колец: 1 – арматура из проволоки; 2 – наружные распорки; 3 – внутренние распорки; 4 – опалубка; 5 – деревянный щит; 6 – деревянные вкладыши.
Когда опалубка будет заполнена доверху, удаляют деревянные вкладыши. Кольцо оставляют в опалубке на 10 дней. Затем осторожно развинчивают болты и снимают железные детали опалубки.
Бетонное кольцо ставят на ребро и перекатывают его на отведенное место, чтобы за будущие 2 недели бетон окончательно затвердел.
Последующие кольца следует изготовить таким же образом. Число колец будет зависеть от глубины залегания водоносного слоя. Обычно требуется от 10 до 15 колец. Перед тем как устанавливать кольца, выкапывают яму диаметром 1,3–1,5 м глубиной 50 см.
Чтобы избежать обвалов грунта, шахтные колодцы из бетонных колец строят, опуская кольца вниз и наращивая сверху следующие. Этот способ достаточно прост и удобен, однако требует ускоренной работы в течение 2–3 дней при сухой погоде, так как при затягивании сроков может произойти обвал грунта, заклинивание уже опущенных на глубину колец и сведение результатов труда к нулю.
При проходке шахтных колодцев в слабом грунте принято использовать специальное приспособление – нож, представляющий собой деревянную обойму с закрепленным на ней болтами Г-образным стальным профилем. На деревянную обойму устанавливают бетонное кольцо, и часть с ножом, выступающая на 50 см, обеспечивает равномерный кольцевой зазор при дальнейшей проходке шахты. Нож можно сделать из стального уголка 5 х 5 см, высверлив в углу полок отверстия 6–7 мм с шагом 4 см (рис. 14).

Рис. 14. Нож, изготовленный из стального уголка.
С помощью ножовки вырезают треугольные пазы и сгибают уголок в кольцо нужного диаметра.
Равномерно подрывая грунт по периметру ножа, кольцо равномерно опускают на всю его высоту, сверху наносят цементный раствор, заводят и устанавливают следующее кольцо.