Системы полива сада, огорода, теплиц, парников своими руками - Страница 7

Рис. 7. Схема залегания подземных вод: 1 – водоносный горизонт межпластовых напорных (артезианских) вод; 2 – водоносный горизонт межпластовых вод; 3 – водоносный горизонт грунтовых вод; 4 – зона питания грунтовых вод; 5 – колодец, питающийся грунтовой водой; 6 – колодец, питающийся межпластовой безнапорной водой; 7 – артезианский колодец (напорный); 8 – родник (ключ); 9 – зона питания межпластовых вод; 10 – водоупорные слои.
В низменных частях рельефа местности, чаще всего на склонах оврагов или возвышенностей, водоносный слой иногда выходит на поверхность земли, образуя родники, или ключи. Родники могут появляться в местах прорыва водонепроницаемой кровли напорных межпластовых горизонтов. Такой родник называется восходящим и является надежным источником питьевой воды.
Родники, ключи могут быть использованы для местного водоснабжения при правильном их оборудовании (каптаже) и достаточном количестве поступающей воды (дебит источника).
При выборе места для устройства водозабора лучше всего привлекать специалистов-гидрогеологов и представителей санэпидемиологической станции.
Участок, отведенный под рытье колодца или бурение скважины, должен располагаться на возвышенности и быть не менее чем на 50 м удален от канализации, выгребной ямы и скотного двора. Вблизи водозабора не допускается водопой животных и стирка белья.
Чтобы как можно более точно установить место для будущего колодца, необходимо определить, где наибольшее скопление подземных вод. Для этого владельцу участка потребуется «волшебная палочка» – лоза из ветки ясеня, клена, кизила или вяза (рис. 8). Лоза представляет собой стрелку примитивного прибора, коим является сам человек. Для изготовления лозы необходимо выбрать ветку с развилкой, где угол составляет 30—50°. Длина каждой ветки в развилке должна быть около 50 см. Там, где ветки сходятся, длина лозы составляет 6–8 см.

Рис. 8. Определение наибольшей глубины залегания подземных вод с помощью лозы.
Чтобы найти место концентрации подземных вод, надо взять лозу за расходящиеся концы, согнув в локтях руки под прямым углом. Лозу надо держать крепко, строго в горизонтальном положении. Слегка сближая ветки, можно почувствовать пружинистую силу лозы. Там, где залегают подземные воды, конец лозы слегка приподнимется.
Вместо веток деревьев иногда применяют два стебля камыша длиной 60 и толщиной 0,5 см, связав их, но с расстоянием 6–8 см. Только в этом случае пружина будет работать не при сжатии, а при разведении стеблей в стороны.
Индикатор определения подземных вод можно также изготовить в виде металлической рамки, согнув проволоку буквой Г. Обычно такой прибор держат в одной руке прямо перед собой (рис. 9).

Рис. 9. Металлические рамки для поиска воды: а – обычная рамка из проволоки; б – усовершенствованная рамка.
Место, где подземные воды залегают на небольшой глубине, можно определить и по внешним признакам. Например, над таким местом к вечеру может появиться плотный туман, среди растений преобладают влаголюбивые камыш и осока, в воздухе здесь роем вьются комары и мошки, на фоне увядшей травы под палящими лучами солнца долго сохраняется свежая зеленая растительность.
И все же необходимо проконсультироваться со специалистами, прежде чем начинать работы. Самым надежным (но и наиболее дорогостоящим) способом поиска подземных вод является разведочное бурение. Информацию о наличии и глубине расположения водоносного слоя можно получить из выкопировки геодезического плана участка, который имеется в отделе главного архитектора района. Если такого плана нет, чтобы определить возможную глубину будущего колодца, необходимо обследовать все действующие колодцы в округе, изучить окрестные овраги, балки, выяснить места выхода ключей и родников.
В соответствии с требованиями санитарных норм вода должна иметь прозрачность не менее 30 см; цветности – не более 30°; не обладать никакими запахами и привкусами, не содержать нитратов. Показатель присутствия кишечной палочки в 1 л не должен превышать 10. Но все это касается питьевой воды, а качество воды для полива никак не регламентируется, и для этой цели могут быть использованы воды верховодки, близлежащего пруда или озера.
Итак, атмосферная вода проникает в почву на разную глубину, достигая водонепроницаемого слоя грунта, состоящего из плотных глинистых отложений. Вода может накапливаться в больших и малых объемах, образуя водоносные горизонты с примесью земли, песка и глины. Водоносных горизонтов в одном месте может быть несколько, что зависит от строения почвенного грунта. Водоносные горизонты находятся на разной глубине залегания, и в зависимости от этого различают верховодку – на глубине до 4 м; почвенные воды – на глубине до 10 м; грунтовые – на глубине до 40 м; артезианские – более 40 м. Колодцы оборудуют как раз для того, чтобы добыть воду из водоносных горизонтов. Даже если на участке имеется водопровод с хорошей питьевой водой, колодец никогда не будет лишним.
Во все времена колодец являлся важным сооружением на дачном и приусадебном участке. Дворовый колодец всегда выручит в случае прекращения подачи воды или ее слабого напора в водопроводе, поможет обеспечить полив сада и огорода в самые засушливые летние дни. Да и по вкусу прохладная колодезная вода не идет ни в какое сравнение с водопроводной.
Колодцы могут быть шахтными или трубчатыми. При небольшой глубине залегания водоносного слоя (8–10 м) предпочтительнее сооружение шахтного колодца.
Устройство шахтного колодца
Преимущества шахтного колодца заключаются в том, что его можно строить из подручных материалов, используя обычные инструменты.
Кроме того, он обеспечивает гарантированный объем чистой воды, а извлекать ее можно с помощью различных насосов и механических подъемных устройств. Шахтный колодец более практичен, чем трубчатый, так как позволяет даже при отсутствии электричества обеспечивать хозяйство водой, поднимая ее бадьей или ведром.
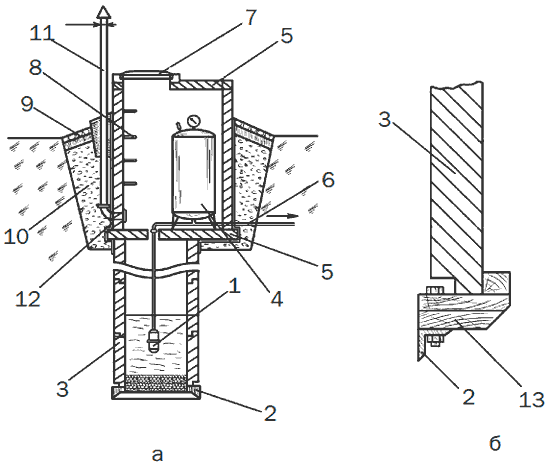
Оголовок колодца можно снабдить технической камерой для размещения в ней инженерного оборудования – насосной установки, гидропневматического бака или ручного насоса (рис. 10). Учитывая, что высота бытовых насосов некоторых типов не превышает 6 м, сооружение технической камеры позволяет обеспечить оптимальные условия их работы, кроме того, является утепленным помещением для использования колодца в зимних условиях.
Техническую камеру делают из тех же материалов, что и сам колодец. Диаметр колодца выбирают в зависимости от того оборудования, которое хотят установить для подъема воды, но не более 1,5 м. Чуть ниже уровня промерзания на оголовок колодца кладут бетонную плиту с отверстием для доступа к воде. На это перекрытие устанавливают расширенный оголовок с ходовыми ступенями. Сверху колодец закрывают откидывающимся люком или крышкой. Снаружи камеру покрывают гидроизоляционным слоем глины толщиной 30—50 см и оборудуют вентиляционный стояк диаметром 10 см. Вокруг оголовка устраивают отмостку или утепленный короб, если в этом есть необходимость.

Рис. 10. Шахтный колодец с технической камерой для гидропневматического бака: а – общий вид (в разрезе); б – устройство ножа (разрез); 1 – вибрационный насос; 2 – нож; 3 – бетонное кольцо; 4 – гидропневматический бак; 5 – плита перекрытия; 6 – подающий трубопровод; 7 – крышка; 8 – ходовые скобы; 9 – отмостка; 10 – глиняный замок; 11 – вентиляционный стояк; 12 – гидроизоляция; 13 – деревянная обойма.