Лекции по схемотехнике - Страница 10
Таблица 8 Параметры некоторых серий ЛЭ КМОП типа
| Параметры | серия | |
|---|---|---|
| 176, 561, 564 | 1554 | |
| Напряжение питания UПИТ, В | 3…15 | 2…6 |
| Выходные напряжения, В: | ||
| низкого уровня U0ВЫХ | <0,05 | <0,1 |
| высокого уровня U1ВЫХ | UПИТ–0,05 | UПИТ–0,01 |
| Среднее время задержки сигнала, нс: | ||
| для UПИТ=5 В | 60 | 3,5 |
| для UПИТ=10 В | 20 | — |
| Допустимое напряжение помехи, В | 0,3 UПИТ | — |
| Мощность, потребляемая в статическом режиме, мВт/корпус | 0,1 | 0,1…0,5 |
| Входное напряжение, В | 0,5…(UПИТ+0,5 В) | 0,5…(UПИТ+0,5 В) |
| Выходные токи, мА | 1…2,6 | >2,4 |
| Мощность, потребляемая при частоте переключения f=1 МГц, UПИТ=10 В, Cн=50 пф, мВт/корпус | 20 | — |
| Тактовая частота, МГц | — | 150 |
4 Цифровые устройства комбинационного типа
Цифровыми устройствами комбинационного типа или цифровыми автоматами без памяти называются цифровые устройства, логические значения на выходе которых однозначно определяются совокупностью или комбинацией сигналов на входах в данный момент времени. К ним относятся суммирующие схемы, шифраторы и дешифраторы, мультиплексоры и демультиплексоры, цифровые компараторы и другие устройства. Цифровые устройства комбинационного типа выпускаются в виде интегральных микросхем или входят в состав больших интегральных микросхем, таких как процессоры, запоминающие и другие устройства.
4.1 Двоичные сумматоры
4.1.1 Одноразрядные сумматоры
В цифровой вычислительной технике используются одноразрядные суммирующие схемы с двумя и тремя входами, причём первые называются полусумматорами, а вторые — полными одноразрядными сумматорами. Полусумматоры могут использоваться только для суммирования младших разрядов чисел. Полные одноразрядные сумматоры имеют дополнительный третий вход, на который подаётся перенос из предыдущего разряда при суммировании многоразрядных чисел.
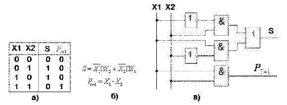
На рисунке 21, а) приведена таблица истинности полусумматора, на основании которой составлена его структурная формула в виде СДНФ (Рисунок 21, б). Функциональная схема, составленная на элементах основного базиса в соответствии с этой структурной формулой, приведена на рисунке 21, в).

Рисунок 21 Одноразрядный полусумматор: а) таблица истинности, б) структурная формула, в) функциональная схема.
Основными параметрами, характеризующими качественные показатели логических схем, являются быстродействие и количество элементов, определяющее сложность схемы.
Быстродействие определяется суммарным временем задержки сигнала при прохождении элементов схемы. В приведённой выше схеме быстродействие определяется задержкой в трёх логических элементах.
Кроме количества элементов сложность схемы, как было отмечено выше, определяется количеством входов элементов, по которым выполняются логические операции. Этот параметр называется «Число по Квайну». Приведённая выше схема содержит 6 элементов и имеет 10 входов (Число по Квайну равно 10).
Недостатком схемы рисунок 21, в) является то, что на её входы необходимо подавать и прямые и инверсные значения операндов. Применяя законы алгебры логики схему можно преобразовать, исключив инверсии над отдельными операндами. Порядок минимизации показан на рисунке 22, а), функциональная схема — на рисунке 22, б), а её УГО — на рисунке 22, в).

Рисунок 22 Пример минимизации а), функциональная схема б) и УГО одноразрядного полусумматора в).
Минимизированная схема является более быстродействующей, так как вместо 6 содержит 3 элемента, а число по Квайну уменьшилось с 10 до 7. Учитывая огромное количество используемых суммирующих схем, выигрыш можно считать весьма ощутимым.
Схему полного одноразрядного сумматора можно получить на основе двух схем полусумматоров и схемы «ИЛИ», как показано на рисунке 23,а).

Рисунок 23 Одноразрядный полный сумматор: а) — функциональная схема на двух полусумматорах; б) — УГО; в) — таблица истинности: г) — минимизированная схема.
Из рассмотрения принципа работы функциональной схемы рисунок 23,а) составлена её таблица истинности, анализ которой показывает, что данная схема выполняет функции полного одноразрядного сумматора. Однако схема не является оптимальной по быстродействию, поскольку в ней сигнал проходит последовательно через две схемы полусумматоров и схему ИЛИ.
Представляется целесообразным разработка сумматора как устройства, имеющего три входа и два выхода. СДНФ такой функции записывается в виде:
Минимизированные значения, используемые в интегральной схемотехнике:
PI+1 = PIa + PIb + ab
Первое из уравнений минимизируется аналитическим методом, используя законы алгебры логики, а второе — методом минимизирующих карт Карно.
Функциональная схема, составленная по этим уравнениям, приведена на рисунке 23, г). По сравнению со схемой рисунок 23, а) эта схема является более быстродействующей. Условное графическое обозначение (УГО) схемы полного одноразрядного сумматора приведено на рисунке 23, б).
4.1.2 Многоразрядные сумматоры
Методы построения многоразрядных сумматоров:
- Последовательное суммирование;
- Параллельное суммирование с последовательным переносом;
- Параллельное суммирование с параллельным переносом.

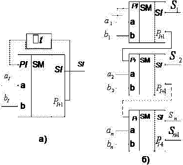
Рисунок 24 Суммирование многоразрядных чисел: а) — Последовательное; б) — Параллельное с последовательным переносом
При последовательном суммировании используется один сумматор, общий для всех разрядов (Рисунок 24, а). Операнды должны вводиться в сумматор через входы аI и bI синхронно, начиная с младших разрядов. Цепь задержки обеспечивает хранение импульса переноса PI+1 на время одного такта, то есть до прихода пары слагаемых следующего разряда, с которыми он будет просуммирован. Задержку выполняет D-триггер. Результаты суммирования также считываются последовательно, начиная с младших разрядов. Для хранения и ввода операндов на входы сумматора, а также для записи результата суммирования обычно используются регистры сдвига.
Достоинство этого метода — малые аппаратные затраты.
Недостаток — невысокое быстродействие, так как одновременно суммируются только пара слагаемых.
Схема параллельного сумматора с последовательным переносом приведена на рисунке 24, б). Количество сумматоров равно числу разрядов чисел. Выход переноса PI+1 каждого сумматора соединяется со входом переноса PI следующего более старшего разряда. На входе переноса младшего разряда устанавливается потенциал «0», так как сигнал переноса сюда не поступает. Слагаемые aI и bI суммируются во всех разрядах одновременно, а перенос PI поступает с окончанием операции сложения в предыдущем разряде.