Журнал "Компьютерра" №758 - Страница 24

Преимущества твердотельных накопителей хорошо известны: высокая скорость доступа к данным; бесшумность; работа в условиях, губительных для обычных винчестеров, содержащих подвижные части. Вот только цена заставляет присвистнуть. Интересное решение предлагает Sharkoon: выпущенный компанией Flexi-Drive S2S позволяет сделать SSD-накопитель практически своими руками, используя карточки памяти SDНС. Всего в устройство, имитирующее винчестер форм-фактора 2,5 дюйма, можно установить до шести карточек, которые будут объединены в RAID-массив (информация при этом записывается одновременно на несколько флэшек, что позволяет повысить производительность девайса). Таким образом, при использовании 32-гигабайтных носителей максимальный объем составит 192 Гбайт. Для подключения Flexi-Drive S2S к компьютеру предусмотрен SATA-интерфейс.

Далеко не всем нравится делить жизненное пространство с железным "гробом", скрывающим компьютерные внутренности, поэтому многие пользователи все чаще посматривают в сторону миниатюрных систем и моноблоков. А производители и рады - знай себе выпускают новые модели, ориентированные на юзеров, ценящих красоту и эргономику. Недавно Dell представила десктоп XPS One 24, который стал флагманом линейки (цифра в названии означает диагональ экрана в дюймах). Дисплей этого моноблока имеет соотношение сторон 16:9 и нативное разрешение 1920x1080, то есть все сделано для комфортного просмотра HD-видео. Опционально может быть установлен Blu-ray-привод, который довершит превращение этого ПК в универсальный мультимедийный комбайн. Компьютер оснащен встроенными динамиками и сабвуфером от JBL, что в некоторых случаях позволит вообще отказаться от подключения дополнительных колонок. Цена XPS One 24 стартует с 1700 долларов.
Патентное бюро
Автор: Сергей Леонов

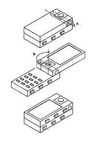
Компания, более известная у нас под торговой маркой Panasonic, решила, что до сих пор производителям так и не удалось качественно совместить телефон с фотоаппаратом, причем не в техническом, а в эргономическом плане. Действительно, любая из распространенных на рынке конструкций больше похожа на телефон, нежели на фотоаппарат. Для устранения этого "недостатка" предлагается так сделать шарнир телефона-раскладушки, чтобы он позволял поворачивать дисплей вокруг двух осей вместо одной. Если сложить телефон, предварительно развернув экран, то конструкция будет похожа на обычную "мыльницу", особенно если кнопки на боковых гранях расположить с разных сторон, чтобы в режиме фотоаппарата они оказались на одной.

Добавить к мобильному телефону еще одну функцию - проектора, - разумеется, было бы полезно. И несмотря на то, что сегодня нет возможности встроить в гаджет достаточно мощный источник света, авторы решили подстраховаться на будущее, запатентовав саму идею - с тем лишь дополнением, что печатную плату такого телефона придется специально охлаждать, для чего прямо в нее надо встроить сетку из миниатюрных термотрубок. В качестве еще одного дополнения предлагается использовать для проектора тот же самый объектив, что и для фотокамеры телефона (увы, без объяснений, как совместить две матрицы с одним объективом).

Довольно полезное и в то же время очень легко реализуемое новшество. Ситуации, когда во время разговора по мобильному телефону теряется связь, нередки как вдалеке от базовых станций, так и в пределах плотной городской застройки, особенно если пользователь не стоит на месте. В таких случаях нужно лишь заранее предупреждать перемещающегося абонента, что качество связи между ним и базовой станцией постепенно падает, и в конце концов разговор может прерваться. Предупреждение может представлять собой периодические сигналы, тональность или период повторения которых соответствуют качеству канала связи. Пользователь при этом может либо остановиться, либо поискать место, где сигнал получше, не прерывая разговора.

Как ориентироваться на местности при помощи GPS, знает сегодня каждый ребенок. А вот без GPS остается полагаться разве что на зрительную память и карты, сопоставляя первое со вторым. Впрочем, сегодняшний уровень развития вычислительных средств позволяет отдать и этот процесс на откуп программам, обеспечив гораздо большую достоверность результата. Пользователю всего-то и нужно, что сфотографировать участок окрестностей своим мобильным телефоном (можно сделать и несколько кадров). Изображения передаются вычислительной системе, которая постарается сопоставить кадры с трехмерной картой местности, имеющей достаточную детализацию. Вряд ли с этим справится процессор телефона, поэтому роль вычислителя может выполнять специальный сервер в Интернете. В ответ он сообщит пользователю его местоположение (в виде координат или названий города/улиц), а также информацию об объектах, попавших в присланный кадр. В заявке никоим образом не присутствуют названия известных интернет-компаний, но подозреваю, что сегодня ближе всех к реализации подошел Google, причем для многих мест не понадобится даже трехмерная модель - достаточно закачанных пользователями фотографий с местности.

Вот бы никогда не подумал, что автор подобной заявки может проживать в солнечной Флориде, однако так оно и есть. Впрочем, сие высокотехнологичное устройство предназначено вовсе не для того, чтобы не провалиться ночью в яму неосвещенного деревенского сортира, а для "создания умиротворяющей атмосферы при выполнении организмом своих функций". Устройство должно содержать ярко-синие светодиоды (направленные строго определенным образом именно на держатель бумаги), батареи, датчик внешнего освещения, датчик нахождения человека вблизи (инициирующий включение при отсутствии внешнего освещения) и электронный таймер (выключающий устройство через некоторое время после окончания процесса).
Софтерринки
Автор: Илья Шпаньков

ОС Windows Адрес www.powerarchiver.com Версия 11.00.78 Размер 6,83 Мбайт Интерфейс многоязычный (русский не поддерживается) Цена $19,95 Ознакомительный период 30 дней
Кажется, что программ проще и понятнее, чем архиваторы, трудно отыскать. Но и здесь встречаются разработки, к которым стоит присмотреться пристальнее. К таковым можно отнести PowerArchiver, способный работать практически со всеми существующими типами архивов, а также обладающий несколькими дополнительными полезными функциями. В первую очередь это касается возможности двухпанельного просмотра архивов, при котором в правой части отображается собственно сжатый файл, а в левой - его содержимое. Добавляет комфорта опция предварительного просмотра файлов различных форматов, как текстовых, так и графических. Благодаря этому можно избежать ошибок при помещении в архив не тех данных, что изначально планировалось. Кроме того, плагины позволяют интегрировать PowerArchiver с другими приложениями.