Журнал «Компьютерра» № 30 от 21 августа 2007 года - Страница 28

Адрес otvety.google.ru
Интерфейс русский
Аналоги Ответы@Mail.Ru
Всемирно известный поисковый гигант Google постоянно расширяет свои сервисы, и одной из недавних новинок стал русскоязычный портал «Вопросы и ответы». По сути, это некое подобие социальной сети, где пользователи помогают друг другу, отвечая на самые разные вопросы. Одновременно с вводом текста система ищет аналогичные запросы, чтобы не плодить однотипные ветки. Имеется система тегов, позволяющих легко сортировать данные по тематике; дополнительно можно настроить подписку на просмотр вопросов определенного характера. Анализируя оценки, которые пользователи ставят ответам, система автоматически вычисляет рейтинги и выделяет «экспертов», разбирающихся в определенной теме. Хорошие ответы поощряются «баллами», которые затем можно использовать, чтобы задавать свои вопросы. Конечно, безоговорочно верить полученному ответу нельзя, но во многих случаях подобный вид взаимодействия пользователей может оказаться полезным.
Патентное бюро
Автор: Сергей Леонов
Способ выборочной загрузки вложенных файлов электронной почты
Lucent

Известно, что большинство почтовых клиентов, использующих протокол SMTP, не позволяют просматривать параметры электронных писем на сервере, не загрузив их на клиентский компьютер. В связи с этим многие используют вместо SMTP протокол IMAP или веб-интерфейс. Компания предлагает слегка модернизировать почтовый сервер SMTP, дабы пользователь мог выборочно загружать вложенные в письма файлы, не занимая канал лишними пересылками данных. Получив письмо с вложением, сервер сохраняет приаттаченный файл в отдельном хранилище, к которому у клиента есть доступ по FTP или HTTP, а само письмо модифицирует – удаляет вложенный файл, вставляя вместо него ссылку на сохраненную копию и параметры вложения – тип, объем и прочее. Таким образом, получатель, пользуясь обычными почтовыми программами, может отказаться от скачивания вложенного файла, если таковой ему не требуется.

Идея дополнить музыку визуальным сопровождением стара как мир, но до сих пор, считают авторы заявки, реализована не в полной мере, особенно в классе портативных устройств. Действительно, толку от «светомузыки» на мизерном экранчике плеера или телефона мало. Вместо этого изобретатели предлагают подключить к плееру очки со встроенными дисплеями, что, в общем, тоже не ново. К тому же у такого решения есть одна небольшая проблема: пользователь теряет не только акустическую, но и визуальную связь с реальностью, так что пользоваться очками-дисплеем иначе как сидя в кресле, просто невозможно. Выход в том, чтобы сделать дисплеи очков полупрозрачными – в выключенном состоянии пользователь должен нормально видеть через очки окружающий мир. Сами же визуальные эффекты могут представлять собой появление какого-то изображения на доли секунды в такт с музыкой, ритмичное изменение яркости путем варьирования светопропускания дисплея или же изменение цветового спектра – окружающий мир при этом останется на месте, но будет в соответствии с музыкой окрашиваться в разные цвета.

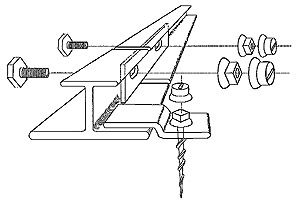
Несмотря на то что в США осталось не так уж много железных дорог, попадаются заявки и из этой области. Одна из серьезных проблем, связанных с безопасностью движения, – необходимость регулярного контроля стыков и затяжки соединений рельсов со шпалами. Эта операция обычно выполняется самым банальным способом – путевые обходчики с гаечными ключами просто пытаются затянуть все подряд болты или гайки. Теоретически открутившиеся соединения можно искать и не вручную, а путем автоматического контроля с движущегося вагона – надо лишь определить, провернулась ли гайка или болт относительно предыдущего положения. Однако проблема в том, что на головках болтов или на гайках нет никаких меток, по которым можно было бы определить изменение ее положения (а менять все болты на специальные, к примеру, вдоль Байкало-Амурской магистрали – сами понимаете…). Тем не менее есть простое и эффективное решение – надеть на все головки болтов и гайки пластиковые колпачки с нанесенными на них стрелками. Надевать колпачки надо после нормальной затяжки соединения, причем так, чтобы все стрелки смотрели в одну сторону. Для контроля достаточно использовать телекамеру с простой системой распознавания образов – если стрелка направлена не туда, значит, соединение сдвинулось с места и его надо затягивать.

Кроссовки известной фирмы, одну и ту же пару которых наши соотечественники могут носить круглый год, на самом деле бывают разными – для ходьбы, для бега, для хождения по горам, для твердого или мягкого грунта и так далее. И у каждого варианта свои параметры, и главные из них – высота каблука и супинатора. Но не брать же с собой десять пар обуви, если вы, к примеру, собрались в поездку и не знаете, где и как вам придется передвигаться. На этот случай существует настраиваемая обувь – путем частичной разборки подошвы и замены отдельных деталей или регулировки ее можно приспособить к разным условиям. Однако это требует как минимум остановки для настройки и, самое главное, – обучения пользователя, так как он должен знать, что и насколько изменить для конкретных условий. Решить проблему призвано предложение компании – автоматически настраивающаяся обувь с микропроцессором, датчиками и исполнительными элементами. Датчики могут определить не только скорость и длину шага (ходьба или бег), но и плотность почвы (асфальт или песок), наклон поверхности (в гору или с горы) и прочие параметры. Исполнительные элементы должны корректировать форму подошвы. В простейшем случае регулировки могут быть и ручными, а процессор будет лишь выдавать звуковое или визуальное предупреждение о том, что и где нужно "подкрутить".
TERRALAB.RU: Железный поток
Автор: Сергей Леонов

Разрешение 7,2/8,3 Мп
Сенсор 1/2,5” CCD
Объектив f = 6,3—18,9 мм (38—114 мм в 35-мм экв.), F3,0—5,6
Дисплей 2,5" TFT, 230 тысяч пикселов
Макро 10—80 см (W), 50—80 см (T)
Диапазон выдержек 1—1/1500 с (ручной 8—1/1500 с)
Чувствительность авто, 80,100, 200, 400, 800,1600
Экспозамер мультисегментный, точечный, центровзвешенный
Память встроенная 16 Мбайт, SD, SDHC, MMC plus
Габариты 95x59x21 мм
Вес 132,6 г (без батареи и карты памяти)
Две эти модели фактически отличаются лишь разрешением матриц – 7 и 8 мегапикселов. Алюминиевый корпус толщиной 21 мм выпускается в трех цветах: серебристом, черном и красном. Интеллектуальный ЖК-экран автоматически определяет уровень внешнего освещения и регулирует яркость. Имеется 14 сюжетных режимов, в число новых режимов входят съемки «гастрономических» натюрмортов, автопортретов, кафе и другие. В камерах реализован ряд фирменных функций, в том числе "Распознавание лица" (Face Recognition, AF & AE), до девяти лиц в кадре. Для фотографирования движущихся объектов предусмотрен режим скоростной съемки, позволяющий снять серию длиной до 30 кадров со скоростью 6 кадров/с. Имеется цифровая стабилизация Samsung ASR (Advanced Shake Reduction). Режим «макро» можно настроить на автоматическое включение. Wise Shot позволяет делать два снимка подряд с включенными ASR или со вспышкой, чтобы потом выбрать более удачный из них. В режиме съемки видео i-Movie камера поддерживает разрешение SVGA (800х592 пиксела), при скорости до 20 кадров/с. Запись ведется в формате MPEG4. Отдельно отмечено, что при записи видео можно пользоваться зумом.