Журнал «Компьютерра» № 19 от 22 мая 2007 года - Страница 23
«Оркестр «Помойка», как всегда, поразил превосходным пиццикато во время исполнения симфонии до-мажор композитора Осьмушкина. Остальная часть концерта прошла штатно. Завтра королевские синоптики обещают дождь, захватите зонтик». К сожалению, название «Помойка» уже занято, а могло бы принести вам неплохие дивиденды.
Продолжение следует
РАО – Российское авторское общество.
Райдер – список требований и технического оборудования для выступления артиста.
Сведение – микширование мультитрека с разными партиями инструментов и вокала
в один стереотрек.
Мастеринг – комплекс мероприятий, которые позволяют провести техническую кор-
рекцию трека (песни), направленную главным образом на получение одинакового звуча-
ния на различных звуковоспроизводящих устройствах.
Лейбл – музыкальное издательство.
Квип – QIP, программа-клиент обмена мгновенными сообщениями, аналог ICQ.
«Лост» – «Lost», легендарный сериал ABC Televison.
«Прайзон Брейк» – «Prison Break», культовый сериал FOX Televison.
Дисторшн – эффект перегрузки предусилителя, часто применяемый с электрогитарой.
СОФТЕРРА: Webология
Автор: Илья Шпаньков

Адрес www spotback com
Интерфейс английский
Технология Ajax
Чем-чем, а недостатком информации современный Интернет не страдает. Гораздо хуже дело обстоит с информацией нужной и интересной – материалы по какой-то теме мы отыскивать кое-как научились, а вот фильтровать интересный контент пока удается с трудом. На решение этой проблемы нацелился стартап Spotback, предлагающий пользователям «заценить» любую «единицу информации» в Сети (например, новость, пост в блоге или даже единичный комментарий на форуме) и на основе анализа данных о личных предпочтениях формировать рекомендации для каждого участника. Лежащая в основе сервиса идея коллаборативной фильтрации (поиск людей с близкими интересами) не нова, однако до сих пор речь шла о достаточно специализированных решениях вроде выбора покупки в Amazon или музыки в Last.Fm. Spotback же рассчитывает сделать свою рейтинговую систему стандартным способом оценки и фильтрации любого контента. Вебмастеры могут добавить на свой сайт специальный виджет, позволяющий посетителю оценить ту или иную статью.

Адрес www recipematcher com
Интерфейс английский
Кириллические шрифты не поддерживаются
Поваренная книга когда-то была одним из важнейших инструментов домохозяек. Современные технологии позволяют не только значительно расширить список доступных рецептов, но и открывают новые возможности для процесса приготовления вкусной и здоровой пищи. Одним из примеров может служить онлайновый сервис Recipe Matcher, позволяющий всем желающим делиться кулинарными секретами с другими посетителями ресурса. Помимо стандартного поиска рецептов авторы предусмотрели и такую удобную функцию, как поиск возможных блюд на основании указанного вами списка имеющихся в наличии продуктов. Если же ваши продуктовые запасы так скудны, что нечто удобоваримое из них приготовить проблематично, поисковая система предложит список ингредиентов, которые необходимо докупить, чтобы удивить домочадцев неожиданным кулинарным шедевром. Несмотря на американские корни ресурса, рецептура довольно демократична и не предлагает покупать омара или килограмм черной икры для приготовления завтрака.

Адрес gsmsync ru
Интерфейс русский
Требуется поддержка WAP в телефоне
Синхронизация данных между мобильным телефоном и компьютером – дело обычное, но сервис GSMSync позволяет поднять эту функцию на качественно иной уровень, пригласив в напарники для мобильника Интернет. Ресурс предлагает бесплатную (пока) услугу по хранению данных, накопленных в мобильном телефоне, на размещенном в Сети сервере. Таким образом, владелец трубки уже не привязан к своему компьютеру, а может обмениваться данными с персональным хранилищем из любого города. Сервис неплохо адаптирован к работе с множеством популярных моделей телефонов и сотовых операторов, работающих на территории СНГ, и позволяет производить настройку устройств для подключения в автоматическом режиме с помощью соответствующего SMS-сообщения. Кроме того, можно управлять своими данными на сервере и с персонального компьютера, используя любой браузер и веб-интерфейс. Впоследствии сервис станет платным, но цены обещают быть вполне демократичными – от $1 (тариф «Молодежный») до $3 (тариф «Бизнес») в месяц.

Адрес www riya com
Интерфейс английский
Клиентская часть только для Windows
Поиск по ключевым словам и фразам – день вчерашний. На очереди – системы, позволяющие находить объекты на основе визуального сравнения. Одним из таких сервисов является Riya, предназначенный для поиска изображений по ключевому образу. В качестве области поиска можно использовать и собственные архивы, и весь Интернет, при этом объектами поиска могут быть как различные неодушевленные предметы, так и изображения людей – достаточно «подсунуть» поисковику соответствующую картинку. Впрочем, авторы предусмотрели возможность использования в качестве критерия текстовое название объекта.
Дополнительное удобство придает система тегов, позволяющая быстро ориентироваться среди популярных запросов. Впрочем, это не совсем обычная система: сервис позволяет присваивать теги не только всему изображению, но и его отдельным частям – лицу человека, детали машины, элементам интерьера и многому другому.
Патентное бюро
Автор: Сергей Леонов

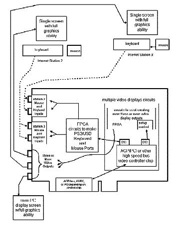
Если видеокарты давно умеют обслуживать одновременно два монитора, то почему бы им не научиться работать и с тремя? Тем более, что серьезную графику предполагается отображать лишь на одном – основном. Два же дополнительных, по задумке автора, должны отображать в полноэкранном режиме окно браузера. А чтобы этими консолями можно было пользоваться, придется добавить еще по клавиатуре и мыши к каждому монитору. И тоже подключить к видеокарте. Браузер и драйвер видеокарты, разумеется, придется доработать. Смысл подобных «тонких клиентов» автор видит в экономии на софтверных лицензиях – здесь достаточно одной копии ОС, одного файрволла и т. п.

Если выполнять «клик» обычной мышью все уже научились (разве что двойной клик иногда вызывает затруднения), то при замене мыши на другое устройство ввода (тачскрин, например) могут быть проблемы. Автор заявки предлагает исключить «физический клик» и использовать вместо него «виртуальный клик». Если объект под курсором предполагает возможность каких-то действий с ним по правому, левому или двойному клику, то после остановки курсора над объектом и небольшой паузы должно появиться соответствующее меню «возможных кликов». В момент появления этого меню позиция курсора мыши запоминается, дабы после «выполнения клика» и пропадания меню указатель автоматически вернулся в старую позицию.