Завод без людей - Страница 28
Советские инженеры добились выдающихся успехов в деле создания автоматических линий для производства подшипников.
В начале первой пятилетки в нашей стране не было подшипниковых заводов. Подшипники, как и многое другое, в те годы мы вынуждены были завозить из-за границы. Когда встал вопрос о строительстве советского подшипникового завода, многие специалисты не верили, что завод этот будет работать. Они боялись, что такое тонкое, сложное и необыкновенно точное производство не может быть налажено у нас. Они думали, что в нашей стране не найдется для этого достаточно квалифицированных людей.
Действительно, таких людей в те годы очень не хватало. И поэтому строительство и оборудование первого подшипникового завода, так же, как и Сталинградского тракторного и Горьковского автомобильного и Днепрогэса и многих других строек первой пятилетки, пришлось вести с помощью иностранных специалистов и фирм. Шведы и американцы не стали оказывать нам техническую помощь в производстве подшипников. Тогда пригласили группу итальянских инженеров.
19 января 1932 года был выпущен первый советский подшипник. В этот день состоялся пуск Первого Государственного подшипникового завода.
Завод был оборудован итальянскими станками, их наладкой руководили итальянские специалисты. И станки и консультанты принадлежали капиталистической фирме. И, несмотря на то что станки были установлены на советском заводе, они не изменили своей сущности. Они были запроектированы таким образом, что рабочий, обслуживающий их, становился придатком машины, по существу сам становился машиной. Итальянские консультанты считали такое положение дела правильным. Но наши рабочие и специалисты не могли мириться с ним.
На ГПЗ нашлись люди, которые, подобно Иночкину с СТЗ, начали задумываться над путями облегчения труда советских рабочих. И здесь начали с того же, что делал Иночкин: при передаче деталей от станка к станку стали заменять человека механизмами. Так и на ГПЗ появились первые полностью автоматизированные станочные линии.
В 1955 году на Первом ГПЗ был введен в эксплуатацию цех-автомат, выпускающий подшипники массового применения. Его проектирование было начато пятью годами раньше. В проектировании цеха, создании нового технологического процесса, нового оборудования участвовали сотни инженеров, четырнадцать заводов изготовляли станки, контрольно-измерительные устройства, инструменты.
К сожалению, я не бывал на ГПЗ в послевоенные годы. Поэтому я обращусь к очень интересной статье И. Пешкина. Вот что он пишет о новом цехе-автомате:
«Цех-автомат расположен в отдельном здании. Мы входим в него. Ряды одетых в серые кожухи станков. Возле них нет людей.
Подходим к одному из станков. За прозрачным из плексигласа щитком можно увидеть, как металлические пальцы зажимают кольцо. Вьется, дробится и падает вниз стружка. Работа окончена. Механизм поворачивается, освобождает кольцо, оно покатилось по транспортеру.
Станки работают сами. Все, что необходимо для работы, само приходит к станку; обработанные изделия и стружка сами уходят.
Оборудование и запроектированные технологические процессы несомненно отражают последние достижения технической мысли. На токарных автоматах — высокая концентрация инструмента. Хорошо решена проблема удаления стружки. Агрегаты термической обработки колец (теплом и глубоким холодом) встроены в линии. Высокопроизводительные шлифовальные станки обеспечивают доводку колец до необходимых размеров. „Магазины“, установленные при переходе с токарных станков на термообработку и с последней на шлифование, удачно разрешают труднейшую из проблем — обеспечение бесперебойного действия всего цеха в случае неисправностей в каком-либо звене.
И уж, конечно, наибольший интерес вызывают измерительные станции. На этих участках использованы последние достижения электроники и мерительной техники.
Вот транспортер внес кольцо в остекленный шкаф— контрольно-измерительную станцию, оно проходит первую проверку, затем вторую, третью, четвертую.
Сделаны четыре остановки. Все хорошо? Нет, этот вывод преждевременен. Результат измерений, произведенных каждым из автоматов, остается еще неизвестным, он пока „запоминается“ специальным устройством.
В конце путешествия кольцо подходит к висящему между двумя лотками электромагниту. Результаты измерения „запоминающие“ устройства автоматов передают электромагниту, он взвешивает эти данные и решает, можно ли пустить кольцо на сборку.
Повисев на магните, кольцо ложится на транспортер, который везет его к сборочному автомату. Все ясно: размеры выдержаны. Магнит пропускает и второе кольцо, и третье, и четвертое… Но приходит еще одно кольцо, и магнит бросает его на лоток, оттуда оно попадет уже на „штрафной“ транспортер, который отвезет его в изолятор.
На каком из четырех автоматов обнаружена неточность? Мы этого не знаем. Импульсонакопитель „запомнил“ это кольцо, и магнит беспощадно выбросил его из потока.
А вот еще одно „чудо“ — автомат для сборки шариковых подшипников. При старых методах сборки к шарикам определенной группы подбирали кольца. На автоматической сборке применен обратный принцип: по зазору колец подбираются шарики необходимого размера. Автомат измеряет внутренний диаметр наружного кольца и наружный диаметр внутреннего. Счетно-решающее устройство делает необходимый расчет и дает ответ, какой шарик годится для данной пары колец. Задача решается моментально.
Собранные подшипники сами следуют дальше по предписанному маршруту. Они попадают в антикоррозийные агрегаты. Дальше — упаковочные автоматы. Подшипник заворачивается в промасленную бумагу и укладывается в изящную фирменную коробочку».
От автоматической линии недалеко и до полностью автоматизированного завода. Такие заводы, конечно, появились. Одним из первых был советский завод-автомат, выпускающий поршни для автомобильных моторов. В сутки этот завод выпускает от 3000 до 3500 изделий. Все производство обслуживают пять операторов в смену. На заводе-автомате автоматизированы не только производственные операции, но и все операции технического контроля и все подсобные операции.
Этот завод состоит из четырех основных производственных участков: плавильного, термического, участка механической обработки и участка сортировки и упаковки. Все участки связаны между собой транспортерами, которые работают точно в соответствии с ритмом производственных операций.
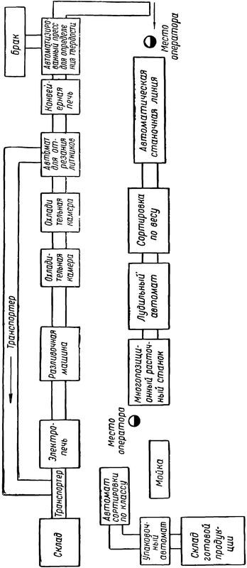
Давайте подробнее рассмотрим схему завода. Она изображена на рисунке.

Схема автоматического завода по производству поршней.
На завод поставляются алюминиевые чушки. Они хранятся на складе. Со склада чушки подаются по транспортеру в электропечь. Подаются они через строго определенные промежутки времени. В электропечи поддерживается неизменная температура. И, конечно, температура в печи поддерживается с помощью автомата — автоматического регулятора температуры. Из печи расплавленный металл прямо по желобу поступает в разливочную машину. Разливочная машина строго определенными порциями разливает металл в металлические формы — кокили. После заливки металлом кокили переносятся в охладительную камеру, где выдерживается нужный температурный режим. После охлаждения кокиль подается на автомат для отрезания литников — «хвостиков», получающихся из металла, застывающего не в самой форме, а в воронке, через которую заливают металл в кокиль. Отрезанные литники падают на транспортер, переносящий их обратно в печь для переплавки. После обрезки литников заготовки поршней поступают на второй — термический — участок.
Термический участок состоит из конвейерной печи, в которой поршни проходят термическую обработку, и автоматизированного пресса для определения твердости. Печь и пресс соединены транспортером. Пресс производит разбраковку поршней по твердости. Забракованные поршни сбрасываются в ящик, а годные попадают в бункер.
На третьем участке, участке механической обработки, куда поршни попадают под воздействием собственного веса по склизу, имеется первый оператор. Оператор устанавливает приходящие к нему поршни в загрузочные позиции автоматической станочной линии. В линии установлены токарные, сверлильные, фрезерные и шлифовальные станки. Эти станки автоматически выполняют все операции по механической обработке поршней. После обработки поршни транспортером подаются в агрегат, измеряющий их вес и сортирующий их по весу. Далее поршни поступают в автомат, где они лудятся. Отсюда поршни подаются на многопозиционный расточной станок, в котором окончательно растачиваются отверстия под палец поршня. Точность расточки очень высокая — до 0,01 миллиметра. Она автоматически контролируется. Здесь поршни попадают в руки ко второму оператору, перемещающему поршни на конвейер моечной машины.