Записки строителя - Страница 51
Из-за большего накопления нейтронов промежуточных энергий защита без водосодержащего материала вызывает перерасход стали (около 5000 кг на квадратный метр защиты при толщине ее более 2 м). Поэтому особо тяжелые защиты целесообразно делать двухслойными: со стороны падающего излучения — слой стали, за ним — слой гематитового бетона с нормальным расходом цемента.
Результаты исследований по защите ускорителей нашли практическое применение. В частности, защита экспериментального зала ускорителя в Серпухове выполнена в соответствии с рекомендациями аспирантов кафедры. Результаты работы кафедры учтены также в проекте реконструкции синхроциклотрона Объединенного института ядерных исследований и в ряде других проектов.
Рост энергии и интенсивности элементарных частиц в пучках современных ускорителей приводит к увеличению радиационных нагрузок на материалы узлов ускорителей. По поручению Академии наук СССР кафедра проводит исследование радиационной стойкости широкого круга материалов (металлы, диэлектрики, полимеры и т. д.), которые предполагается использовать в узлах проектируемых ускорителей протонов на энергии в миллиарды электронвольт. Облучение образцов исследуемых материалов производится в ядерном реакторе, синхроциклотроне и синхрофазотронах. Испытание материалов после облучения позволит получить необходимые данные об их радиационной стойкости и сделать практические выводы и рекомендации.
За 13 лет работы кафедра строительства ядерных и специальных сооружений, состоявшая вначале из трех человек, стала сложившимся научно-педагогическим коллективом, способным решать важные задачи по подготовке квалифицированных инженеров-строителей и осуществлению научных исследований в области строительства ядерных сооружений. Кафедра приобрела определенный научный авторитет как у нас в стране, так и за рубежом, поскольку выполнение заданий различных проектных, производственных и научно-исследовательских организаций позволило сделать ряд весьма важных практических выводов, отличающихся от прежних, традиционных технических установок и решений.
Вот и подошли к концу «Записки строителя». Конечно, далеко не все и не обо всех удалось сказать. Но если данная книга хоть в какой-то мере поможет читателю представить себе характер труда строителей, а сами строители почерпнут для себя какие-то полезные сведения, — автор будет считать свою задачу выполненной.
Воспоминания завершаются 1964 годом. Очень хотелось бы рассказать о самоотверженном труде военных строителей, об интересных с инженерной точки зрения сооружениях, созданных ими. Но все это еще ждет своего часа.
Приложение № 1
МЕТОД ЭЛЕКТРОГИДРОДИНАМИЧЕСКИХ АНАЛОГИЙ (ЭГДА)
Метод «ЭГДА» основан на аналогии, существующей между напорным движением грунтовых вод и движением электрического тока в проводнике.
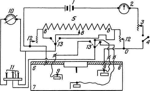
Модель подземного водонепроницаемого контура гидротехнического сооружения вырезается из станиолевой пластинки и наклеивается на картон. В начале контура со стороны верхнего бьефа и в конце его со стороны нижнего бьефа (на пластинке) задаются электрические потенциалы от четырехвольтового аккумулятора (см. схему прибора).

Схема установки «ЭГДА»:
1 — четырехвольтовый аккумулятор: 2 — амперметр; 3 — реостат; 4 — рубильник; 5 — реохорд (вращающееся градуированное сопротивление); 6 — зажимные шины; 7 — исследуемая пластинка (станиоль на картоне); 8 — подвижные контакты реохорда; 9 — стальные иглы в эбонитовой оправе для измерения потенциала; 10 — гальванометр; 11 — ключ с тремя контактами; 12 — реостат; 13 — переключатели
Изменением потенциала в любых точках контура и ниже его (т. е. в толще фильтрующей среды) определяется относительная картина распределения фильтрационного напора. Это измерение проводится путем вкалывания в интересующую точку иглы, соединенной проводом через схему мостика Уитстона (применяемую обычно для измерения сопротивлений) с гальванометром. Нажатием ключа гальванометр включается в цепь мостика. Последовательными передвижениями подвижного контура по обмотке реохорда стрелка гальванометра выводится на «0». Показание шкалы реохорда дает непосредственно величину фильтрационного напора в данной точке в долях полного напора на сооружение.
Процесс описанной работы не сложен, но требует большой тщательности. При проверке результатов ряда опытов (параллельным исследованием аналогичного профиля в гидравлическом фильтрационном лотке) расхождение с методом «ЭГДА» получалось от 5 до 10%. Таким образом, построение эпюр фильтрационного давления, полученного по методу «ЭГДА», дает материал, который может быть с успехом использован для практических целей.
Приложение № 2
ГАЗОЗОЛОБЕТОН
(по опыту строительства в Ангарске)
Состав газозолобетона (в кг на 1 м3): зола-унос черемховских углей — 600; портландцемент (марки 400) — 250; известь молотая — 25; гипс — 10; алюминиевая пудра ПАК-3 — 0,170; хлористый кальций (безводная соль) — 6—7; вода — 420.
Приготовление газозолобетона: в бегуны или растворомешалки емкостью 0,9 м3 загружают цемент, молотую известь, гипс и золу, заливают подогретую воду и раствор хлористого кальция. Вода подогревается настолько, чтобы обеспечить температуру смеси 35—40° С в момент формовки газозолобетона. Смесь перемешивается в течение 4 мин., после чего в смеситель заливается суспензия алюминиевой пудры, и смесь дополнительно перемешивается в течение 1 мин. до полной однородности, определяемой по исчезновению видимых следов алюминиевой пудры. Готовая смесь текучей консистенции в течение 5—6 мин. доставляется к подготовленным формам. Заливка смеси в формы в зависимости от объема панелей производится в 2—3 приема.
После формовки изделия выдерживаются в течение 1—1,5 часа. За это время происходит основная часть процесса газовыделения. Вспученная часть («горбушка») срезается с помощью металлической струны или уголка, поверхность затирается, производится электропрогрев изделий.
Электропрогрев изделий из газозолобетона осуществляется так: электроток подводится к обогреваемым панелям через поддон, который служит нижним электродом, и накладываемые на лицевую поверхность стальные сетки, являющиеся верхним электродом. Для обеспечения плотного контакта верхний электрод укладывается по слою полукокса, смоченного раствором хлористого кальция.
Режим электротеплообработки изделий: подъем температуры до 100° C в течение 4—6 часов и выдержка при этой температуре 10—12 часов.
Максимально допустимая температура прогрева газозолобетона 105° C, минимальная 90° C. Прогрев при температуре 90° C допускается как исключение, и длительность прогрева при этом увеличивается. К концу электропрогрева боковые грани, углы изделия и места около закладных частей должны быть по виду сухими. После окончания прогрева ток выключается. Верхняя плоскость изделий освобождается от электродов и тщательно очищается от контактного слоя. Снятый полукокс используется при последующих прогревах изделий.
Ангарский газозолобетон имеет следующие свойства:
— прочность на сжатие после электропрогрева не менее 50 кг/см2, спустя три месяца — 75—90 кг/см2;
— объемный вес в сухом состоянии 910—970 кг/м3;
— морозостойкость — не менее 25 циклов;
— влажность в воздушно-сухом состоянии не более 12—15%; максимальное водопоглощение (после 60—70-суточных погружений образцов в воду) 38—39%.
Известково-зольный безавтоклавный газозолобетон, используемый в Ангарске для производства теплоизоляционных плит, состоит (кг на 1 м3): зола-унос — 230; известь молотая — 150; алюминиевая пудра ПАК-3 — 0,6. Перемешанную массу с пластичностью гипсового теста и температурой 15—20° C заливают слоем 18—20 см в формы размером 1×0,7×0,45 м. В течение 15—20 мин. масса, вспучиваясь, заполняет форму на всю высоту. В последующие 40—45 мин. температура массы повышается до 40—50° C, и она приобретает первичную прочность, позволяющую резать блок на плиты.