Выращивание грибов - Страница 8
Выращивание съедобных грибов в огороде и саду
Шампиньон
На садовом участке выращивают шампиньон двуспоровый. В диком состоянии он встречается довольно редко, хотя это космополит, растущий на всех континентах земного шара, кроме Антарктиды. Гриб обладает приятным вкусом и своеобразным сильным ароматом, который сохраняется при кулинарной обработке.

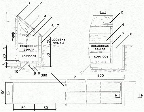
Шампиньонница-ларь конструкции грибовода-любителя В. А. Черненко (более подробное описание такой шампиньонницы дано в журнале «Приусадебное хозяйство», 1981, № 5 и 6 (В. Д. Черненко «Мое увлечение – шампиньоны», с. 38–40 и 42–45 или в брошюре этого автора): 1 – уплотнительная резиновая лента; 2 – крышка с пенопластом; 3 – вентиляционная сетка; 4 – ящик; 5 – синтетическое полотнище; 6 – поролоновое уплотнение; 7 – бетонная панель; 8 – воздухоподводящий канал; 9 – гофрированная бетонная плита; 10 – вывод из воздухоподводящего канала (в см).
Следует иметь в виду, что шампиньон – культура весьма сложная, требующая точного соблюдения прие-мов и условий ее выращивания, иначе ваши труды пропадут даром. Поэтому, прежде чем приступить к выращиванию шампиньонов, следует внимательно изучить рекомендации по их культивированию.
Итак, что же решает успех дела? Оказывается, чрезвычайно важны все факторы, связанные с выращиванием этих грибов: помещение, температурный режим и влажность, компост и метод его приготовления, качество грибницы и технология выращивания, а также уход за культурой и сбор урожая.
Помещение. Шампиньоны можно выращивать как на открытом воздухе в затененных местах, так и в закрытых помещениях (последний способ более надежен и обеспечивает стабильный урожай, поскольку позволяет контролировать условия).
В качестве помещения можно использовать в теплое время года неутепленные подвалы, погреба, сараи, землянки, небольшие затененные соломенными матами парники, где можно постоянно поддерживать температуру 14–25 °C и влажность воздуха 60–90 %.

Гребневые гряды.

Приспособление для изготовления гребневых гряд.
Существуют специальные шампиньонницы в виде заглубленных в земле ларей. Стены и крышка такого ларя, располагаемого у северной стены садового домика, должны быть максимально утеплены пенопластом, торфом, соломой. Эта изоляция служит надежным утеплителем при холодной погоде и предохраняет посев от перегрева при жаркой. Как низкие, так и высокие температуры, отклоняющиеся даже, казалось бы, немного от приведенных выше, плохо сказываются на культуре шампиньонов, значительно снижают их урожай и могут стать причиной заболевания грибов и даже их гибели.
В осенне-зимний период шампиньоны можно выращивать в утепленном подвале, погребе с регулируемой температурой или в теплице.
Крышу теплицы в этом случае нужно укрывать соломенными матами или темной пленкой для защиты от света.
Как мы уже говорили, свет для выращивания шампиньонов не требуется. Кроме определенной температуры и влажности воздуха, шампиньоны при своем развитии требуют постоянного свободного доступа свежего воздуха, однако не терпят сквозняков, что необходимо учитывать при подборе помещения для выращивания этих грибов.
Опыт показывает, что на садовом участке целесообразно иметь шампиньонницу с полезной площадью не менее 3 м2, причем грибы в ней можно выращивать не только на грядах, в том числе на двух-, трехгребневых, но также на стеллажах и в ящиках, которые, как и стеллажи, можно разместить в два этажа: это позволит вдвое увеличить полезную площадь помещения. Выбор оптимальной полезной площади помещения важен еще и потому, что при приготовлении компоста производить его ферментацию можно успешно только в бурте объемом не менее 1 м3.
Приготовление субстрата. Традиционным субстратом для выращивания шампиньонов является компост, приготовленный на основе свежего конского навоза (20–25 % объема) и соломы (75–80 %). Однако, поскольку конский навоз теперь весьма дефицитен, его заменяют коровьим навозом или бройлерным пометом.
Способы приготовления компостов на основе свежего конского и коровьего навоза сходны, поэтому наши дальнейшие расчеты исходят из количества компоста, которое получается при исходной массе соломы в 100 кг: при последующих добавках и ферментации это даст 250–300 кг готового субстрата, которого достаточно для закладки 2,5–3 м2 полезной площади под шампиньоны. Как показывает опыт грибоводов-любителей, сбор грибов даже на таком небольшом участке за один раз составит примерно 45 кг, что в 3–4 раза превысит сбор с такой же площади даже самых урожайных овощей.

Шампиньоны на стеллажах.
Компостирование, или ферментация субстрата, – сложный микробиологический процесс. Его также называют горением, т. к. под воздействием микроорганизмов происходит значительное повышение температуры в бурте (штабеле) из соломы и навоза. В глубине такого бурта температура достигает 65–70 °C. При этом происходит обильное выделение аммиака, углекислого газа и паров воды. Поэтому готовить компост надо в хорошо проветриваемом помещении или на открытом воздухе, но обязательно под навесом, защищающим от дождей, которые могут переувлажнить субстрат и вымыть из него питательные вещества. Если нельзя сделать навес, бурт следует укрыть сверху полиэтиленовой пленкой или рубероидом; при этом боковые поверхности штабеля должны оставаться открытыми для аэрации компоста.
В более поздних по времени рецептурах рекомендуется использовать 100 кг навоза на 100 кг соломы. Компост такого состава хорошо себя зарекомендовал, однако при существующем дефиците навоза можно использовать и такое соотношение, как 35–50 кг навоза на 100 кг соломы (которое, кстати, использовалось русскими огородниками-грибоводами еще в начале XX столетия).
Солома должна быть чистой, без следов плесневения, с участков, не обработанных пестицидами. Подготовка компоста состоит из нескольких этапов. Сначала замачивают солому на сутки в каком-либо резервуаре или просто обильно поливают ее водой из шланга или из ведра. Затем солому и навоз укладывают в штабель слоями, так, чтобы в нем было не менее 3–4 слоев навоза и 3–4 слоев соломы. Каждый слой соломы дополнительно слегка увлажняют и посыпают мочевиной или аммиачной селитрой, приблизительно по 600 г на слой, чтобы на все 100 кг соломы пришлось 2,5 кг удобрения.

Схема формирования компостного штабеля (бурта), оптимальные размеры штабеля после первой перебивки (в см).
Практика показывает, что солому можно предварительно и не замачивать, но тогда при укладке штабеля ее нужно увлажнять значительнее. В общей сложности на 100 кг соломы должно уйти 350–400 л воды.
Через 5–7 дней (в зависимости от интенсивности горения компоста, на которую влияет температура воздуха) производят первую перебивку (перетряхивание) штабеля вилами. При этом нужно следить за тем, чтобы наружные части компоста попали внутрь штабеля, т. е. произошло более равномерное компостирование всей массы. При первой перебивке в компост вносят 7–8 кг гипса или алебастра, что значительно улучшает структуру компоста. После перебивки компост снова укладывают в штабель, причем оптимальные его размеры – 1,5 м в ширину и высоту и не менее 1,2 м в длину. Только такой объем субстрата обеспечивает хорошее горение и в итоге хорошее качество компоста.
Через 3–4 дня следует вторая перебивка, при которой в компост вносится равномерно по 2 кг суперфосфата и 5 кг мела, а также, если компост подсох, вода. Еще через 4 дня следует третья, а затем через такой же интервал и четвертая перебивка, во время которых также при необходимости добавляется вода. При всех перебивках должно производиться тщательное растряхивание и перемешивание смеси. После четвертой перебивки, через 3–4 дня, компост обычно бывает готов. К этому времени исчезает запах аммиака, вся масса имеет темно-коричневую равномерную окраску, солома становится мягкой и легко разрывается, компост не прилипает к рукам, при сжатии слегка пружинит, а на ладони остается мокрый след, что является показателем нормальной влажности (около 60 %).