Военные радиоигры - Страница 17
Реле Р1 при каждом «выстреле» на короткое время срабатывает и переключает свои контакты. Средние контакты К1 и К2 перебрасываются в этот момент вниз, образуя цепь разряда конденсаторов C5 и С6 через громкоговоритель Гр1 и лампочку Л1. Емкость конденсаторов выбрана такой, чтобы обеспечить достаточную электроэнергию для создания громкого звука и яркой вспышки.
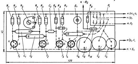
Все детали автомата системы ФФ собирают на гетинаксовой или текстолитовой плате (рис. 58).

Рис. 58. Монтажная плата автомата.
Размеры и форму платы выбирают произвольно, в зависимости от конструкции автомата. На рисунке 59 показано размещение деталей на плате.

Рис. 59. Расположение деталей на плате автомата.
О назначении всех деталей и налаживании подобных конструкций мы уже рассказывали.
Такой автомат можно использовать в игре «Зарница».

Сторож-невидимка

Научная организация труда, сокращенно НОТ, позволяет найти самые лучшие формы использования рабочего времени и повысить к. п. д. человека и машины. Было установлено, что самый непроизводительный труд у сторожей и охранников. Отсюда сам собой напрашивается вывод — заменить сторожа каким-то механизмом, прибором или устройством, зорко следящим за посторонними и подающим сигнал тревоги или препятствующим проникновению постороннего лица в запретные зоны.
Контролеры в метро (это тоже своего рода сторожа) заменены во многих местах электронно-оптическими турникетами.
В государственных и частных банках за рубежом установлено множество самых различных электронных устройств, препятствующих проникновению грабителей к сейфам. Электронные приборы заменяют охрану на промышленных предприятиях.
Электронный сторож не уснет на посту, не прозевает нарушителя, проникшего в запретную зону. Как видите, электроника и здесь играет очень важную роль, начиная повсеместно заменять сотрудников охраны. Зоркие помощники сторожевой службы заменили десятки тысяч часовых и сторожей. Дежурные по охране одного или сразу нескольких объектов находятся в караульном помещении, и нет необходимости устанавливать посты сторожевой охраны. Сигнал тревоги, появляющийся на пульте, указывает место, где находится нарушитель, и только тогда в дело вступает охрана и задерживает преступника.
Во время военных игр и походов тоже может потребоваться охрана штаба, «секретных документов», «складов продовольствия» и «оружия». Для этого мы предлагаем вам описания нескольких очень простых по устройству, но вполне надежно работающих электронных сторожей.
Автоматический сторож
Чтобы изготовить этот прибор, нужно электромагнитное реле (лучше поляризованное, оно срабатывает от меньшего тока), две батарейки для карманного фонаря, один резистор и несколько метров тонкого провода диаметром 0,05—0,06 мм. Таким проводом наматывают малогабаритные трансформаторы для транзисторных приемников.
Провод натягивают на пути возможного подхода противника. Он должен находиться примерно на высоте колена либо немного ниже. Растянутый поперек дороги или тропы провод настолько малозаметен, что даже при самом ярком солнечном свете может показаться паутинкой. Сила, необходимая для обрыва провода диаметром 0,05 мм, настолько мала, что человек, даже очень осторожный, не обратит внимания на то, что, проходя в запретную или охраняемую зону, он задел ногой и оборвал тоненький проводок. Но стоит только оборвать провод, как сработает электромагнитное реле и своими контактами включит звонок или лампочку. Сигнал тревоги будет принят дежурным, и охрана сразу же задержит нарушителя. Часовому не нужно мерзнуть или мокнуть на улице. Да и в темноте не так просто заметить «вражеского» разведчика.
Схема соединений деталей автоматического сторожа показана на рисунке 60.

Рис. 60. Схема соединения деталей автоматического сторожа.
На схеме сигнал тревоги подает лампочка Л1, когда замкнутся контакты К1. Реле должно иметь нормально разомкнутые контакты. Это означает, что, когда по обмотке реле течет ток, контакты его разомкнуты; как только ток через обмотку реле прекратится, контакты К1 под действием пружины или упругих свойств самих пластин контактов замкнутся и включат цепь сигнальной лампы. Если обмотка реле Р1 имеет сопротивление (величина его обычно написана на маркировке обмотки) больше 100 ом, резистор R1 можно не ставить.
Схема сторожа, как видите, очень проста. Нужно только последовательно соединить батарею типа КБС-Л-0,50, обмотку реле, резистор и отрезок тонкого провода, растянутого в месте предполагаемого прохода нарушителя.
Провод, даже диаметром в несколько сотых долей миллиметра, покрыт изоляцией из лака или стекла. Не забудьте зачистить провод в месте присоединения к обмотке реле и резистору или батарее. Снимать изоляцию надо очень осторожно лезвием безопасной бритвы или мелкой шкуркой. Можно снять изоляцию и нагретым паяльником. Более надежный контакт получится, если оба конца тонкого (сторожевого) провода припаять в местах соединения.
Автоматического сторожа можно установить на расстоянии в десятки и сотни метров от караульного помещения. Для этого потребуется только два любых изолированных провода от контактов реле до контрольной лампочки Л1.
После соединения между собой всех деталей сторожа по обмотке реле пойдет ток, контакты реле разомкнутся, и сторож готов к действию. Неосторожный разведчик, пройдя запретную зону, обязательно оборвет провод. Ток через обмотку реле прекратится. Контакты К1 замкнутся, и загорится лампочка тревоги.
Вместо лампочки можно установить звонок постоянного тока или зуммер. Если вы раскинули лагерь около населенного пункта или остановились в деревне, учтите, что сигнальный провод следует повесить повыше, иначе «нарушителем» может стать любая собака или кошка.
Всем хорош такой сторож. Прост по устройству, может быть установлен за 10 мин, не боится ни дождя, ни мороза. Но есть у него один недостаток — он очень много берет электроэнергии. Расход тока, особенно при малочувствительном реле, может быть настолько велик, что одной батарейки хватит лишь на одну ночь. Поэтому такого сторожа следует устанавливать только в особо экстренных случаях, когда нет возможности сделать более экономичное устройство.
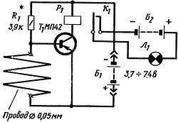
Если вы готовитесь к походу заранее, необходимо подумать и о стороже, который будет более экономичным. Для этого надо совсем немного — только один любой транзистор, который вводят в схему сторожа. Включив транзистор, как показано на схеме (рис. 61), вы резко измените расход электроэнергии.

Рис. 61. Схема автоматического сторожа на одном транзисторе.
База транзистора через отрезок тонкого провода соединена с эмиттером, и транзистор заперт. В этот момент он как бы разрывает цепь питания обмотки реле, и ток от батареи через обмотку реле почти не идет. Как только «нарушитель» разорвет провод, соединяющий базу транзистора с его эмиттером, транзистор моментально открывается. Сопротивление эмиттер — коллектор открытого транзистора очень маленькое, и он становится как бы замкнутым накоротко. Через обмотку реле начинает течь ток, реле срабатывает и включает своими контактами К1 сигнализацию.