Устройство крыши - Страница 5
Зажимные приспособления
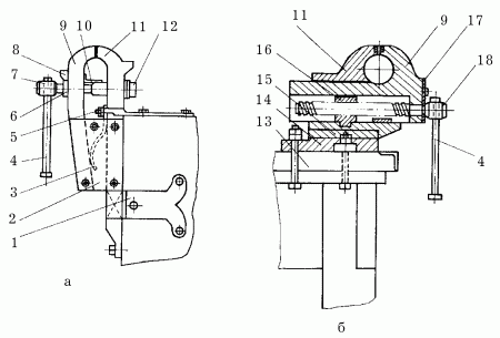
К зажимным приспособлениям относятся тиски, которые могут быть параллельными и стуловыми (рис. 22).

Рис. 22. Тиски: а – стуловые; б – параллельные: 1 – лапа для крепления тисков к верстаку; 2 – боковина; 3 – пружина; 4 – рычаг; 5 – планка для крепления тисков к верстаку; 6 – шайба; 7, 18 – стяжной и червячные винты; 8, 10 – козырьки; 9 – подвижная губка; 11 – неподвижная губка; 12 – втулка; 13 – верстак; 14 – нижняя плита; 15 – поворотный круг; 16 – гайка; 17 – крышка.
И параллельные, и стуловые тиски состоят из подвижной и неподвижной губок и рычагов для вращения винтов. Тиски закрепляют на верстаке.
Кроме тисков, в качестве зажимов используют ваймы, прессы, струбцины (рис. 23).

Рис. 23. Струбцины.
Инструменты для опиливания
Напильники
При опиливании (выборки верхнего слоя с поверхности детали) используют напильники различных видов. Каждый напильник имеет на своей рабочей поверхности насечки, благодаря которым он может снимать слой металла.
Напильники состоят из носа, тела, пятки и хвостовика. Они бывают различного сечения, например квадратного, прямоугольного, полукруглого, круглого, треугольного (рис. 24).

Рис. 24. Виды напильников: а – напильники; б – рашпиль.
Напильники с такими сечениями называют обыкновенными.
Напильники с квадратным сечением нужны для обработки поверхностей прямоугольной формы. Напильники с прямоугольным сечением универсальные, ими можно доводить практически любую поверхность, включая и фасонную. Напильники с полукруглым сечением предназначены для работы с вогнутыми поверхностями. Напильники с треугольным сечением – для доводки отверстий с треугольным сечением и углов, с круглым сечением – для круглых отверстий.
Есть еще и специальные напильники, сечение которых может быть ромбовидным, овальным или в виде меча.
Выпускаются напильники с одинарной и двойной насечкой. Напильником с одинарной насечкой выполнять опиливание сложнее, потому что он снимает слой металла в виде стружки, в то время как напильник с двойной насечкой измельчает стружку, превращая ее в опилки. Опиливать металлическую поверхность можно двумя способами: чистовым и черновым.
Опиливание первым способом проводится напильником длиной от 125 до 450 мм, опиливание вторым способом – драчевым напильником той же длины. Затем обрабатываемую поверхность доводят бархатным напильником длиной от 125 до 250 мм.
Напильники предназначены также для отделки пазов, зазоров, канавок, плоскостей. Кроме этого, с их помощью деталям из металла можно придать необходимую форму или размеры, обработать кромку деталей и т. д.
Для того чтобы правильно опилить деталь, опиливание выполняют перекрестным способом, те есть сначала движения напильником делают слева направо, а затем справа налево. Чтобы проверить ровно ли опилена деталь, прикладывают к поверхности детали линейку или угольник: если между линейкой и плоскостью нет просветов, то все сделано правильно.
Инструменты для выполнения и обработки отверстий
Сверла
Отверстия выполняют путем сверления. Для этого используют различные сверла (рис. 25).

Рис. 25. Сверла: а, б – перовые; в, г – центровые; д – винтовое; е-з – спиральные без фаски, с фаской и штопорное.
В дрелях (ручных и электрических) используют спиральные сверла.
Сверло имеет рабочую часть, которая делится на режущую и цилиндрическую, хвостовик, который помещается в шпиндель (вращающийся вал с приспособлением для закрепления сверла и т. п.) станка, и лапку.
Чтобы в процессе работы стружки отлетали в сторону, в цилиндрической части сверла делают две винтовые канавки, по краям которых располагаются ленточки. Ленточки нужны для того, чтобы уменьшить трение сверла о кромки отверстия.
Другая, режущая, часть сверла выполнена в виде конуса, на котором располагаются три кромки: две режущих и одна поперечная. В зависимости от того, из какого металла изготовлена деталь, угол заточки сверла делают от 110 до 150°.
Хвостовик сверла может быть цилиндрической и конической формы. Первый закрепляется в шпинделе станка кулачковым патроном, второй держится в шпинделе из-за трения между переходной конусной втулкой и конусом самого хвостовика.
Лапка сверла нужна для упора при извлечении сверла из патрона или гнезда.
В процессе работы сверло, вращаясь, снимает стружку с металлической поверхности и продвигается вдоль оси вращения, постепенно углубляясь внутрь детали.
Если углы режущей кромки сверла быстро становятся тупыми, то это говорит о том, что скорость вращения слишком большая и ее следует уменьшить. Сделать это можно только после полной остановки привода.
С электродрелью работают в резиновых перчатках или во время сверления одной ногой стоят на резиновом коврике. Если становятся тупыми сами кромки, то это признак слишком сильной подачи. Чтобы сверло служило как можно дольше, не крошилось и не ломалось, подачу в конце высверливания всегда уменьшают. Наилучшего результата при сверлении можно добиться при достаточно большой скорости вращения и небольшой подаче. В процессе работы сверло время от времени охлаждают водой, но ни в коем случае не мокрой ветошью. Вращающиеся элементы сверлильных машин, как ручных, так и электрических, регулярно смазывают машинным маслом.
Кроме этого, постоянно обращают внимание на состояние провода электродрели.
После завершения сверлильных работ стружку тщательно собирают веником и выбрасывают.
Зенковка
Такой инструмент, как зенковка, служит для отделки углублений цилиндрической или конической формы, а также фасок высверленных отверстий под головки винтов, болтов и заклепок. Зенковка может быть цилиндрической и конической. Первая состоит из хвостовика, рабочей части, у которой может быть от 4 до 8 зубьев, и направляющей цапфы, опускающейся в высверленное отверстие, благодаря чему происходит совмещение оси отверстия и полученного зенковкой углубления.
Вторая также имеет хвостовик и рабочую часть. Чаще всего применяют зенковки с углом конуса 120, 90 и 60°.
Зенкер
Зенкер служит для доводки отверстий, полученных различным способом, например штампованием, ковкой, сверлением или литьем. Зенкер напоминает сверло. Но если сверло имеет две режущих кромки, то у зенкера их три или четыре. Хвостовик зенкера зажимают в патроне.
В том случае, если отверстие будет высверливаться сверлом, а затем будет доводиться зенкером, то диаметр сверла должен быть меньше, чем диаметр готового отверстия.
Пробойник
Пробойник используют для проделывания отверстий различного диаметра.
Заточка инструментов
Для того чтобы работы были качественными, чтобы на их выполнение не уходило слишком много сил, следят за состоянием всех инструментов. Прежде всего обращают внимание на то, как они заточены.
Для заточки инструментов используют точило, брусок, оселок и напильник.
Точило
Этим инструментом точат лезвия режущих инструментов. Он выпускается различной формы и зернистости. От крупнозернистых точил на затачиваемых инструментах остаются зазубрины и царапины. Мелкозернистые точила удаляют их, делая лезвие острым и гладким.
При заточке зубила, стамески, рубанка круглым точильным камнем его направляют навстречу лезвию (рис. 26).
