Удивительная физика - Страница 31
Но самым грандиозным в свое время был опыт с маятником Фуко в здании Исаакиевского собора в Ленинграде (нынешнем Санкт-Петербурге) (рис. 97). Первая демонстрация его состоялась 6 марта 1931 г. На стальной проволоке диаметром 1 мм и длиной 98 м был подвешен бронзовый шар массой 60 кг. Достаточно северное положение города обеспечивало значительное отклонение маятника – за час примерно 13°. Это в два с лишним раза больше, чем у самого Фуко в Пантеоне. За одно колебание плоскость качаний смещалась на 6 мм, что было хорошо видно.

Устроить небольшой маятник Фуко можно и самому. Нужно приготовить маятник, например, привязав к нитке тяжелую гайку, взять в руку свободный конец нитки и… Нет, вам не придется стоять часами, ожидая, пока Земля повернется. Лучше станьте на известную скамью Жуковского или даже на покупную «Грацию» и, вытянув руку с качающимся маятником, попробуйте завращать себя. Маятник в вашей руке будет сохранять первоначально заданное направление колебаний, например от двери к шкафу (рис. 98).

И еще про Фуко, вернее, про пример его жизни. Он плохо учился в школе (внимание, лентяи!), не тянулся к знаниям. К тому же у него было очень слабое здоровье. Но увлекшись интересным делом, он стал знаменитым на весь мир ученым, его имя вошло во все энциклопедии. И не только из-за его маятника. Фуко измерил скорость света как в воздухе, так и в воде, открыл свои вихревые «токи Фуко» и сделал много других открытий в физике.
Вот что такое увлеченность!
Как колебания мерят время?
Маятник все время связывают с часами, а вот в чем состоит его роль в них, знают не все. Ну, допустим, делает маятник длиной в 1 м одно колебание в секунду (туда – секунда, обратно – секунда). А какое отношение это имеет к часам? Что, часы считают и складывают эти секунды, как механический арифмометр? Да и вообще, для чего были придуманы громоздкие и сложные маятниковые часы, когда были весьма точные водяные и песочные?
Ну, прежде всего, никто не отменял часы водяные и песочные. Водяные мы видели в телепередачах из форта Байяр, а песочные сплошь и рядом используются в практической жизни, хотя бы в физиотерапевтических кабинетах. Вставили, допустим, в ухо прогреватель и перевернули часы. Как пересыпается песок – конец процедуре.
Но заметим, что постоянно «идущих» песочных часов не может быть в принципе. Они, как говорят, дискретного действия. А человеку стали нужны часы, постоянно отмеряющие время. Хотя бы для того, чтобы «сверять часы». Чтобы в разных домах и даже городах полдень и полночь наступали одновременно, а не вразнобой. И тогда вспомнили о маятнике, о том, что он имеет один и тот же период колебаний независимо от величины их размаха или амплитуды. Но при этом встают две проблемы: как поддерживать колебания маятника, чтобы он не остановился, и как складывать периоды колебаний, выдавая общее, суммарное время.
Помните, в самом начале повествования о колебаниях мы упомянули медведя, толкающего подвешенный на веревке чурбан. Так вот, первую проблему этот медведь уже решил – толкая чурбан, он поддерживает незатухающие колебания маятника. И если бы этот медведь был ученым (или вместо него на дереве сидел бы человек с калькулятором) и считал бы каждое колебание, складывая их, и выдавал бы сумму, то это были бы самые настоящие маятниковые часы. Остается только заменить этого медведя механизмом.
Это было сделано уже в VI в. н. э., к которому относятся первые упоминания о механических часах. Но достоверные сведения о первых часах появились лишь в конце 900-х гг. (успели-таки сдать объект в первой тысячелетке!), когда французский монах Жербе (кстати, ставший в 999 г. папой Сильвестром Вторым) построил достаточно точные
механические часы с гирей (рис. 99). Часы постепенно улучшались и к 1300 г. появились во многих городах Европы. Заметим, что у таких часов стрелка была всего одна, и часто вместо стрелки вращался циферблат, а стрелка закреплялась неподвижно. В древней Москве, в частности, были именно такие башенные часы – с вращающимся циферблатом, причем, как писали, вращался он со страшным скрипом, так как его забывали смазывать.

Маятник древних часов был поперечным – линейка с двумя грузами на концах связывалась с особой шестерней с острыми зубьями так, чтобы при одном колебании успевал проскакивать только один зубец. Этот же зубец толкал (как медведь!) маятник, не давая его колебаниям затухнуть. Таким образом скорость вращения этой шестерни непосредственно кинематически связывалась с колебаниями маятника, например, один оборот шестерни, содержащей десять зубьев, происходил за десять колебаний маятника. Если период колебаний был равен 1 секунде – то за 10 секунд. Оставалось только связать системой зубчатых колес эту шестерню со стрелкой, чтобы та вращалась в 4 320 раз медленнее, и дело сделано. Часовая стрелка или циферблат (как кому нравилось) совершали при этом полный оборот за 12 часов!
Но это были часы не очень совершенные. Точность их хода сильно зависела от величины подвешенного груза, который и вращал шестерню, и толкал таким образом маятник. Восстанавливающая сила (загляните в пример с медведем!) зависела от массы груза, «смазанности» механизма и других причин, что делало часы неточными и ненадежными.
Изобретением настоящих, точных и надежных маятниковых часов мы обязаны Христиану Гюйгенсу, который создал их в 1656 г. Вся прелесть часов Гюйгенса была в том, что маятник совершал свои колебания под действием восстанавливающей силы, зависящей только от силы тяжести, то есть постоянной (для жителей Земли, разумеется). И, как мы знаем, даже подъем на горы и спуск в шахты, а также изменение плотности воздуха из-за погоды почти не влияли на период колебаний такого маятника.
Это был обычный маятник – груз, подвешенный на стержне с возможностью изменения длины его подвеса, чаще всего обычной гайки на резьбе, что нужно для точного регулирования периода колебаний. Вся хитрость состояла в так называемом спусковом механизме, таком, который позволял бы сделать колебания маятника незатухающими, и в то же время почти не изменял бы периода его колебаний.
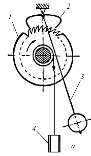
Спусковой механизм (рис. 100, а) состоит из спускового колеса 1, так или иначе подгруженного гирей 4 (на рисунке она свисает справа, подгружая колесо 1 по часовой стрелке), и анкера 2, связанного с маятником 3. Зубья колеса 1 толкают поочередно то левое, то правое плечо анкера 2, раскачивая маятник 3. При этом с каждым качанием проскакивает по одному зубу спускового колеса, делая таким образом частоту его вращения зависящей от периода колебаний маятника. Связать спусковое колесо со стрелками часов – часовой и новой, второй стрелкой – минутной было уже делом техники. Секундная стрелка появилась совсем в новое время, когда счет времени пошел на секунды. Наиболее точный ход часов – при малых амплитудах колебаний маятника, порядка 3 – 8 °. На рис. 100, б показаны усовершенствованные спусковое колесо и анкер реальных маятниковых часов. Видно, что в анкере закреплены по его концам так называемые палеты, изготовленные из закаленной стали или даже твердых камней, обычно агата или рубина. Длина палет регулируется так, чтобы они поочередно выходили из зацепления со спусковым колесом, и оставшаяся в зацеплении палета толкала анкер и весь маятник слева направо. Обратно же маятник возвращается сам.
