Туалет и душ на дачном участке - Страница 10

В правильно устроенной компостной яме органические вещества разлагаются полностью.
Процесс естественного разложения органики поднимает температуру внутри компостной кучи до 70 °C и более.
Многие владельцы садовых участков убеждены, что главным недостатком любых выгребных ям является невозможность использования фекалий в качестве удобрения без их соответствующей обработки. Несколько стабилизировать фекалии в выгребной яме можно, добавляя в них известь. Она, особенно хлорная, предупреждает закисание содержимого ямы и формирование смрадных газов.

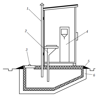
Рисунок 24. Уборная с выгребом: 1) вытяжка; 2) стульчак; 3) крышка; 4) рукомойник; 5) бетон; 6) глиняный замок
Для выгреба емкостью 500 л следует приготовить раствор из расчета по 10 кг извести на 50 л воды. Фекалии в целях дезинфекции можно обрабатывать специальными химическими веществами, но использование их для садовых участков обходится слишком дорого. Добиться полной дезинфекции содержимого выгреба не удастся. Все применяемые вещества содержат самое различное количество активного хлора, поэтому он оказывает только частичное воздействие на микробов.
Выгреб – это яма около 1,5 м глубиной с герметичными стенками, имеющая небольшой уклон дна в сторону люка для удобства ее очистки. В зависимости от конкретных условий выгреб может быть герметичным или фильтруемым. С точки зрения охраны окружающей среды герметичный выгреб предпочтительнее, потому что он не загрязняет почву, но нуждается в регулярной очистке. Фильтруемый выгреб можно очищать гораздо реже, но отходы неминуемо просочатся в грунт. Такой выгреб можно сооружать при суточном объеме стоков до 1 м3; для его сооружения обычно используют бетонные кольца для колодца.
Для большой семьи нужен выгреб объемом не менее 2 м3. Выгреб такого объема рекомендуется делать только герметичным, со стенками и полом из бетона или кирпича с последующим оштукатуриванием внутренних поверхностей, тогда нечистоты из выгреба не будут просачиваться в почву. По всей высоте выгреба полагается сделать глиняный замок толщиной 25–30 см.
Для надежной гидроизоляции можно также добавить какие-либо гидроизолирующие добавки, что существенно облегчит процесс. В таком случае можно не делать замок из мятой глины. Также вокруг выгреба необходимо выполнить отмостку и проложить водоотводные канавки.
Форму выгреба следует выбирать с таким расчетом, чтобы очистной люк был снаружи и имел удобный доступ. Для более удобной очистки, дно выгреба рекомендуется делать с небольшим наклоном в сторону люка. Перекрытие желательно сделать также из бетона, залив его поверх опалубки, которую можно затем извлечь через люк.
Заблаговременно в перекрытии выгреба нужно предусмотреть два отверстия. Одно необходимо для трубы большого диаметра, соответствующей по размерам будущему «очку», второе – не менее 100 мм в диаметре – для вентиляционной трубы. В вентиляционное отверстие установить патрубок еще до бетонирования.
Крышку люка для извлечения содержимого выгреба полагается делать двойной. Верхнюю крышку можно сделать из чугуна, нижнюю – из пропитанной каким-либо защитным составом доски. Свободное пространство между ними полагается заполнить насыпным утеплителем в виде торфа, стружки или опилок. Сверху выгреб нужно утеплить, он не должен промерзать.

Рисунок 25. Утепление выгреба: 1) доски; 2) рубероид
Над выгребом рекомендуется сначала уложить деревянные или железобетонные балки, а на них укрепить туалетную кабинку. Открытое пространство, если нет бетонного перекрытия над ямой, полагается плотно закрыть досками, а поверх них положить рубероид (рис. 25).
При небольшой численности семьи очистку герметичного выгреба надо производить хотя бы раз в год. Однако с ростом семьи это нужно делать дважды в год – весной и осенью. Содержимое выгребов – это густая вязкая масса, которая не поддается выкачиванию, поэтому опорожнять выгреб приходится вручную. Эта процедура малоприятна и для владельца приусадебного участка, и для его соседей. Однако подобные выгребы пока еще очень часто встречаются из-за простоты их конструкции.
В пользу их целесообразности в условиях средней полосы России говорит многовековая традиция применения таких сооружений.
Выгребную яму не рекомендуется сооружать при высоком уровне залегания грунтовых вод в 3–3,5 м от поверхности земли и меньше, так как из-за вероятного просачивания нечистот возможно отравление близлежащих колодцев. Днище выгребной ямы должно находиться не менее чем на 1 м выше максимального (осенневесеннего) уровня грунтовых вод.
Иногда по незнанию на даче делают переливную яму для туалета из бетонных колец или других материалов, но без дна (так называемый народный септик). Такая конструкция может привести к заражению питьевых вод стоками, что грозит возбуждением уголовного дела по статье 250 УК РФ.
Если грунтовые воды залегают близко к поверхности, то лучше вместо выгребной ямы устроить место под выдвижную бадью.
Прежде чем выбрать для своего участка устройство туалета с выгребной ямой, уточните вопрос о вероятности подключения к коммунальной сети водоснабжения участка. Подвод воды даст возможность соорудить собственную систему водоснабжения с комфортным внутренним оборудованием. Тогда в доме монтируется обычный туалет со смывом, а туалет с выгребом становится ненужным.
Подключение к напорной водопроводной сети обычного туалета со смывом воды в сточную яму допускается в исключительных случаях. Например, когда отсутствует возможность обработки сточных вод в соответствующих очистных сооружениях, из которых сточные воды отводят в систему подземного орошения, почву или водоемы. Владелец участка, подключая такой туалет к водопроводной сети, обязан дать письменную гарантию того, что он будет вывозить содержимое выгребной ямы в строго установленном порядке. Однако и в этом случае никак нельзя отводить в выгреб хозяйственные стоки и воды от атмосферных осадков.
Все способы устройства дачного туалета и обезвреживания нечистот, о которых рассказывалось выше, вполне отвечают гигиеническим требованиям. Однако все они не очень приятны для дачников, проживающих на своей усадьбе круглый год. Самое безупречное санитарно
бытовое оборудование дачи можно организовать только при вводе в дом водопровода и канализации. Тем более, что централизованный водопровод имеется в большинстве районов индивидуальной застройки и на многих дачных участках.
Подведение водовода
Застройщикам на загородных и дачных участках зачастую приходится самим заботиться о снабжении водой своих домов. Существуют несколько способов забора воды из подземного источника, родника или водоема. Для питья можно употреблять только воду из подземных источников, с глубины свыше 10 м. Воду, добытую из открытого водоема или из неглубокой скважины, следует проверить в санэпидемстанции на пригодность для питья. Если вода в естественном водоеме непригодна для питья или дом расположен далеко от воды, то застройщики вынуждены бурить водозаборные скважины или делать шахтные колодцы.
Самый простой вид колодцев, или шахтный, сооружают ручным способом при сравнительно неглубоком (от 10 до 20 м) залегании воды. Для выкопки его шахты лучше пригласить специалистов, так как копать колодцы своими силами небезопасно из-за возможного обрушения грунта. Лучшее время для рытья колодца – ранняя осень, когда грунтовые воды, как правило, залегают на самом низком уровне.
Стенки колодца нужно укрепить деревянным срубом либо бетонными или асбестоцементными кольцами. Очень важен выбор древесины для сруба; в воде хорошо сохраняются дубовые плахи, но на первых порах они портят вкус воды. Поэтому дубовые плахи надо за 2–3 месяца до их укладки опустить в проточную воду так, чтобы она покрывала их. Дубовые плахи следует класть на 1–2 венца выше уровня воды. На нижние венцы сруба лучше взять сухую выдержанную древесину ольхи, ивы или березы. Она обеспечит плотное примыкание венцов друг к другу. Сруб шахтного колодца необходимо заглубить в водоносный горизонт на 1–2 м. Если водоносный слой беден, а для ведения хозяйства требуется много воды, то сруб лучше не углублять, а расширить внизу.