Трофейное оружие - Страница 3
г) повернуть отверткой на полоборота стопорные винты;
д) надеть на переднюю часть ложи верхнее ложевое кольцо крючком назад и продвигать его до тех пор, пока сосок защелки не заскочит в отверстие ложевого кольца.
2. Присоединить шомпол. — Вставить его нарезным концом в отверстие ложи и завернуть доотказа.
3. Собрать затвор:
а) присоединить выбрасыватель к стеблю затвора, повернув выступ кольцевого основания выбрасывателя так, чтобы он встал между двумя вырезами стебля затвора, и поставить на него выбрасыватель гнездом его прилива так, чтобы зацеп выбрасывателя был обращен в сторону боевой личинки. Затем нажать большим пальцем правой руки на пружинную часть выбрасывателя, а указательным пальцем левой руки приподнять зацеп выбрасывателя и продвинуть выбрасыватель доотказа в сторону рукоятки, после чего, вращая выбрасыватель, поставить его против рукоятки, одновременно наблюдая, чтобы выступ выбрасывателя вошел в кольцевой паз стебля затвора;
б) присоединить предохранитель к соединительной муфте, вставив стержень предохранителя в отверстие соединительной муфты;
в) надеть боевую пружину на ударник и ввести срезанную часть ударника с сухарными выступами в овальный канал соединительной муфты со стороны нарезной ее части;
г) поставить флажок предохранителя отвесно (так же, как и при разборке);
д) упереть боек ударник в деревянный предмет и, наложив указательный палец правой руки на флажок, нажимать на соединительную муфту, пока конец ударника с сухарными выступами полностью не выйдет из соединительной муфты;
е) не отпуская соединительной муфты, надеть курок на конец ударника выступом курка вниз и повернуть курок на четверть оборота, пока выступ ударника не войдет в продольный паз соединительной муфты;
ж) ввести ударник с боевой пружиной в канал стебля затвора и завернуть нарезную часть сочинительной муфты в стебель затвора доотказа.
4. Вложить затвор в ствольную коробку. — Взять затвор правой рукой за рукоятку, повернуть выбрасыватель вправо доотказа и оттянуть левой рукой затворную задержку ствольной коробки, после чего вставить затвор в канал ствольной коробки; повернуть рукоятку вправо.
ПУЛЕМЕТ МГ-34
Общие сведения
Пулемет МГ-34 (рис. 13, 14 и 15) может быть использован в качестве ручного, станкового и зенитного пулеметов и при специальном креплении установлен в танк.
В отличие от наших пулеметов пулемет МГ-34:
1) может стрелять при ленточном и магазинном питании;
2) позволяет при замене одной детали переменить подачу ленты с левой стороны на правую и наоборот;
3) при использовании его в качестве ручного пулемета можно устанавливать сошку как у переднего конца пулемета, так и посередине.
Прицельная дальность стрельбы:
по стоечному прицелу 2000 м
по оптическому прицелу:
при прямой наводке 3000 м
при непрямой наводке 3500 м
Шкалы стоечного и оптического прицелов нарезаны для тяжелой пули. Стрельбы легкой пулей может производиться на дистанцию 600 м по тем же установкам.
Дальность действительного огня:
для станкового пулемета 2000 м
для ручного пулемета 1000 м
для зенитного пулемета по высоте 1000 м
Темп стрельбы с втулкой надульника 800–900 выстрелов в минуту.

Рис. 13. Пулемет МГ-34, установленный на станке обр. 1934 г. (станковый пулемет).
1 — основание оптического прицела; 2 — зажим прицела; 3 — оптический прицел; 4 — основание оптического прицела; 5 — кронштейн; 6 — кнопка стакана; 7 — маховичок подъемного механизма; 8 — кнопка
Огонь из ручного пулемета ведется короткими очередями (3–5 выстрелов), а при отражении атаки — непрерывным огнем.
Огонь из станкового пулемета ведется очередями (20–30 выстрелов) и непрерывным огнем с заменой ствола после каждых 250 выстрелов.

Рис. 14. Пулемет МГ-34 с магазинным питанием, установленный на сошке (ручной пулемет).
1 — мушка; 2 — кожух; 3 — хомутик прицела; 4 — стойка прицела; 5 — магазин; 6 — винт с фигурной прокладкой; 7 — защелка магазина; 8 — крышка магазинного питания; 9 — приклад; 10 — защелка приклада; 11 — цапфы; 12 — предохранитель в положении “огонь”; 13 — ремень; 14 — средняя опора; 15 — сошка; 16 — передняя опора

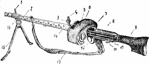
Рис. 15. Пулемет МГ-34 с ленточным питанием, установленным на сошке (ручной пулемет).
1 — защелка крышки; 2 — короб; 3 — крышка ленточного питания; 4 — нижний приемник; 5 — стопорная ось крышки; 6 — соединительная муфта; 7 — гнездо для кольцевого прицела; 8 — стопор надульника; 9 — пламегаситель; 10 — надульник; 11 — зажимная пружина передней опоры; 12 — выступ крепления; 13 — зажимная пружина средней опоры; 14 — лента; 15 — спусковой крючок; 16 — ручка управления огнем; 17 — рукоятка заряжания
Не следует вести непрерывный огонь более 250 патронов из одного ствола.
Калибр 7,92 мм
Вес пулемета с сошками 12 кг
Вес станка обр. 1934 г. 19 кг
Вес пулемета со станком и оптическим прицелом 32,75 кг
Патроны
Для стрельбы из пулемета можно применять германские и польские патроны калибра 7,92 мм (Маузер).
Установка стоечного прицела
1. Поднять мушку, если она была опущена.
2. Поднять стойку прицела, поворачивая ее на себя.
3. Нажать большим и указательным пальцами на зажимы хомутика прицела и, перемещая его вверх или вниз, совместить верхнюю грань хомутика с нужным делением прицела.
Цифры на прицеле обозначают сотни метров.
Заряжание пулемета
Пулемет МГ-34 в качестве станкового пулемета работает на ленточном питании с подачей ленты справа или слева, а в качестве ручного — как на ленточном, так и на магазинном питании.
Лента рассчитана на 250 патронов. Если такой ленты нет, то составить ее из коротких лент на 50 патронов. Для этого извлечь патрон из первого звена другой ленты, вставить в прорезь свободного звена хвост последующего звена первой ленты и вставить обратно вынутый патрон.
Магазин рассчитан на 75 патронов (рис. 16).
Признаки установленного на пулемете вида питания пулемета
1. Если на коробе пулемета находится крышка со щитками и с защелкой магазина, — пулемет установлен на магазинное питание (рис. 17).
2. Если на коробе пулемета находится крышка с верхним приемником (рис. 18), а внутри короба вставлен нижний приемник (рис. 19), — пулемет установлен на ленточное питание.

Рис. 16. Магазин на 75 патронов.
1 — отпирающий рычаг; 2 — ручка-ремешок; 3 — горловина

Рис. 17. Крышка для магазинного питания.
1 — левый щиток; 2 — правый щиток; 3 — защелка магазина; 4 — приемник
3. Если на место нижнего приемника предыдущего типа (рис. 19) вставлен нижний приемник с выступами для крепления барабана (рис. 20), — пулемет установлен на ленточное питание, причем лента может подаваться из специального барабана.

Рис. 18. Крышка для ленточного питания.
1 — верхний приемник
