Техника и вооружение 2007 05 - Страница 9
Еще одной проблемой является противоречие между порогом срабатывания ЗУДТ, обусловленным чувствительностью применяемого в них взрывчатого вещества, и необходимостью обеспечения несрабатывания ЭДЗ при попадании пуль стрелкового оружия, снарядов малокалиберной артиллерии, осколков фугасных снарядов и других средств поражения, которые не представляют непосредственной угрозы для танка. Поэтому работы по совершенствованию комплекса не прекращались, особенно с учетом появления в странах НАТО и США модернизированных БОПС. Для обеспечения требуемых параметров подвергался изменениям состав ВВ.
Повышение эксплуатационных характеристик было достигнуто за счет перехода от встроенного к модульному исполнению комплекса (рис. 5), что обеспечило ряд преимуществ. К ним можно отнести легкость в обслуживании, в том числе и замену поврежденных модулей в полевых условиях, возможность модернизации существующего танкового парка силами предприятий Министерства обороны в ходе планового ремонта.
В данной разработке был выбран путь эволюционного развития старого принципа метания пластин в направлении атакующего боеприпаса.
В усовершенствованных устройствах 4С23 удалось избавиться от некоторых недостатков 4С22, таких как недостаточная чувствительность при инициировании малоскоростными кинетическими снарядами и некоторыми типами кумулятивных боеприпасов. Кроме того, в случае установки с модульным принципом размещения снижена вероятность передачи детонации ЭДЗ на соседние элементы, непосредственно не участвующие в воздействии на атакующий боеприпас.
Повышенная эффективность при защите от кинетических и кумулятивных боеприпасов достигается за счет применения дополнительных метательных пластин, включения в состав неметаллических элементов, действующих на атакующий боеприпас, а также более длительного времени взаимодействия. В результате данных мероприятий разработчикам удалось снизить бронепробиваемость БОПС в зависимости от типа боеприпаса на 20-60%. Благодаря возросшему времени воздействия на кумулятивную струю можно предположить, что удалось добиться также и определенной эффективности против кумулятивных ПТС с тандемной БЧ [4].
Дополнительное увеличение чувствительности устройств к действию бронебойного подкалиберного снаряда достигается за счет того, что защитные пластины устройства выполнены из двух различных материалов, при этом акустический импеданс материала защитной пластины (из алюминиевого сплава), расположенной первой по ходу проникающего средства поражения, меньше, чем акустический импеданс материала второй защитной пластины, выполненной из стали [5].

Рис. 4. Установка универсальной ДЗ «Контакт-5» на башне и ВЛД корпуса танков Т-72Б и Т-90.

Рис. 5. Установка универсальной ДЗ «Реликт» на башне и ВЛД корпуса танков Т-72Б «Рогатка».

Рис. 6. Установка универсальной ДЗ на крыше башни танка (варианты исполнения контейнера):
1 – металлический корпус; 2 – верхняя стенка; 3 – металлическая пластина; 4 – ЭДЗ; 5 – упругий элемент (например, полиуретан) прочностью не менее 900 кг/м³ ; 6 – пластина из стали высокой твердости.

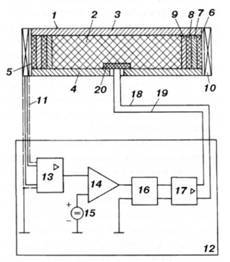
Рис. 7. Схема поражения БОПС с предконтактным подрывом перед броней, предложенная НИИ Стали:
1 – контейнер; 2 – взрывчатое вещество; 3,4 – защитные пластины; 5, 6, 7,8,9 – боковые стенки контейнера (материалы для изготовления слоев выбраны так, чтобы соотношение их акустических жесткостей для соседних слоев 6,7 л 8,9 составляло не менее 2); 10 – катушка индуктивности; 11 – экранированная линия связи; 12 – формирователь; 13 – усилитель; 14 – устройство сравнения; 15 – стабилизированный источник порогового напряжения; 16 – формирователь прямоугольных импульсов; 17 – усилитель мощности; 18, 19 – двухпроводная линия связи; 20 – электродетонатор.
Нанесение специального предохранительного покрытия из неметаллических материалов на стенки корпуса, металлические пластины и на внутренние поверхности полости также позволяет увеличивать время функционирования броневой защиты и предотвращает волнообразование. Происходит «скольжение» пластин вдоль поверхности соударения, их отражение и, в конечном счете, повторное воздействие на ПТС.
Преимущества от применения неметаллических материалов в конструкции ЗУДТ позволяют увеличить время функционирования устройства за счет динамического обжатия его материала.
Последовательное действие стальных метаемых пластин и неметаллических элементов (керамика, стеклопластик, полиуретан и др.), размещенных между не связанными между собой зарядами ВВ, осуществляет дополнительное воздействие на ПТС и увеличивает время функционирования устройства за счет динамического обжатия его материала, а затем и воздействие второго заряда ВВ, что приводит к значительному снижению бронепробивания. Такие решения применены в серийных отечественных ЗУДТ (рис. 6) [6].
Одним из вариантов развития универсальных ЗУДТ можно назвать инициирование ВВ при помощи электрического импульса (рис. 7) [7]. Изменение магнитного поля, обусловленное движением средства поражения, преобразуется в электрический сигнал. Полученный сигнал сравнивают с пороговым уровнем, и в момент превышения электрическим сигналом порогового уровня формируется электрический импульс, который воздействует на электродетонатор взрывчатого вещества ЗУДТ.
В предложенном НИИ Стали способе пороговый уровень устанавливают в соответствии со скоростными и массогабаритными характеристиками средств поражения. Преобразование магнитного поля в электрический сигнал производят с помощью катушки индуктивности, которую размещают в зоне установки контейнера с защитной пластиной. Встреча защитной пластины с носовой частью подкалиберного снаряда происходит на расстоянии 200-250 мм от контейнера. Удар пластины по корпусу снаряда приводит к его частичному разрушению и дефрагментации на несколько частей, которые приобретают угловую скорость вращения, в результате чего снижается их бронепробивное действие.
Так как взаимодействие пластины с подкалиберным снарядом происходит на расстоянии 200-250 мм от контейнера, когда пластина уже имеет скорость движения, равную V, на снаряд воздействует кинетическая энергия движущейся пластины, которая составляет m-V2/2, где m – масса движущейся пластины.
Для кумулятивных боеприпасов применение такого способа защиты приводит к преждевременному срабатыванию взрывателя не на фокусном расстоянии, разрушению кумулятивной облицовки или заряда, что значительно ухудшит условия формирования кумулятивной струи.
При реализации предложенного способа защиты требуется меньшая (при адекватном защитном эффекте) масса ВВ, помещаемого в контейнер. Это, в свою очередь, обеспечивает снижение динамической ударной перегрузки, воздействующей на корпус защищаемого объекта при срабатывании устройства защиты, что существенно улучшает условия работы экипажа защищаемого объекта и позволяет эффективно защищать легкобронированные проекции. Подобный вариант ЗУДТ может применяться для защиты как тяжелой, так и легкобронированной военной техники.

Рис. 8. Краевые ослабленные участки ЗУДТ с плоским зарядом ВВ и метаемыми пластинами.
Изображение фактической зоны перекрытия (защиты) ЗУДТ типа «Контакт-1» и аналогичных ей типов.
Наибольший уровень защиты возможен только при встрече с заштрихованными участками: 1 – головная часть реактивной струи, оптимальная точка попадания; 2 – головная часть кумулятивной струи, нижняя точка попадания; 3 – защитный модуль; 4 – основная броня; 5 – верхняя отлетевшая пластина; 6 – слой ВВ.