Сварка - Страница 7
Преобразование кинетической энергии электронов в тепловую энергию характеризуется высоким к.п.д. При электронно-лучевой сварке в качестве источника нагрева используется поток электронов, движущихся в высоком вакууме. Для сварки необходимо получить свободные электроны, сконцентрировать их и сообщить им скорость с целью увеличения энергии. Электронный луч, используемый для нагрева металла при сварке, создается в специальном приборе – электронной пушке.
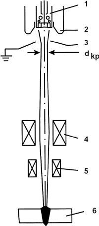
Электронная пушка (рис. 7, 8) представляет собой устройство, с помощью которого получают электронные пучки с малым диаметром пятна и высокой плотностью энергии в нем. Пушка имеет катод (1), который нагревается до рабочей температуры с помощью нагревателя. Катод размещен внутри прикатодного электрода (2). На некотором расстоянии от катода находится ускоряющий электрод (3) с отверстием – анод. Прикатодный и ускоряющий электроды имеют форму, обеспечивающую такое строение электрического поля между ними, которое фокусирует электроны в пучок диаметром dkp, равным диаметру отверстия в аноде. Положительный потенциал ускоряющего электрода может достигать нескольких десятков киловольт, поэтому электроны, эмитированные катодом, на пути к аноду приобретают значительную скорость и энергию.
После ускоряющего электрода электроны движутся равномерно. Электроны имеют одинаковый заряд, поэтому они отталкиваются друг от друга. Вследствие этого диаметр пучка увеличивается, а плотность энергии в пучке уменьшается.
Для увеличения плотности энергии в пучке после выхода электронов из анода их фокусируют магнитным полем в специальной магнитной линзе (4). Сфокусированный поток электронов, попадая на поверхность свариваемых кромок, тормозится. При этом кинетическая энергия превращается в теплоту, идущую на разогрев металла (6) при сварке. Для перемещения луча по поверхности свариваемого изделия на пути электронов помещают магнитную отклоняющую систему (5), позволяющую устанавливать электронный луч точно по линии стыка свариваемых кромок.

Рис. 7.
Схема устройства формирования электронного луча
Для обеспечения свободного движения электронов от катода к аноду и далее к изделию, для предотвращения «отравления» катода, а также для устранения возможности возникновения дугового разряда между электродами в камере электронно-лучевой установки создается высокий вакуум – примерно 10–4 мм рт. ст.
Движение электронов в вакууме не сопровождается световыми эффектами, и потому луч не виден, но место воздействия луча на свариваемый материал можно наблюдать по свечению металла за счет его разогрева.
Электронно-лучевая сварка позволяет сваривать тугоплавкие металлы, которые обычными методами не свариваются, например вольфрам, молибден, ниобий, тантал.
Высокая концентрация теплоты в пятне фокуса позволяет сверлить лучом такие материалы, как сапфир, рубин, алмаз, стекло.
Незначительная ширина зоны теплового воздействия дает возможность резко уменьшить деформацию заготовок. Кроме того, за счет вакуума в камере обеспечиваются зеркальная поверхность соединения и дегазация расплавленного металла.
Малый объем литого металла и кратковременность теплового воздействия обеспечивают незначительные термические деформации свариваемых деталей, что позволяет выполнять сварные швы вблизи металлокерамических и металлостеклянных спаев, чувствительных к термоударам.

Рис. 8.
Конструкция современной сварочной электронно-лучевой пушки:
1 – катод; 2 – управляющий электрод;
3 – анод; 4 – изолятор;
5 – фокусирующая линза.
Электронно-лучевые пушки можно разделить на типы:
• низковольтные пушки с ускорением электронов до энергии 20–30 кэВ;
• с промежуточным ускоряющим напряжением – 30–100 кэВ;
• высоковольтные пушки с энергией ускорения 100–200 кэВ.
Оборудование для ЭЛС:
• высоковольтный выпрямитель;
• стабилизатор ускоряющего напряжения;
• блок накала катода;
• модулятор;
• источник питания электромагнитных линз;
• электронно-лучевая пушка;
• вакуумная камера с вакуумной системой и люками загрузки;
• механизмы перемещения свариваемых деталей.
Преимущества ЭЛС:
• высокий к.п.д. установок ЭЛС, т. к. до 99 % кинетической энергии электронов, используемой для нагрева свариваемых деталей, переходит в тепловую энергию;
• температура в зоне сварки достигает 5000–6000 °C;
• при сварке электронным лучом теплота выделяется только в зоне сварки;
• за счет более интенсивного выделения теплоты в глубине зоны сварки получается кинжальное проплавление с отношением глубины к ширине до 20:1;
• высокая удельная мощность луча до 5–105 Вт/см2 и выше;
• фокусировка луча до диаметра 0,001 см;
• электронный луч используют для сварки, сверления, фрезерования практически любых современных материалов;
• широкий диапазон толщин заготовок (от 0,02 до 100 мм);
• высокая степень автоматизации сварочного процесса.
Недостатки ЭЛС:
• наличие специального оборудования требует подготовки высококвалифицированных кадров;
• наличие рентгеновского излучения при взаимодействии электронного луча со свариваемым материалом требует защиты оператора;
• высокая температура накала катода до 1700–2400 °C снижает срок службы катодов.
Плазменная сварка
Плазма (от греч. plasma, букв. – вылепленное, оформленное) – частично или полностью ионизированный газ, в котором плотности положительных и отрицательных зарядов практически одинаковы.
Термин «плазма» ввели в 1929 г. И. Ленгмюр и Л. Тонкс. Большой вклад в развитие учения о плазме внесли советские ученые – Л. Д. Ландау, А. А. Власов, А. Д. Сахаров, американские ученые И. Е. Тамм, Л. Спитцер.
Современные ученые выделяют плазму как четвертое состояние вещества, наряду с газом, жидкостью и твердыми телами. В состоянии плазмы находится большая часть вещества Вселенной – звезды, звездные атмосферы, межзвездная среда. Около Земли плазма существует в виде солнечного ветра, проявления которого мы наблюдаем в виде полярных сияний.
При сильном нагревании любое вещество испаряется, превращаясь в газ. Если увеличивать температуру и дальше, резко усилится процесс термической ионизации, т. е. молекулы газа начнут распадаться на составляющие их атомы, которые затем превратятся в ионы. Ионизация газа, кроме того, может быть вызвана его взаимодействием с электромагнитным излучением (фотоионизация) или бомбардировкой газа заряженными частицами.
Свободные заряженные частицы, особенно электроны, легко перемещаются под действием электрического поля. Поэтому в состоянии равновесия пространственные заряды входящих в состав плазмы отрицательных электронов и положительных ионов должны компенсировать друг друга так, чтобы полное поле внутри плазмы было равно нулю. Именно отсюда вытекает необходимость практически точного равенства плотностей электронов и ионов в плазме – ее квазинейтральности. Нарушение квазинейтральности плазмы в объеме, ею занимаемом, ведет к немедленному появлению сильных электрических полей пространственных зарядов, тут же восстанавливающих квазинейтральность.
Принято выделять два типа плазмы:
• низкотемпературная плазма с температурой внутри её ниже 105 К;
• высокотемпературная плазма с температурой выше 106–108 К.
На сегодняшний день плазму получают следующими способами:
• электрическим разрядом в газах (дуговой, искровой, тлеющий);