Сварка - Страница 3
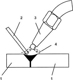
Рис. 1. Схема стадий образования соединения сваркой плавлением:
1 – сборка под сварку;
2 – образование сварочной ванны под воздействием теплоты;
3 – кристаллизация ванны с образованием сварного соединения;
4 – макроструктура зерен на границе шва.
Рассмотрим основные виды сварки плавлением.
Газовая сварка
Газовой сваркой называется сварка плавлением с использованием теплоты горючих газов.
Для плавления металлов используют тепло пламени смеси газов и кислорода, сжигаемых с помощью специальной горелки.
Газовая сварка классифицируется по виду применяемого горючего газа:
• ацетилено-кислородная сварка;
• керосино-кислородная сварка;
• бензино-кислородная сварка;
• пропанобутано-кислородная сварка.
Сущность процесса газовой сварки (см. схему газовой сварки, рис. 2) заключается в том, что свариваемый и присадочный металлы расплавляются за счет тепла пламени (4) горелки. При этом кромки свариваемых заготовок (1) расплавляются, а зазор между ними заполняется присадочным металлом (2), который вводят в пламя горелки (3) извне. В качестве горючих газов применяются природные газы, нефтяные газы, а также водород, ацетилен, пары керосина и бензина и др. Наибольшее распространение получили сварка с использованием ацетилена, паров бензина, паров керосина, пропанобутана.

Рис. 2.
Схема газовой сварки
В процессе сварки металл соприкасается с газами пламени, а вне пламени – с окружающей средой (воздухом) или специально созданной газовой средой. В результате металл подвергается значительным изменениям. Наибольшим изменениям подвергается металл, расположенный в зоне сварочной ванны. При этом изменяется содержание примесей и легирующих добавок в металле. Одновременно металл в зоне сварки обогащается кислородом, водородом, азотом, углеродом. Для предотвращения процессов окисления и извлечения из жидкого металла сварочной ванны окислов и неметаллических включений применяются флюсы.
Расплавленный металл сварочной ванны представляет сплав основного и присадочного металлов. По мере удаления пламени горелки металл кристаллизуется в остывающей части ванны. Закристаллизовавшийся металл сварочной ванны образует металл шва. Шов имеет структуру литого металла с вытянутыми укрупненными кристаллами, направленными к центру шва.
В настоящее время в промышленности из множества видов газопламенной обработки металлов наибольшее применение получили газовая сварка, газовая пайка, кислородная резка.
Газы, применяемые при газовой сварке, резке и пайке
Кислород (О2)
При нормальном атмосферном давлении и обычной температуре кислород представляет собой газ без запаха, цвета и вкуса. Он несколько тяжелее атмосферного воздуха. При нормальном атмосферном давлении и температуре 20 °C масса 1 м3 кислорода равна 1,33 кг. Горючие газы при сгорании с кислородом дают высокую температуру. Сам кислород не горюч, не токсичен, не взрывоопасен, но является сильнейшим окислителем, резко увеличивающим способность других веществ к горению, а при определенных условиях – к взрыву.
В земной атмосфере находится около 20 % кислорода. Поэтому кислород получают из атмосферного воздуха на специальных установках методом ректификации. Например, на кислородных станциях воздух очищают от пыли, влаги и углекислоты. Далее очищенный воздух сжимается компрессором до высокого давления и охлаждается в теплообменниках до сжиженного состояния. Жидкий воздух разделяют на кислород и азот. Процесс разделения происходит вследствие того, что температура кипения жидкого азота (–195,8 °C) ниже температуры кипения жидкого кислорода (–182,96 °C). Азот, являясь более легкокипящим, испаряется первым. С помощью кислородного компрессора чистый кислород подают под давлением 15 МПа (150 кгс/см2) в специальные кислородные баллоны. Полученный технический кислород должен соответствовать ГОСТу 5583–78. В зависимости от сорта содержание чистого кислорода колеблется от 99,5 до 99,7 %. Баллоны с кислородом окрашивают в синий цвет с черной надписью «кислород» и используют только для кислорода. Температурный диапазон использования сжатого кислорода от –50 до +30 °C. Запрещается хранение и транспортировка наполненных баллонов при температуре выше 60 °C.
Баллоны возвращают на заполнение с остаточным давлением не ниже 0,05 МПа (0,5 кгс/см2).
Водород (H2)
Газ без цвета и запаха. В смеси с кислородом водород образует взрывчатую смесь – гремучий газ. Водород требует строгого соблюдения правил техники безопасности, т. к. он способен проникать через мельчайшие поры, образовывая с воздухом взрывчатые смеси. Водород получают электролизом воды или в специальных водородных генераторах путем воздействия серной кислоты на железную стружку или цинк. Водород хранится и транспортируется в стальных баллонах при максимальном давлении 15 МПа (150 кгс/см2). Температура его сжижения –253 °C. При сгорании водорода пламя не светится, и его зоны не имеют четких границ.
Пиролизный газ
Пиролизный газ представляет собой смесь газообразных продуктов термического разложения нефти, нефтепродуктов или мазута. Содержит вредные сернистые соединения, которые вызывают коррозию мундштука горелки. Эта смесь пиролизного газа требует тщательной очистки от сернистых соединений.
Нефтяной газ
Нефтяной газ представляет собой смесь горючих газов, являющихся побочным продуктом нефтеперерабатывающих заводов. Его применяют для сварки, резки и пайки сталей толщиной до 3 мм, а также сварки цветных металлов.
Природный газ
Природный газ получают на газовых месторождениях. Природный газ состоит в основном из метана (до 82–93 %). Хранят и транспортируют в баллонах, в сжиженном виде. Для определения утечек в газ добавляют специальные ароматизаторы.
Пропанобутановая смесь
Пропанобутановую смесь получают при добыче и переработке естественных нефтяных газов и нефти. Хранят и транспортируют в сжиженном состоянии в баллонах емкостью 40 или 55 литров при давлении 1,6–1,7 МПа. Жидкой смесью наполняют только половину баллона, т. к. при нагреве смесь значительно расширяется, что может привести к взрыву.
Пропан и бутан тяжелее воздуха и имеют неприятный запах.
Керосин и бензин
При газопламенной обработке металлов керосин или бензин используют в виде паров.
Для этой цели в горелке или в резаке имеются специальные испарители, нагревающиеся от вспомогательного пламени или электрическим током.
Ацетилен
Ацетилен получил наибольшее распространение благодаря таким важным свойствам, как высокая теплотворная способность, высокая температура пламени. Ацетилен представляет собой химическое соединение углерода и водорода (С2Н2). Это бесцветный газ с характерным запахом из-за наличия примесей сероводорода, фтористого водорода и пр. Длительное вдыхание ацетилена вызывает тошноту, головокружение, иногда сильное общее отравление. Ацетилен легче воздуха. Ацетилен относят к взрывоопасным газам. Температура воспламенения лежит в пределах 240–630 °C и зависит от давления и присутствия различных примесей. Ацетилен взрывоопасен при давлении 0,145–0,16 МПа; при нагревании в диапазоне 240–630 °C и при наличии 2–80 % ацетилена в смеси с воздухом; при наличии 2–93 % ацетилена в смеси с кислородом.