Сварка - Страница 12

Рис. 19.
Схема холодной сварки с односторонним деформированием деталей:
1 – свариваемые детали; 2 – прижим;
3 – пуансон; 4 – основание.
Минимальная глубина вдавливания инструмента определяется свойством материала.
Холодная шовная сварка
Для холодной шовной сварки применяют специальные ролики. При этом способе сварки металл деформируется вдавливанием в него рабочих выступов вращающихся роликов (рис 20). Для сварки прямых листов непрерывные швы непригодны, т. к. уменьшают сечение деталей и по этой линии может происходить излом. Поэтому такой способ используют для сварки кольцевых и продольных швов в замкнутых контурах.
Для различных металлов и их сплавов разработаны технологические приемы холодной шовной сварки. Например, для алюминия и его мягких сплавов рекомендованы следующие параметры:
• диаметр роликов – 50 S;
• ширина рабочего выступа ролика – (1–5) S;
• высота рабочего выступа ролика (0,8–0,9) S,
где S – толщина свариваемых деталей.
Для сварки алюминия и мягких сплавов толщиной 2+1,5 мм усилие, прилагаемое к роликам в рабочем режиме, равно 1,8 тс. Используют два типа шовной сварки:
• с односторонним деформированием металла;
• с двухсторонним деформированием металла.

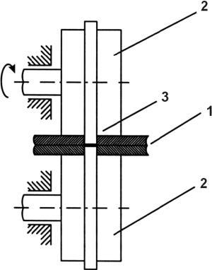
Рис. 20.
Схема холодной шовной сварки:
1 – свариваемые детали; 2 – ролики;
3 – рабочие выступы роликов
Холодная сварка встык
При этом способе сварки соединяемые детали закрепляют в специальных зажимах, расположенных соосно, а торцы свободных, выпущенных из зажимов концов деталей, примыкают один к другому. При осевой осадке выпущенные концы пластически деформируются, и в месте стыка образуется сварное соединение. Место сварки всегда имеет характерное утолщение по стыку. Величина свободных выпущенных концов зависит от свариваемых сечений и материала деталей.
Используют два типа зажимных устройств:
• с затрудненным истечением металла;
• со свободным истечением металла.
Схемы зажимных устройств показаны на рисунке 21.
Холодная сварка сейчас находит широкое применение благодаря простоте использования. Для соединения методом холодной сварки используют любые прессы (винтовые, гидравлические, рычажные, эксцентриковые и т. п.) как общепромышленного, так и специального назначения.
Достоинства холодной сварки:
• простота и доступность оборудования (например, любые прессы);
• низкая квалификация персонала;
• отсутствие вредных выделений при сварке;
• возможность сварки пластичных металлов без нагрева;
• высокая степень механизации процесса;
• малый расход энергии;
• высокая производительность.

Рис. 21.
Схема зажимов для стыковой холодной сварки:
1 – с затрудненным истечением металла;
2 – со свободным истечением
Недостатки холодной сварки:
• большие удельные давления;
• относительно малый диапазон толщин материалов при сварке (0,2–15 мм);
• невозможность сварки высокопрочных металлов.
Сварка взрывом
Сварку взрывом можно отнести к видам сварки с оплавлением, при кратковременном нагреве на воздухе, так как на отдельных участках наблюдаются зоны металла, нагретые до оплавления. Однако на других участках температура может быть невысока, и здесь процесс приближается к холодной сварке.
Большинство технологических схем сварки основано на использовании направленного (кумулятивного) взрыва.
На рисунке 22 приведена схема сварки взрывом. Соединяемые поверхности двух заготовок, одна из которых неподвижна и служит основанием, располагают под углом друг к другу на расстоянии h.
На заготовку (3) укладывают взрывчатое вещество (2) толщиной Н, а со стороны, находящейся над вершиной угла, устанавливают детонатор (1). Сваривают на жесткой опоре. Давление, возникающее при взрыве, сообщает импульс расположенной под зарядом пластине. Детонация взрывчатого вещества с выделением газов и теплоты происходит с большой скоростью (несколько тысяч метров в секунду).
В месте соударения метаемой пластины с основанием образуется угол γ, который перемещается вдоль соединяемых поверхностей. При соударении из вершины угла выдуваются тонкие поверхностные слои, оксидные пленки и другие загрязнения. Соударение пластин вызывает течение металла в их поверхностных слоях.
Поверхности сближаются до расстояния действия межатомных сил взаимодействия, и происходит схватывание по всей площади соединения. Продолжительность сварки взрывом не превышает нескольких микросекунд. Этого времени недостаточно для протекания диффузных процессов, сварные соединения не образуют промежуточных соединений между разнородными металлами и сплавами.
Прочность соединений, выполненных сваркой взрывом, выше прочности соединяемых материалов. Разрушение при испытании происходит на некотором расстоянии от плоскости соединения по наименее прочному металлу. Это объясняется упрочнением тонких слоев металла, прилегающих к соединенным поверхностям, при их пластической деформации.

Рис. 22.
Схема сварки взрывом:
1 – детонатор; 2 – взрывчатое вещество (ВВ);
3, 4 – соединяемые поверхности
Параметры сварки взрывом:
• скорость детонации – D;
• нормальная скорость метаемой пластины при соударении с основанием – Vн;
• угол встречи при соударении – γ.
Скорость детонации, определяемая типом взрывчатого вещества и толщиной его слоя, должна обеспечивать образование направленной (кумулятивной) струи без возникновения опасных для металла ударных волн.
Сварка взрывом как способ соединения металлов в твердой фазе была открыта в начале 60-х годов прошлого столетия одновременно в России и США.
Достоинства сварки взрывом:
• высокая скорость (несколько микросекунд) соединения;
• изготовление заготовок из разнородных металлов (биметалл);
• плакирование (покрытие слоем металла) поверхностей сталей металлами и сплавами с особыми физическими и химическими свойствами;
• возможность изготовления прямолинейных и криволинейных заготовок площадью от нескольких квадратных сантиметров до десятков квадратных метров;
• изготовление заготовок для штамповки и ковки;
• простота оборудования (собственно детали и заряд ВВ).
Недостатки сварки взрывом:
• защита персонала от детонационных волн при взрыве зарядов;
• обучение персонала работе со взрывчатыми веществами;
• изготовление специальных камер для сварки взрывом;
• невозможность механизации или автоматизации процесса.
Сварка трением
Сварка трением относится к процессам, в которых используется взаимное перемещение свариваемых поверхностей, давление и кратковременный нагрев. Сварка трением происходит в твердом состоянии при взаимном скольжении двух заготовок, сжатых силой Р. Работа, совершаемая силами трения при скольжении, превращается в теплоту, что приводит к интенсивному нагреву трущихся поверхностей. Таким образом, для сварки используется тепло, которое выделяется в стыке при трении двух поверхностей в результате преобразования механической энергии в тепловую. Трение поверхностей осуществляют вращением, возвратно-поступательным перемещением сжатых заготовок и колебательным перемещением одной из соединяемых деталей по отношению к другой.