Строим печи и камины - Страница 42
Однако, наряду с несомненными достоинствами, следует назвать также и ряд недостатков открытого расположения каминов. По сравнению с другими типами открытый камин занимает гораздо большую площадь в помещении. К тому же тем, кто решил построить такой камин в своем загородном доме, придется предпринять дополнительные меры противопожарной без опасности.
При выборе конструкции камина следует также правильно подобрать его размер в соответствии с площадью помещения (табл. 3и 4).


В зависимости от способа подачи тепла в помещение все камины можно подразделить на камины с чистым излучением (старогерманский) (рис. 82)и с излучением и дополнительным конвективным подогревом воздуха (рис. 83).

Рис. 82. Камин с чистым излучением (старогерманский): 1 – зольник; 2 – золовой канал; 3 – решетка топливника; 4 – заслонка; 5 – отверстие для чистки газохода

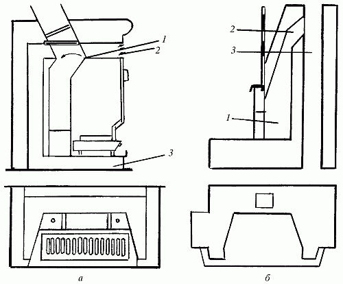
Рис. 83. Камины с подогревом воздуха: а – с калорифером: 1 – выход нагретого воздуха; 2 – дымовая заслонка; 3 – решетка; 4 – вход холодного воздуха; б – с каналом для нагрева приточного воздуха: 1 – выход нагретого воздуха; 2 – вход холодного воздуха
В каминах первого типа эффект излучения усиливается за счет установки задней и боковых стенок под наклоном. Кроме того, чтобы увеличить излучение, применяют так называемые зеркальные отражатели – листы нержавеющей стали, которыми закрывают наклонные стенки.
В каминах второго типа боковые и задняя стенки выполняются двойными. Воздух в них нагревается за счет естественной циркуляции (конвекции) во внутреннем кожухе.
С целью повышения обогревательной способности разработаны комбинированные конструкции, состоящие из обычного радиационного камина и отопительной печи. Возможно также сочетание камина с водяным отоплением. Для этого на задней стенке топки устанавливают водяные нагревательные элементы (радиаторы), по которым циркулирует вода из системы отопления. Такая конструкция предусматривает наличие в топке камина колосниковой решетки, на которой сжигается топливо.
Как уже указывалось выше, камины с чистым излучением обладают небольшим тепловым КПД. Для повышения теплопроизводительности камина были разработаны конструкции с дополнительным нагревом приточного воздуха. В таком камине задняя и боковая стенки топочного пространства окружены полостью, которая на уровне пола комнаты имеет закрывающиеся жалюзи – отверстия для забора воздуха. Входящий в них воздух направляется в наиболее нагретые участки топочного пространства, откуда, уже теплый, поступает в помещение через выпускное отверстие, устроенное в верхней части кожуха. Эту полость рекомендуется изготавливать в виде короба из стального листа с присоединительными элементами для входного и выходного воздушных отверстий (рис. 83, б).
Однако описанная конструкция имеет серьезный недостаток: при соприкосновении нагреваемого воздуха с раскаленной кладкой содержащаяся в нем пыль пригорает к ее поверхности. Поэтому отопление лучше проводить не циркуляционным, а приточным атмосферным воздухом.
В Великобритании, где широкое распространение получили камины с воздушным обогревом, специалисты провели исследования по сравнению эффективности каминов обычной конструкции и с дополнительным воздушным подогревом. В ходе исследований было установлено, что в обычных каминах используется всего лишь 15–18% теплоты, выделяемой сожженным топливом, а в каминах с воздушным подогревом этот показатель увеличивается в среднем в 2 раза и достигает 36%, причем примерно третья часть от этого количества передается за счет циркуляции воздуха.
В конструкциях с воздушным подогревом нередко отсутствует дымовой карниз, а топочное пространство пирамидально уменьшено до соединения с расположенной над ним дымовой трубой. При этом создается некоторая опасность задувания топочных газов в помещение.
На рис. 84изображены камины с боковым расположением дымового канала, при котором уменьшается опасность опрокидывания тяги в камине и задувания газов в отапливаемое помещение (рис. 84, б).

Рис. 84. Камины с боковым расположением дымового канала: а – угольный: 1 – перекидной клапан; 2 – выход нагретого воздуха; 3 – вход холодного воздуха; б – дровяной: 1 – камин; 2 – соединительный газоход; 3 – дымоход
Помимо обычного камина, который отапливается дровами, в Англии распространены камины для сжигания угля (рис. 84, а). Глубина топочного пространства такого камина составляет 25 см, ширина – 45 см, а высота – 70 см. Уголь сжигается в футерованной топке на колосниковой решетке, под которой находится коробка для золы. Ночью камин может работать на малом огне, с закрытой заслонкой приточного воздуха. Для уменьшения сквозняков конструкция камина предусматривает подачу в камин наружного атмосферного воздуха по каналу, проложенному под полом. Одна часть приточного воздуха через колосниковую решетку попадает в топочное пространство, а другая – в воздухонагревательные каналы. Поступление в камин воздушных потоков регулируется специальными жалюзи.
Устройство и эксплуатация каминов
Наибольшее распространение получили закрытые камины, встроенные в стену. Конструкция одного из них приведена на рис. 85. Камин состоит из декоративного обрамления, или портала, и топочного пространства (9), которое, в свою очередь, включает днище очага (4), заднюю (5) и боковую (6) стенки, дымовые коробки (7) и трубу (8).

Рис. 85. Камины с боковым расположением дымового канала:а – угольный: 1 – перекидной клапан; 2 – выход нагретого воздуха; 3 – вход холодного воздуха; 4 – днище очага; 5 – задняя стенка; 6 – боковая стенка; 7 – дымовая коробка; 8 – труба б – дровяной: 9 – топочное пространство
Площадку перед порталом выкладывают из огнеупорного или обычного красного кирпича с расшивкой швов. Ширина площадки, начиная от фронта портала, должна быть не менее 50 см, а с боков – перекрывать отверстие на 20 см и более. Площадка имеет не только противопожарное назначение, но и выполняет декоративную функцию, поэтому ее кромки можно обшить деревянными наличниками. Покрытие площадки железным листом уступает кирпичной кладке не только в эстетическом, но и противопожарном отношении. После завершения кладки внутренней конструкции и перед настилкой пола сооружают декоративный кожух портала.
Камин можно обрамлять строгими мраморными плитами, деревом с медными наличниками, обычным кирпичом, изразцовыми и керамическими плитками, грубо отесанным природным камнем. В последнее время получило распространение обрамление каминов кованым железом и анодированным металлом. Кожух определяет не только внешний вид камина, но также форму и размеры топочного отверстия.
Топочное отверстие имеет вид прямоугольника. Его высота равна 2 /3–3/4 ширины, причем меньшее значение относится к крупным каминам, а большее – к малогабаритным. Площадь отверстия должна составлять 1/45–1/65 площади помещения, а площадь отверстия быть в 8–15 раз больше площади сечения дымовой трубы.
Глубина топочного пространства не больше 1/2–2/3 высоты топочного отверстия. Если выложить топку большей глубины, значительная часть излучаемой теплоты будет поглощаться стенками топки, а значит, не попадет в помещение. Если же топка получится слишком мелкой, пламя камина будет чрезмерно охлаждаться, в результате чего качество сжигания топлива ухудшится и камин начнет дымить.