Строим баню - Страница 6
Раз уж речь зашла о печке-каменке, необходимо отметить, что многие любители попариться, следуя стародавнему обычаю, предпочитают топить печь дровами, при горении которых баня наполняется особым ароматом. Но, если вы не хотите, чтобы банный дух нес запах плесени и болота, то отнеситесь с должным вниманием к заготовке дров. От их качества и количества зависит, как будет натоплена баня и каким будет жар.
Наиболее подходящий вариант – дубовые дрова, причем использовать лучше дерево среднего возраста. Постарайтесь заготовить сухие и крепкие поленья. Только в этом случае баня будет наполнена запахом свежести и лесным ароматом.
Дуб – не единственное сырье, подходящее для растопки бани. Для этой цели подойдут и березовые дрова. Они хорошо горят и способны довольно долго хранить жар. Кроме того, людям, имеющим проблемы с органами дыхания, полезно вдыхать воздух, насыщенный ароматом березы. Использовать следует хорошо просушенные дрова, заготовленные в середине лета.
Не забывайте о том, что хранить березовые поленья желательно в сухом помещении не более двух лет.
Помимо дуба и березы, можно использовать дрова из ольхи, липы. Банный дух, пропитанный запахом ольхи и липы, считается целебным.
И еще один важный момент. Заготавливать поленья лучше летом, в самую жару. Только не берите стволы деревьев, лежащие на земле, т. к. они содержат вредные вещества, которые при горении выделяют ядовитый угарный газ.
Может случиться и такое, что не удалось заготовить поленья летом, а на дворе уже зима. Не отчаивайтесь – заготовку дров можно проводить и зимой. Рубить дрова лучше в сильный мороз, потому что в это время деревья не насыщены влагой. Чтобы выбрать нужное дерево, ударьте обухом топора по его стволу – если раздастся долгий и звонкий звук, это то, что вам надо.
Распиленные дрова можно хранить не только в сухом помещении, но и на открытом воздухе в тени.
Из-за нехватки леса часто прибегают к растопке бани углем. Это экономично, но вы не почувствуете приятного запаха сгорающих поленьев, и к тому же в парилке будет наблюдаться повышенная влажность. Зато жар от угля держится довольно долго.
Еще один совет: не пытайтесь, освобождаясь от старых, ненужных вещей и всяческого хлама (макулатуры и т. п.), топить ими баню, т. к. в этом случае воздух в парильне будет настолько токсичным, что о лечении и удовольствии придется забыть.
Проектирование бани
Наиболее простой вариант расположенной отдельно от жилого помещения бани – бревенчатая избушка, которая состоит из помещения, служащего одновременно раздевалкой и парилкой. Для его отопления используют дровяную печь или электрокамин, установленные в углу парилки. Три полки шириной по 60 см расположены ступенями друг над другом. Такой вариант бани требует наименьшего расхода строительных материалов, материальных затрат и топлива.
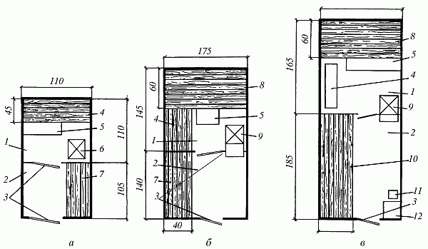
На рис. 2 представлены планы традиционных бань, состоящих из парной, моечной и раздевалки.

Рис. 2. Бани: а – баня для 1–2 человек с размещением сидя; б – баня для 2–3 че-ловек с размещением сидя и лежа; в – баня для 3–4 человек с размещением сидя и лежа; 1 – вешалка; 2 – предбанник; 3 – парная; 4 – моечная; 5 – скамья; 6 – полок; 7 – лежанка; 8 – двери; 9 – электропечь-каменка; 10 – стол; 11 – шкафы
Первый вариант (рис. 2, а) предназначен для одновременного мытья двух человек, но в парной может находиться только один из них. Для экономии места в такой бане скамейки лучше заменить на небольшие низкие табуретки.
В бане, представленной на следующем плане (рис. 2, б), могут одновременно мыться три человека. В парной двое из них могут забраться на верх-ний полок и разместиться там, поджав ноги. Отапливать такую баню лучше всего печкой-каменкой из моечной.
Самый комфортный вариант бани приведен на рис. 2, в. Расчет всех ее помещений произведен с учетом того, что человек на полках располагается лежа. Печку-каменку в такой бане рекомендуется разместить в предбаннике, чтобы топить ее, не заходя в моечную.
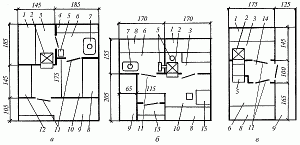
На рис. 3 представлены планы малогабаритных бань, в которых парная совмещена с моечной.

Рис. 3. Малогабаритные бани: а – баня для 1 человека; б – баня для 2 человек; в – баня для 3 человек; 1 – парная-моечная; 2 – предбанник; 3 – двери; 4 – полок для размещения сидя; 5 – подставка; 6 – электропечь-каменка; 7 – скамейка; 8 – полок-лежанка; 9 – печь-каменка для топки дровами; 10 – лежанка; 11 – стул; 12 – стол
Основным преимуществом таких бань является то, что они занимают в два раза меньше места, чем традиционные, а главным недостатком – невозможность создать высокую температуру и поддерживать низкую влажность воздуха. Поэтому при пользовании такой баней надо очень аккуратно мыться, стараясь не расплескивать воду. Кроме того, если в бане одновременно находится несколько человек, то сначала им лучше попариться, затем проветрить помещение и только после этого приступать к мытью.
Если вы собираетесь совмещать посещение бани с общением в кругу приятных вам людей, то ее полезная площадь должна быть не менее 12 м2, а парная и моечная разделены.
Так вам будет удобнее поддерживать разные температурные режимы в этих помещениях, когда одни будут париться, а другие мыться.
Полок в парной должен быть достаточно широким и длинным, чтобы на нем можно было не только сидеть, но и лежать.
Предлагаем вам приблизительные размеры бани, которая предназначена для одновременного посещения 2–3 человек:
– наружные размеры бани 4 х 4 м;
– парная 200 х 150 см;
– моечная 200 х 200 см;
– предбанник 150 х 240 см.
Если полезная площадь бани менее 2 м2, то она называется банной камерой или банным шкафом.
Естественно, что ни мини-бани, ни банные камеры не отличаются тем комфортом, который может предоставить баня, построенная на больших приусадебных участках с полезной площадью 14–16 м2.
На рис. 4 представлены три варианта таких бань.

Рис. 4. Бани с полезной площадью более 12 м2: а – баня с террасой; б – баня с террасой и крыльцом; в – баня с террасой и тамбуром; 1 – полок; 2 – печь-каменка; 3 – парная; 4 – скамейка; 5 – емкость для горячей воды; 6 – моечная; 7 – душевой поддон; 8 – лежанка; 9 – терраса; 10 – предбанник; 11 – двери; 12 – подставка; 13 – крыльцо; 14 – тамбур; 15 – стол
К бане на первом плане (рис. 4, а) пристроена удобная терраса с навесом, которую можно использовать как место отдыха. В предбаннике имеются лежанка и место для складирования дров, служащее одновременно подставкой для емкости с водой.
В бане на рис. 4, б вместо террасы – широкое крыльцо с навесом, на котором расположена удобная лежанка.
С помощью легкого приспособления высота лежанки меняется, и она может использоваться как для сидения или лежания, так и для выполнения некоторых хозяйственных работ в качестве верстака.
В просторном предбаннике, кроме лежанки, можно разместить небольшой стол и стулья. Из предбанника две двери ведут в парную и моечную, оборудованную душем.
На третьем плане (рис. 4, в) предбанник заменен террасой или верандой, а вход в парную и моечную осуществляется через тамбур, в котором находится печь-каменка.
Предлагаем вам еще один вариант бани для 5–6 человек (рис. 5), состо-ящей из парной, моечной, предбанника и открытой веранды. Печь-каменка, находящаяся в парной, совмещена с камином и отапливается из предбанника.

Рис. 5. Баня для 5–6 человек: 1 – терраса; 2 – окно; 3 – стол; 4 – лежанка; 5 – предбанник; 6 – печь-каменка; 7 – полок; 8 – отдушина; 9 – парная; 10 – душевой поддон; 11 – моечная; 12 – двери; 13 – камин; 14 – вешалка; 15 – подставка-скамейка; 16 – перила