Столярные и плотничные работы - Страница 61
Старинную мебель оклеивали раньше пиленым шпоном, который толще строганного. Поэтому если есть нужная порода строганного шпона, то под облицовку приклеивают вторую пластину из того же материала, которая служит выравнивающей прокладкой. Это возможно при небольших вставках, а если восстанавливается значительная поверхность, приходится самостоятельно изготавливать пиленый шпон. Отпиленные пластинки зачищают маленьким рубанком, закрепив шпон на ровной поверхности.
При реставрации маркетри (набора из кусочков шпона разных пород дерева) заменяют или восстанавливают отдельные участки вставками. Порядок выполнения работ здесь тот же, что и про облицовочных работах. Дефекты в этом случае аналогичны повреждениям поверхностей, облицованных шпоном: вмятины, отщепы, отслаивание, царапины.
Если имеет место порча покрытия, растрескивание, коробление и отслаивание больших участков набора, работу начинают с удаления лакового покрытия. Сложные дефекты в домашних условиях устранить невозможно, а небольшой объем работы реставратору-любителю вполне по силам. Он может скопировать необходимую вставку с соседнего фрагмента или определить размер утраченной детали по пустующему месту.
Крашение древесины подробно описано в соответствующей главе этой книги, но в старину мастера часто применяли и обжиг шпона в горячем песке. В современных условиях можно это выполнить с помощью газовой горелки, утюга, паяльника. Однако должный эффект получают только при обжиге в раскаленном до 150–200 °C песке. К тому же этот способ наиболее прост.
Заготовки шпона помещают в нагретый мелкий речной песок и выдерживают до появления желаемого цвета. Если требуется плавный переход тона, то заготовку располагают вертикально. При этом нижние, более прогретые, слои песка сильнее обожгут шпон, а выше получится плавный переход. Равномерную окраску получают при горизонтальном расположении заготовки в песке.
Следует учесть, что при дальнейшей работе заготовка будет шлифоваться, следовательно, произойдет частичное осветление поверхности.
Применяется обжиг при наборе орнамента, в котором присутствуют детали растительности, пейзажа. Этим достигается выразительность и объемность некоторых элементов.
Техники интарсии и инкрустации похожи, поэтому аналогичны и приемы их реставрации. Инкрустация – это украшение деревянной мебели вставками из других материалов: кости, перламутра, камней, металла. Пластинки из этих материалов врезаются в основу заподлицо с поверхностью изделия.
Интарсия выполняется с использованием древесины тех пород, которые отличаются от основного материала текстурой и цветом.
Если, например, предстоит реставрировать элемент мебели, инкрустированный костью, то работу начинают с удаления грязевых наслоений, дезинфекции и консервации. Затем заделывают выбоины, сколы, трещины и другие механические повреждения. После этого приступают к восстановлению декоративных частей поверхности. Гнезда, где первоначально размещались элементы из кости, очищают от грязи, пыли, старого клея. По размеру выемки изготавливают вставки, используя натуральный или искусственный материал. Старые покоробленные детали можно размягчить в крепкой уксусной или фосфорной кислоте, а потом выправить под прессом.
Готовую вставку приклеивают на отведенное место, удаляя излишки клея. Если элемент имеет незначительные размеры, то можно материал под кость не использовать. Достаточно зашпатлевать гнездо смесью разбавленного клея ПВА и алебастра. Изделия из кости часто гравировали. Но эту работу лучше выполнит художник-профессионал. Не имея способностей в этой области, не стоит браться за гравировку и другие художественные работы.
Приложение
В приложении рассматривается ряд вопросов, касающихся благоустройства участка загородного дома или дачи, от устройства заборов, калиток, ворот до оборудования беседок, павильонов.
Если есть желание проверить знания, почерпнутые из этой книги, и применить их на практике, здесь предлагаются варианты садовой мебели, начиная от самых простых до более сложных, в том числе с использованием нетрадиционных материалов для их изготовления.
Ограждения
Самая сложная часть любого ограждения – ворота и калитки.
Ворота – это широкий проход или проезд в ограде, стене и т. п., запираемый створами. Кроме того, этим же словом называются и сами створы, двери для запирания и открывания при проходе или проезде.
Естественное требование, которое предъявляется к воротам, – они должны быть долговечными, прочными и удобными для пользования. Конструкция ворот может быть самой разнообразной – двустворчатые распашные, одностворчатые откатные, телескопические подъемно-секционные с механизированным или ручным открыванием. Ворота с ручным открыванием снабжены противовесами и сбалансированы. Но последние два типа очень редко применяются в индивидуальном строительстве, поскольку представляют собой конструкции повышенной сложности. Наиболее часто используется конструкция двустворчатых распашных ворот.
Ворота можно сделать металлическими или деревянными. Оба типа показаны на рис. 153.

Рис. 153. Ворота на железобетонных столбах: а – с деревянной решеткой; б – с металлической сеткой.
Состоят ворота, как правило, из двух створок. Если они предназначены для въезда только легковых машин, общую ширину створок можно сделать 2,4–2,6 м, если же необходимо сделать въезд для грузовых машин, ширину нужно увеличить до 3,2–3,5 м. В этом случае можно предусмотреть вместо широких ворот съемную секцию ограждения.
Долговечность и надежность ворот зависит от качества выполнения фундаментов под опорные столбы. Фундаменты закладывают на глубину от 0,5 до 1 м. Свободное пространство между фундаментной кладкой и краями ямы необходимо засыпать щебнем, тщательно утрамбовать и забетонировать.
Створки ворот, как правило, открываются внутрь, во двор. Изнутри они оборудуются ограничителями и запорами, в качестве которых используют слеги, болты, щеколды и т. п. Самопроизвольное открывание ворот можно предотвратить применением пружинных фиксаторов. Наиболее простая схема такого затвора состоит из опорной стойки, защелки и пружины. Она показана на рис. 154.

Рис. 154. Ограничитель-фиксатор открытого положения ворот: 1 – стойка; 2 – защелка; 3 – рама створки.
Стойку можно сделать из деревянного бруска или металлической трубы с косой прорезью в верхней части, в которой закрепляют вращающуюся металлическую фасонную защелку. В открытом состоянии нижняя обвязка створок ворот фиксируется зубом защелки.
В закрытом положении створки ворот удерживаются с помощью ограничителя, установленного посередине въезда. Можно для этой же цели использовать и пару шпингалетов, закрепленных на нижней части каждой створки и входящих в дорожное покрытие, в котором устроены специальные гнезда.
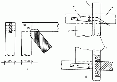
Каркас деревянных ворот изготавливают из брусков сечением 50 х 100 мм. Их соединяют сквозными шипами и укрепляют прямоугольную конструкцию диагональной укосиной, как это показано на рис. 155, а.

Рис. 155. Угловое соединение рамы деревянных ворот (а) и их навеска на железобетонные столбы (б): 1 – железобетонный столб; 2 – рама створки; 3 – амбарная петля; 4 – накладка; 5 – слега; 6 – гвозди.
Собранные на земле рамы навешивать на столбы нужно без обрешетки. К бетонным и металлическим столбам амбарные петли крепят через специальные деревянные накладки, в каменные столбы для этой цели вставляют деревянные пробки.
Когда рамы створок навешены, можно делать обрешетку. Ее выполняют из строганных досок, металлической сетки, асбестоцементных листов, штакетника в зависимости от вкуса хозяина и предназначения ворот.