Столярные и плотничные работы - Страница 10
Фиксирующие приспособления
Фиксирующие приспособления: хомуты, клинья, зажимы-струбцины, ваймы, прессы, тиски.
Зажимы необходимы при склеивании, стягивании и креплении деталей. Это достаточно большая группа приспособлений, которые используют в столярных и плотничных работах. В качестве зажимов выступают не только струбцины. Их металлическая конструкция не всегда пригодна для крепления деталей, так как зачастую оставляет следы на поверхности.
Для этих же целей довольно часто используют куски резины, веревки или деревянные бруски.
Рубящий инструмент
Топор в плотничном деле просто незаменим. Вспомните, какие чудеса творили старые мастера, используя только топор. Он намного проще молотка, но и здесь есть свои разновидности. Все зависит от угла расположения топорища. Зачастую лезвие затачивают с обеих сторон, что позволяет использовать его сразу для двух видов работ: рубки и тесания. Заточенный только с одной стороны топор используют для тесания древесины (рис. 20).

Рис. 20. Топор и принципы заточки.
Прямой топор используют для колки древесины. Рабочая часть относительно рукоятки должна быть расположена под углом 90°.
Остроугловой топор предназначен для первичной обработки древесины: удаления коры и выступающих сучков на стволе. Рабочая часть топора этого типа относительно рукоятки расположена под углом – 80–85°.
Тупоугловой топор имеет свои особенности. Его топорище расположено относительно рукоятки под углом 100° или чуть меньше. Такой топор используют для наиболее грубых работ, например для обработки целых бревен и рубке крупных деревянных массивов.
Пилящий инструмент
Что такое пила, известно всем. И тем не менее стоит сказать несколько слов о том, какие бывают пилы. Пила представляет собой металлическую ленту или металлический диск с нарезанными зубьями-резцами. Шагом пилы называют расстояние между вершинами двух соседних зубцов, а расстояние между вершиной зубца и его основанием называют высотой зубца. Для удаления образующихся во время пиления опилок на полотне предусмотрены впадины, которые называют пазухами. Каждый зубец имеет три режущие кромки – одну переднюю (короткую) и две боковые.
Зубья пил для продольной распиловки короткой режущей кромкой перерезают волокна, а боковыми разделяют волокна между собой по их направлению. Зубья этих пил имеют прямую заточку, могут пилить только в одну сторону и по форме напоминают треугольник.
Зубья пилы для поперечной распиловки короткой режущей кромкой разделяют волокна, а боковыми перерезают их. Зубья, напоминающие по форме равнобедренный треугольник, имеют двустороннюю заточку, поэтому ими можно пилить в обе стороны (рис. 21).

Рис. 21. Зубья пилы.
Ножовка тоже может помочь при работе с древесиной. От толщины полотна и разводки зубьев ножовки зависит качество отпиленной поверхности. При выполнении разных видов работ используют различные типы ножовок: ножовки с толстым или тонким полотном, с крупными или мелкими зубьями. Для столярных работ больше подходит ножовка с «мышиным» зубом – мелким и частым, а для плотничных – ножовка с редким и крупным зубом (рис. 22).

Рис. 22. Виды ножовок: а – поперечная широкая; б – узкая; в – с обушком; г – ножовка-наградка; д – двуручная поперечная пила.
Широкая ножовка (рис. 22, а) используется при распиле древесины поперек волокон. Зубья такой ножовки заточены под углом 45°, а разведены по 0,5 мм от центральной оси, широкая ножовка применяется для поперечного раскроя досок и брусков.
Узкая ножовка (рис. 22, б) используется преимущественно для распила тонких досок и сквозных пропилов, а также для криволинейной распиловки деталей. Размер разводки и способ заточки зубьев у такой ножовки ничем не отличается от затачивания широкой ножовки.
Ножовку с обушком (рис. 22, в) используют при выпиливании небольших деталей и при подгонке соединений. Особенность этой ножовки состоит в том, что полотно по всей длине укреплено дощечкой. Тонкое полотно этой ножовки не способно самостоятельно удерживать направление распила и зачастую ломается при работе.
Ножовка-наградка (рис. 22, г) используется для пропиливания пазов.
Поперечная двуручная пила (рис. 22, д) используется для поперечного распиливания круглого леса, брусьев, досок.
Лобзик применяют для выпиливания тонких деталей, имеющих криволинейные формы (рис. 23).

Рис. 23. Лобзик.
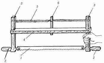
Лучковую пилу (рис. 24) применяют для распиливания древесных материалов. Пильное полотно этого инструмента с двух концов закреплено в станке (лучке) и натянуто, благодаря чему оно длиннее и тоньше, чем у ножовки. В процессе эксплуатации лучковой пилы ее полотно не гнется, пропил получается тоньше и чище, а следовательно, точнее будет размер заготовки. Эта пила позволяет совершать движения на полный размах руки, что намного сокращает затраты времени.

Рис. 24. Лучковая пила: 1 – пильное полотно; 2 – ручки; 3 – стойки; 4 – распорка; 5 – тетива; 6 – закрутка.
Электропилы служат для поперечного и продольного распиливания материалов, например досок и брусков. Кроме этого, ими можно производить пиление под определенным углом.
При изготовлении мебели, например, рекомендуют использовать электроножовки, в комплект которых входят различные сменные пилки, позволяющие распилить не только фанеру и дерево, но и современный листовой материал с покрытием.
Электроножовка справляется с такими материалами, как твердое дерево, гипсокартон, пластик и кирпич.
Дисковые и цепные электропилы значительно сокращают затраты времени на распиловку лесоматериалов, но для выполнения тонкой работы они не годятся. Широкое применение находят пилы следующих марок: ИЭ-5107, К-5М, ЭП-5КМ.
Для распиливания необтесанных бревен, кряжей нужны пилы марки ЭП-К6.
В качестве режущей части у таких пил выступает пильная цепь, которая состоит из зубьев, соединенных между собой шарнирами.
Работа с перечисленными пилами требует соблюдения правил техники безопасности:
1. При пилении во влажном помещении напряжение в сети не должно превышать 36 В.
2. Транспортировать пилу можно, только поместив ее в чехол.
3. После окончания работы пилу необходимо убрать в специально отведенное для нее место.
Работая электропилой, следует помнить, что это инструмент, который является источником повышенной опасности. Купив такую пилу, прежде всего внимательно изучите устройство и правила ее эксплуатации. Перед началом работы снимают втулку и заполняют смазкой сальник. Через каждые 25–30 часов работы смазку повторяют.
Ручная дисковая пила ИЭ-5107 имеет достаточно высокую частоту вращения диска – 2940 оборотов в минуту, – это обеспечивает электродвигатель мощностью 750 Вт, поэтому ею распиливают древесные материалы толщиной до 65 мм, а специальное приспособление позволяет менять угол наклона режущей части от 0 до 45°.
Эта пила имеет электродвигатель с однофазным коллектором и работает от обычной электросети с напряжением 220 В.
Перед работой проверяют правильность заточки и разведения зубьев пилы и прочность посадки диска на шпиндель. Диск не должен иметь трещин и повреждений. В целях проверки состояния редуктора слегка проворачивают диск. Если проворачивание диска происходит с затруднением, следует сделать более жидкой смазку. Этого можно достичь, включив на 1 минуту холостой ход инструмента.