Справочное пособие по цифровой электронике - Страница 23
Проверка. Для проверки пульсатора требуется блок питания с ограничением тока и логический пробник. Подключите провода питания пробника и пульсатора к блоку питания, соблюдая правильную полярность, а затем соедините их зонды коротким изолированным проводом с зажимами типа «крокодил».
Установите переключатель S1 на генерирование положительного импульса. Не касаясь кнопки S2, убедитесь, что выход пульсатора находится в высокоимпедансном состоянии, т. е, ни один из светодиодов пробника не светится. В противном случае отключите пульсатор, разберите его и вновь проверьте печатную плату.
При правильной работе пульсатора в статическом состоянии, нажмите кнопку S2 для генерирования импульса и одновременно наблюдайте за поведением светодиодов пробника. Пробник должен зафиксировать положительный импульс. Если импульс не наблюдается или пульсатор формирует на выходе неизменное напряжение низкого или высокого уровней, его придется разобрать и вновь тщательно проверить монтаж платы. Затем следует повторить предыдущую процедуру, но переключатель S1 установите при этом на генерирование отрицательного выходного импульса.
Компоненты. Резисторы (угольные, 0,25 Вт, 5 %): R1 = R2 = R3 = 10 кОм; R4 = R5 = R6 = 4,7 кОм; R7 = R8 =10 Ом; конденсаторы: С1 = 4700 пкФ; С2 = 0,47 мкФ (танталовый, 35 В); С3 = 10 мкФ (танталовый, 16 В); полупроводниковые приборы: IC1 — 555; D1 — 1 N4001; TR1, TR2 — 2N3703; TR3 — 2N3705.
Дополнительные детали: S1 — плоская клавишная кнопка, монтируемая на печатной плате; S2 — сверхминиатюрный скользящий двухполюсный переключатель на два положения; 8-контактное гнездо для микросхем; корпус пульсатора с размерами 140x30x20 мм, односторонние пистоны (3 шт.); часть платы Veroboard с размерами 95x63 мм.
Спецификации
Длительность выходного импульса, мс … 5,2
Полярность импульса … Положительная или отрицательная (задается)
Пиковый выходной ток (короткозамкнутая цепь), мА … ~ 200
Пиковый выходной ток (короткозамкнутая цепь), мА… >= 200
Напряжение питания, В … 4,5—15
Потребляемый средний ток, мА … =< 15
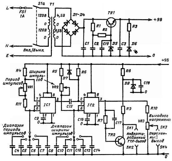
2.5. Генератор импульсов
Генератор формирует разнообразные импульсные сигналы, которые можно использовать с любыми цифровыми схемами. Период импульсов регулируется от 14 мкс до 1,4 с в пяти десятичных диапазонах, ширина импульсов варьируется от 7 мкс до 0,7 с также в пяти десятичных диапазонах. Генератор имеет два независимых выхода: сигнал на одном из них TTЛ-совместим (пиковый выход 5 В), а на другом амплитуда импульсов регулируется в диапазоне от 0 до 8 В и работает от сети 240 В. Он собран из дешевых недефицитных элементов. Монтируется генератор на стандартной плате Veroboard и в стандартном корпусе Verobox.
Описание схемы. Электрическая схема генератора импульсов приведена на рис. П2.8.

Рис. П2.8. Принципиальная электрическая схема генератора импульсов.
Сетевой трансформатор Т1 подает напряжение 9 В на мостовой выпрямитель D1—D4. На конденсаторе С1 образуется выходное постоянное напряжение, примерно равное 13 В. Транзистор TR1 действует в качестве простого последовательного стабилизатора. Стабилитрон D5 обеспечивает эталонное напряжение 10 В, а светодиод D6 сигнализирует о включенном питании.
Микросхема IC1 — это стандартный таймер 555, работающий в астабильном режиме. Потенциометр VR1 предназначается для регулировки частоты повторения импульсов, а с помощью переключателя S2 выбирается один из пяти времязадающих конденсаторов.
Выход IC1 (примерно симметричные прямоугольные импульсы) по дается па вход запуска микросхемы IC2 через формирующую цепочку С15, R6 и D7.
Второй таймер 555 (IC2) работает в моностабильном режиме, и длительность его выходных импульсов регулируется потенциометром VR2. С помощью переключателя S3 осуществляется декадный выбор времязадающего конденсатора. Выходной сигнал IC2, представляющий собой импульсную последовательность с регулируемым коэффициентом заполнения, подается на потенциометр VR3, определяющий амплитуду импульсов на выходе SK3. Транзистор TR2 инвертирует выходной сигнал таймера и формирует ТТЛ-совместимый сигнал на выходе SK1.
Монтаж и проверка. Все компоненты генератора, за исключением силового трансформатора, гнезда предохранителя и органов управления монтируются на стандартной плате (24 полоски с 37 отверстиями). Монтажная схема генератора на плате Veroboard показана на рис. П2.9.


Рис. П2.9. Монтажная схема генератора импульсов.
На плате необходимо сделать 15 разрывов. Рекомендуется следующая последовательность монтажа: гнезда, перемычки, конденсаторы, резисторы, мостовой выпрямитель и выходные пистоны. До окончательного закрепления платы проверьте размещение компонентов, перемычки и разрывы, убедитесь в правильной ориентации электролитических конденсаторов и мостового выпрямителя, а также в отсутствии замыканий печатных проводников из-за выплесков припоя.
После того как плата тщательно проверена, ее закрепляют в корпусе Verobox с помощью трех коротких изолирующих стоек. Затем можно вставить в гнезда микросхемы, соблюдая, конечно, их правильную ориентацию.
Органы управления, переключатели, индикаторы и выходные гнезда монтируются на лицевой панели в соответствии с рис. П2.10.


Рис. П2.10. Трафареты для разметки лицевой панели.
Такой рисунок можно вырезать и наклеить на лицевую панель. Соединения с компонентами, находящимися на лицевой панели, прокладываются короткими изолированными проводами согласно схеме, приведенной на рис. П2.11.

Рис. П2.11. Монтажная схема лицевом панели.
После сборки следует тщательно проверить внутренние соединения, обратив особое внимание на держатель предохранителя, силовой трансформатор и включатель сети. Затем включите сеть и мультиметром, настроенным на измерение постоянного напряжения, измерьте напряжения на конденсаторе С1, которое должно находиться в диапазоне от 11 до 13,5 В. Убедившись в наличии такого напряжения, нужно проверить выходное напряжение блока питания, для чего мультиметром измеряется напряжение на контакте 8 IC1 или 1С2. Обычно оно варьируется в диапазоне от 8,5 до 9,5 В. После этого с помощью логического пробника или осциллографа проверяется выход генератора.
Компоненты. Резисторы (угольные, 0,25 Вт, 5 %): R1 = R2 = 220 Ом; R3 = 680 Ом; R4 = 1 кОм; R5 = R11 = 10 кОм; R6 = 2,7 кОм; R7 = 3,9 кОм; R5 = 100 Ом; R9 = 150 Ом; R10 = 10 Ом; VR1 = VR2 = 100 кОм (потенциометр линейный, угольный); VR3 = 1 кОм (потенциометр линейный, проволочный).
Конденсаторы: С1 = 220 мкФ (электролитический, 25 В); С2 = С19 = 100 мкФ (электролитический, 16 В); С3 = 10 мкФ (электролитический, 16 В); С4 = 100 мкФ (электролитический, 25 В); С5 = 1 мкФ (полистироловый); С6 = С9 = С16 = 0,1 мкФ (полистироловый); С7 = С15 = 0,01 мкФ (полистироловый); C8 = 1000 пкФ (полистиролоный); С10 = 4 мкФ (электролитический, 25 В); С11 = 0,47 мкФ (полистироловый); С12 = 0,047 мкФ (полистироловый); С13 = 4700 пкФ (полистироловый); С14 = 470 пкФ (полистироловый); С17 = 820 пкФ (полистироловый); С18 = 1 мкФ (электролитический 16 В).