Справочное пособие по цифровой электронике - Страница 20
Важно также отметить, что платы ввода-вывода обычно имеют перемычки для выбора адресов и линий внимания запроса. Перемычки следует устанавливать таким образом, чтобы между платами не возникало «конфликтов». Перед заменой в системе вышедших из строя плат следует убедиться в правильной установке перемычек. Несоблюдение этого простого правила может стоить многочасовых усилий при выявлении неисправности.
Наконец, при диагностике неисправностей в сложных системах не забывайте об очевидных вещах. В любом случае прежде всего необходимо оценить состояние системы, руководствуясь нижеприведенными тестами.
1. Правильно ли работала система до возникновения неисправности или неисправность проявилась сразу же после включения системы?
2. Имеется ли журнал регистрации функционирования системы, не могут ли привести к неисправности плохое проектирование или дефектный элемент при изготовлении платы?
3. Если неисправность появилась недавно, в каком режиме работала система до ее возникновения?
4. Является ли неисправность постоянной или перемежающейся?
5. При каких обстоятельствах возникает перемежающаяся неисправность? Зависит ли она от температуры?
6. Можно ли предсказать, когда возникнет неисправность?
7. Если это так, можно ли воспроизвести такие условия, что неисправность будет постоянной?
8. Какие платы в системе работают правильно?
9. Можно ли локализовать неисправность до конкретной платы?
10. Задокументирована ли где-нибудь возникшая неисправность?
На все эти вопросы необходимо ответить прежде, чем приступать к измерениям и удалению подозрительных плат. Опытный исследователь осуществляет подобную оценку почти автоматически, а новичку мы советуем как можно скорее усвоить предложенный алгоритм.
Приложения
1. Справочные данные по микросхемам
























2. Самодельные приборы
Чтобы показать практическое применение цифровой электроники, в книгу включены описания нескольких самодельных приборов, дополняющие ее основной материал. Конструкции приборов выбраны максимально простыми, но, разумеется, не за счет ухудшения их эксплуатационных характеристик. Спецификации каждого прибора соответствуют промышленным образцам.
2.1. Инструменты и приборы
Перечень основных инструментов и приборов, необходимых для локализации неисправностей в цифровых схемах, невелик. Начнем с таких простых инструментов, как плоскогубцы, бокорезы и несколько четырехгранных и плоских отверток. Конечно, нужно покупать высококачественные инструменты, так как при аккуратном обращении они послужат очень долго.
Рекомендуется приобрести качественный низковольтный паяльник с терморегулятором и набором жал. Если такой паяльник для Вас дороговат, можно обойтись сетевым паяльником мощностью 15–25 Вт. При покупке обратите внимание на его комплектацию (запасные жала, нагревательные элементы и принадлежности). Целесообразно купить также ручное приспособление для выпайки микросхем. Оно очень удобно для выпайки многоконтактных микросхем на печатных платах с одно- или двухсторонним монтажом.
Самым необходимым для Вас прибором будет высококачественный аналоговый или цифровой мультиметр (тестер). С его помощью измеряют постоянное, переменное напряжение и ток, а также сопротивление. Выбор типа аналогового или цифрового прибора зависит от того, что Вам больше нравится. Желательно, но не обязательно, чтобы прибор позволял измерять целостность проводников, осуществлять проверки диодов, транзисторов и др.
По мере изложения дальнейшего материала мы назовем и несколько других инструментов и приборов. Но их не нужно покупать все сразу; пополняйте свой инструментарий по мере необходимости.
2.2. Стабилизированный блок питания
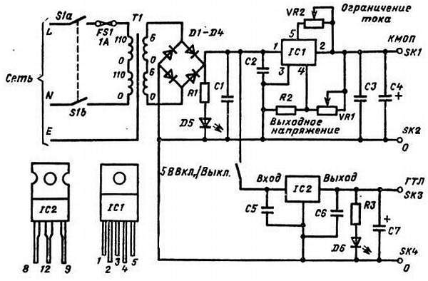
Начнем с конструирования стабилизированного блока питания, рассчитанного для цифровых устройств и имеющего отдельные выходы для питания КМОП- и TTЛ-схем. Первый выход регулируется в обычном для КМОП-схем диапазоне от 3 до 15 В, а второй формирует фиксированное напряжение 5 В. Оба выхода обеспечивают качественную стабилизацию, очень малое выходное сопротивление и почти свободны от пульсаций и помех.
Для защиты самого блока питания и подключенных к нему устройств блок должен оснащаться средствами ограничения тока. Поэтому на КМОП-выходе предусмотрено такое ограничение с регулировкой от 10 мА до 2 А. На ТТЛ-выходе имеется предохранитель на ток короткого замыкания около 750 мА. Блок питания состоит из дешевых компонентов и монтируется в стандартном корпусе Verobox и плате Veroboard.
Описание схемы. Электрическая схема блока питания приведена на рис. П2.1.

Рис. П2.1. Принципиальная электрическая схема блока питания