Современные теплицы и парники - Страница 5

Рис. 26. Монтаж торцевых стен теплицы:
1 – коньковый прогон; 2 – шпрос крыши; 3 – карнизная шина, шпросовый прогон; 4 – ригель фронтона; 5 – шпрос боковой стены; 6 – ветровая связь; 7 – цоколь; 8 – цокольная шина
Монтаж торцевых стен
Монтаж задней стены начинается с изготовления и установки ригеля и Т-образного профиля фальца для стекла на наружных шпросах крыши из уголкового железа. Затем изготавливают и устанавливают ветровые связи из профиля и листовой стали. Также монтируется передняя стена, в передней стене находится дверной проем. Дверную коробку крепят к торцу выреза цоколя, скрепляют болтами со стойками из угловой стали, их в свою очередь крепят к шине цоколя и крайним шпросам крыши. Завершается монтаж установкой ригеля фронтона, ветровой связи, оставшихся шпросов.
Установка дверной коробки
Дверная рама состоит из уголковой стали и обеспечивает необходимую прочность. Надежнее было бы сварить профили, но болтовое соединение также достаточно устойчиво. Устойчивость достигается за счет полос жести, которые одновременно соединяют между собой боковые и верхний профили рамы.

Рис. 27. Установка конькового пролета:
1 – шпросовый ригель; 2 – коньковый прогон; 3 – шпрос крыши; 4 – карнизная шина, шпросовый прогон; 5 – ригель фронтона; 6 – шпрос боковой стены; 7 – ветровая связь; 8 – цоколь; 9 – цокольная шина; 10 – шпрос _торцевой стены; 11 – дверная коробка_
Дополнительные угольники от оконных переплетов предохраняют профили от перекосов. Петли или шарниры, замок – завершают монтаж двери. Между кромками стекла и жести прокладывают уплотнитель. Дверь уплотняют с помощью самоклеющегося уплотнителя из поролона или резины и приклеивают к дверной коробке.
Технология изготовления коробки и рамы для форточки
Коробка проектируется так, чтобы ее ширина соответствовала ширине стекла. Верхний профиль коробки изготавляют из уголковой стали, остальные стороны из уголкового профиля. Верхний профиль коробки задвигают под кожух конька. Боковые профили загибают и скрепляют с верхней и нижней сторонами коробки. Монтаж коробки для форточки заканчивается прикреплением шарниров и фиксатора для установочной планки. Рама форточки будет иметь прочность, если верхнюю и боковые части согнуть из одного куска Т-образного профиля.

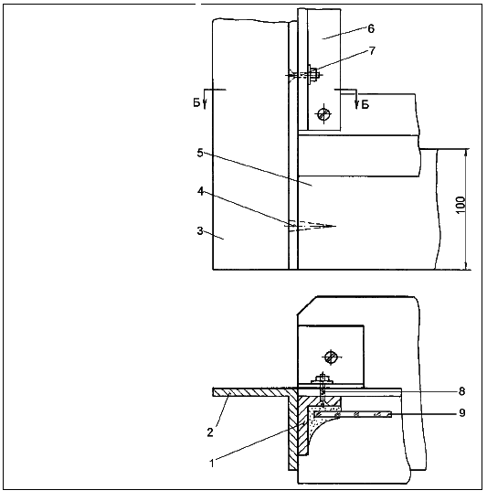
Рис. 28. Крепление дверной коробки к цоколю и стойке:
1 —стойка дверной коробки, Г-образный профиль 20x30x 4 мм; 2 – дверная коробка, Г-образный профиль 40x 4 мм; 3 – дверная коробка подгоняется к поверхности земли; 4 – шуруп 6x40 мм с дюбелем; 5 – цоколь; 6 – показано без стекла; 7 – болт с потайной головкой М6х15; 8 – болт с потайной головкой М6х20; 9 – стекло на замазке
Соединения выполняют болтами нижней части из уголковой стали, для установочной планки монтируется опора.
Возможности изменения конструкции теплиц
Устанавливать нужно на постоянный фундамент с цоколем. Высота цоколя 10 см над поверхностью земли. Цоколь не ухудшает освещенность теплицы, в тоже время металлические детали конструкции отдаляются от земли, снижается опасность коррозии. В дверном проеме цоколь прерывается, чтобы обеспечить свободный проход в теплицу. Каркас теплиц состоит из имеющихся в продаже стальных профилей соединяющихся между собой болтами.

Рис. 29. Проект двери теплицы:
1 – 2-миллиметровая сталь на замазке; 2 – стекло; 3 – рама двери, Г-образный профиль 40x4 мм; 4 – врезной замок, оконная завертка и т. д.; 5 – стекло на замазке; 6 – пластмассовый профиль; 7 – стекло; 8 – листовая сталь; 9 – болт с потайной головкой М 6x10; 10 – углы скрепляются оконными угольниками; 11 – петля или шарнир

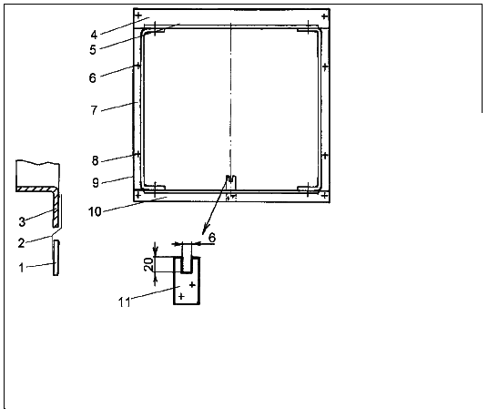
Рис. 30. Технология изготовления коробки для форточки в крыше и стене:
1 – стекло; 2 – вложенная полоска жести; 3 – профиль рамы; 4 – Г– образный профиль 60x30x3 мм, обработанный; 5 – шарнир для форточки; 6 – болт с потайной головкой М6x10; 7 – Г – образный профиль 30x3 мм, концы обработаны и согнуты; 8 – болт с потайной головкой М6x15; 9 – коробка кладется на замазку и скрепляется со шпросами болтами; 10 – Г– образный профиль 30x3 мм, обработанный; 11 – фиксатор, профиль 30x5 мм, длина 60 мм

Рис. 31. Технология изготовления рамы форточки:
1 – шарнир; 2 – форточка, Т-образный профиль 40x20x4 мм, углы обработаны, рама согнута из одного куска профиля; 3 – стекло на замазке, штапики, упоры; 4 – болт с потайной головкой M6x 10; 5 – Г-образный профиль 40x20x3 мм; 6 – стекло на замазке; 7 – Т-образный профиль 40x20x4 мм; 8 – самоклеющийся уплотнитель; 9 – изображено без стекла; 10 – Г-образный профиль 25x4 мм, длина 30 см; 11– болт с шестигранной головкой M6x30 с шайбой, гайкой и контрагайкой; 12 – установочная планка, профиль 30x5 мм, изображена в укороченном виде; 13 – несколько зарубок; 14 – болт с потайной головкой M4x12; 15 – профиль 40x20x3 мм; 16 – стекло
Болты оцинкованы и снабжены шайбой с гайкой. В основном используются болты М6 с шестигранными и потайными головками, или болты с плоскими шестигранными головками. Отдельные отверстия в соединяемых деталях просверливают вместе, чтобы добиться их совместимости. Стальная конструкция может быть сварной. Сварная конструкция экономит время, труд, материал. Стальные конструкции можно полностью или частично заменить алюминиевым сплавом.

Рис. 32. Цокольная шина
В целях экономии энергии в зимних теплицах, покрытие должно состоять из полых плит с внутренними ребрами жесткости.
Способы ускорения постройки
Облегчить и ускорить сооружение теплицы могут готовые оцинкованые двери, форточки, торцевые стенки, шпросы и другие мелкие детали. При использовании полых плит необходимо установить межцентровые расстояния между шпросами крыши и стенок. Торцы плит плотно закрываются с помощью уплотняющих профилей, самоклеющейся ленты, алюминиевой фольги. Чтобы сохранить тепло в теплице зимой, необходима замазка щелей. Очень удобна замазка, наносимая шприцем, которая обеспечивает свободное тепловое расширение стенок и металлических конструкций.

Рис. 33. Полые плиты с внутренними ребрами жесткости:
1 – нижний алюминиевый профиль, шпрос 16; 2 – нащельная планка из ПВХ; 3 – нижний алюминиевый профиль, крайний шпрос 16
Для надежной фиксации стекла применяются штапики, упоры, зажимы. Вставлять стекла желательно целые, такие стекла обеспечивают необходимую герметичность.

Рис. 35. S – образные крючки для фиксации стекол, установленных внахлест

Рис. 34. Карнизная шина, выполненная как одно целое с приемным желобом для конденсации влаги