Современные подвалы, подполы и погреба - Страница 10
• поскольку под полом находилось только подполье и лаги под досками опирались на кирпичные столбики, теперь предстоит решить вопрос с ними. Если предполагается достаточно глубокий подвал, то потребуется установить опорные столбы. С этой ролью прекрасно справятся двутавровые балки или швеллер, которые, чтобы не занимать полезную площадь подвала, расположите вдоль стен. На них положите двутавр, который и станет опорой для лаг;
• столбы обязательно должны быть заглублены не менее чем на 60 см, стоять на армированных подушках (их площадь должна быть приблизительно 50 см2) и забетонированы. Такая предусмотрительность необходима для того, чтобы увеличить площадь опоры под столбами и одновременно уменьшить удельную нагрузку на грунт;
• определенные трудности возникнут с вывозом грунта, для чего потребуются строительные тележки (можно воспользоваться и ведрами, но, учитывая объем работ, это потребует много сил и времени) и специально изготовленные трапы, если на пути будут встречаться лестницы;
• в остальном работы не отличаются от описанных выше.
Таким образом, никогда не поздно изменить принятые решения, особенно если вами движет цель повысить комфортность жилища.
При всех различиях технологий все они имеют один существенный недостаток – пресловутый человеческий фактор. Отсутствие тщательного соблюдения всех правил и требований, нарушения режима строительства – все это в итоге может обернуться негерметичными стыками между стенами и полом подвала и стать причиной подтопления подвального помещения. Поэтому, если дом и соответственно подвал будут сооружаться с привлечением других лиц, необходимо обратить внимание на их квалификацию (сезонные рабочие из разряда гастарбайтеров часто ее не имеют) и обязательно контролировать весь процесс.
Осваиваем пространство ниже нулевой отметки
В соответствии с температурными условиями, которые сложатся при выполнении оклеечной гидроизоляции и эксплуатации помещения, подбираются и марки битумов. Их температура должна быть примерно на 25 °C выше температуры окружающего воздуха. В противном случае гидроизоляционный ковер может сползти, что негативно скажется на его водонепроницаемости.
Заложение фундамента
Чтобы дом стоял прочно и надежно, грунт должен быть плотным, однородным, не склонным к пучению, отличающимся наименьшей просадочностью. Благодаря этому фундамент и стены под воздействием как собственного веса, так и нагрузок осядут равномерно, т. е. дом не покроется трещинами или один из углов не деформируется больше остальных.
В зимний период в различных природно-климатических зонах России грунты промерзают, причем на разную глубину, в результате чего некоторые из них (лессовые, глинистые, супесчаные, а также пылеватые песчаные) вспучиваются. Под воздействием веса построенного дома пучинистые грунты оседают, что приводит к нарушению всей конструкции. При строительстве в таких условиях необходимо заранее принимать соответствующие меры: закладывать фундамент ниже глубины промерзания грунта; укреплять грунт путем устройства песчаного слоя, введения битума или цемента; проводить мелиоративные работы для отведения поверхностных вод; предотвращать неравномерное увлажнение грунта, проникновение в котлован дождевых вод и т. д.
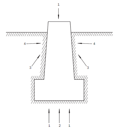
Для российского Нечерноземья пучинистые грунты характерны в большей степени, чем непучинистые (среди последних конгломераты и скальные породы, а также пески – гравелистые, крупно– и среднезернистые). Поэтому при расчете фундамента, выборе его конструкции и при закладке необходимо учитывать силы, которые на него воздействуют (рис. 13).

Рис. 13. Направление сил, воздействующих на фундамент в грунтах, подверженных морозному пучению: 1 – сила грунтовых вод; 2 – сила морозного пучения; 3, 4 – силы морозного пучения, воздействующие на боковые поверхности фундамента по касательной
По глубине заложения различаются фундаменты незаглубленные (лежат на поверхности земли), мелкозаглубленные (основание находится выше глубины промерзания), заглубленные (заложенные ниже глубины промерзания) (рис. 14).

Рис. 14. Типы фундаментов: а – заглубленный; б – мелкозаглубленный; в – незаглубленный
При незаглубленном фундаменте возможно устройство подполья. В отличие от него при мелкозаглубленном фундаменте заложение подвала не воспрещается, но он не может занимать площадь под всем домом, т. е. будет иметь ограниченные размеры. При этом между глубиной подвала Н и длиной уступа, обозначенной на рис. 15 буквой L, должно быть не менее 1:2. Соблюдение этого требования обязательно, поскольку в противном случае может случиться так, что давление фундамента на грунт передастся на стенку подвала и вызовет ее разрушение либо фундамент просядет в зоне, наиболее приближенной к подвалу.

Рис. 15. Устройство подвала при мелкозаглубленном фундаменте
Пучинистый грунт – это еще не приговор. Если в нем по всем правилам заложить заглубленный фундамент, то ему не страшны никакие деформации. Существуют три типа заглубленного фундамента: столбчатый, столбчато-ленточный и ленточный с подвалом или без него. Подвальное помещение является разновидностью заглубленного фундамента. Несмотря на то что подвал имеет ряд несомненных преимуществ, не каждый застройщик включает его в свой проект, поскольку себестоимость работ достаточно высока, да и трудностей немало как при строительстве, так и при эксплуатации.
Относительно глубины заложения фундамента следует сказать, что она зависит от глубины промерзания грунта, характера и структуры грунта, расчетной нагрузки, уровня грунтовых вод, если таковые имеются (оптимальное время для этого – весна или осень, когда идут дожди; о глубине залегания грунтовых вод можно судить по уровню воды в отрытых шурфах или колодце, если он есть на участке) и т. д. Если они располагаются близко к поверхности земли, то фундамент подвергается воздействию сил морозного пучения, действующих снизу вверх. В грунтах, склонных к перенасыщению влагой, они достигают 6-10 т/м2, что почти всегда больше тех сил, которые возникают под весом собственно конструкции здания и направлены сверху вниз.
Осваиваем пространство ниже нулевой отметки
Основанием для рулонной гидроизоляции служит монолитная стяжка, выполненная или из цементно-песчаного раствора М50-100, или из асфальтобетона. Мастика должна наноситься на огрунтованную поверхность сплошным слоем (пропуски недопустимы). При этом горячие мастики покрывают основание перед укладкой материала, а холодные наносятся заранее.
В результате наблюдается смещение грунта, которое при промерзании на 100–150 см может составлять 10–15 см. Отсюда трещины на стенах, перекошенные крыльцо или веранда. Если на вашем участке складывается именно такая ситуация, то желательно, минуя водоносный слой, заложить фундамент на следующем, более прочном основании. Разумеется, это потребует проведения серьезных гидроизоляционных мероприятий, иначе ваш подвал будет заливаться водой и станет непригоден для использования. Кроме того, для нейтрализации или хотя бы уменьшения касательных сил при закладке фундамента можно прибегнуть к таким мерам, как устройство у него наклонных стен; обработка их составами, не допускающими смерзания с грунтом; вертикальное армирование, благодаря которому верхние и нижние части фундамента оказываются связанными; утепление отмостки; дренаж.