Современные лоджии, балконы и окна - Страница 28





Рис. 44. Настилка штучного паркета в «елку» без фриза на гвоздях:
1 – укладка маячной «елки»; 2 – посадка клепки ударами молотка по продольной кромке; 3 – посадка клепки ударами молотка по торцевой клепке; 4 – забивка гвоздя в клепку; 5 – утапливание шляпки в паз клепки с помощью добойника
Укладку паркета начинают с разбивки площади пола, как это было рассказано раньше. Направление маячной «елки» фиксируют шнуром. Шнур должен проходить по краю планок с одной стороны «елки». Гвозди для шнура забивают на такую глубину, при которой натянутый под шляпками гвоздей шнур находился бы на высоте, равной толщине паркета. Затем приступают к укладке маячной «елки», а затем рядового паркета на всей площади помещения.
При настилке паркетчик стоит на одном колене и работает лицом по ходу настилки. Укладываемые в ряды паркетные клепки сплачивают ударами молотка со скошенным обушком сначала по продольной кромке, а потом по торцевой (рис. 44-2, 3).
После сплачивания каждую планку прибивают к основанию гвоздями, забиваемыми по одному в торцовый паз и по два-три – в продольный. Три гвоздя забивают в пазы планок длиной более 300 мм. Гвозди забивают тем же молотком-косяком (рис. 44-4), повернув его тупой, нескошенной стороной. Гвоздь ставят в паз наклонно, и первым ударом молотка «наживляют» его в нужном положении, а затем вторым, сильным ударом загоняют до шляпки. После этого, поставив на гвоздь добойник (рис. 44-5), третьим ударом утапливают шляпку гвоздя. Последний к фризу или к стене ряд «елки» пробивают гвоздями только в продольных направлениях. Линию обреза отбивают шнуром, натянутым на расстоянии от стены, равном ширине фриза с линейкой и жилкой плюс зазор 15–20 мм. Планки обрезают электропилой.
Внимание
Настилка паркета в косую «елку» – это способ укладки, при котором маячная «елка» располагается по диагонали. Преимущество этого метода – возможность использовать разномерный паркет на доборы у стен, а также то, что паркетные планки обрезаются только под прямым углом. Единственным недостатком этого способа настилки является сложность механической циклевки готового пола, так как машина, проходя через планку поперек направления волокон, может испортить паркет.


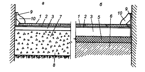
Рис. 45. Конструкции полов из штучного паркета:
а – по грунту; б – по железобетонному перекрытию: 1 – штучный паркет; 2 – прослойка из холодной мастики на водостойких вяжущих; 3 – цементно-песчаная стяжка; 4 – стяжка из литого асфальтобетона; 5 – звукоизоляционный слой; 6 – плита перекрытия; 7 – бетонный подстилающий слой; 8 – грунт основания; 9 – звукоизоляционная подкладка; 10 – галтель
Настилку фриза начинают с угла так, чтобы стена находилась от паркетчика слева и не стесняла движения его правой руки. Сначала укладывают планки линейки фриза. Шпунтованной стороной они должны быть обращены к крайнему ряду покрытия, а гребнем – к стене. Каждую планку линейки прибивают двумя гвоздями по продольной кромке и одним с торца. Затем настилают сам фриз, сажая планки торцевым пазом на гребень линейки и прибивая их гвоздями. В углах паркетные планки стыкуют «на ус». Для удобства посадки фризового паркета на гребень линейки пользуются специальным «жимком».
На заметку
Жимок – это приспособление из обычной паркетной планки, у которой торцевая сторона срезана на фаску, служит для удобства фризового паркета на гребень линейки.
При настилке паркетного пола без фриза половинки и косяки планок для рядов, примыкающих к стенам, должны быть нарезаны заранее в соответствии с произведенной разбивкой.
Между паркетным покрытием и стенами или перегородками обязательно оставляют зазор 15–20 мм, закрываемый впоследствии плинтусом.
Настилка штучного паркета на мастиках
Штучный паркет на битумных мастиках чаще всего настилают по стяжкам. Стяжку очищают от грязи и раствора металлическими скребками, пыль и мусор выметают. После этого проверяют ровность и горизонтальность стяжки.
Прочные бетонные и цементно-песчаные стяжки, но имеющие выбоины или трещины, ремонтируют цементным раствором. Стяжки из литого асфальта выравнивают асфальтовыми смесями. Иногда для укрепления стяжки наклеивают на горячей битумной мастике сплошной слой твердых древесно-волокнистых плит толщиной 4 мм (рис. 45).
Бесфризовую настилку полов можно вести в помещении при температуре не ниже 8 °C и относительной влажности не выше 60 %. Рисунок укладки паркета предусматривается проектом. Наиболее распространенный рисунок укладки – «в елку» набирают из правых и левых планок. Настилку начинают с составления плана работы для каждого помещения. Длина планок зависит от ширины помещения. Сначала поперек комнаты насухо выкладывают змейку из паркета. Каждая планка змейки соответствует ряду паркета. При ширине планок до 40 мм стандартные галтели или плинтусы перекроют пристенные зазоры, а при ширине планок более 40 мм в рядах, примыкающих к продольным стенам, приходится обрезать торцы планок под углом 45°. Если при раскладке змейки из паркета шириной более 40 мм получилось целое нечетное число рядов, то змейку сдвигают на половину длины планки, одну планку распиливают пополам под углом 45°. Оба крайних ряда набирают из этих половинок.
Внимание
Настилку паркета на холодных мастиках можно начинать с середины пола, но лучше от стены, наиболее удаленной от входа, чтобы не ходить по свежеуложенному паркету. Если настилка ведется от стены, то концы планок пристенного ряда предварительно обрезают под углом 45°. Первый ряд планок укладывают строго под углом 45° с отступом от стены на 1,5–2 см.






Рис. 46. Настилка паркета на мастике:
1 – сборка первого звена маячного ряда насухо; 2 – нанесение мастики на основание из древесно-волокнистой плиты; 3 – разравнивание мастики; 4 – переноска первого собранного звена и укладка его на мастику у стены в углу; 5 – настилка паркета в «елку»; 6 – укладка первого ряда паркета у стены
Укладывать паркет на горячую мастику следует немедленно после ее нанесения, так как, охлаждаясь на стяжке, она густеет, твердеет и передвигать по ней планки становится трудно. Поэтому наносить мастику следует небольшими полосами.
Первое звено маячной «елки» из пяти-шести планок собирают предварительно насухо (рис. 46-1), а затем переносят на мастику. После этого натягивают у стены шнур и подготавливают первый, или пристенный, ряд планок. Мастику хорошо перемешивают, наливают тонкой струей вдоль стены (рис. 46-2), разравнивают гребенкой слоем 1–1,5 мм полосой, несколько большей ширины, чем ширина укладываемой маячной елки (рис. 46-3).
Первое собранное насухо звено планок переносят в угол и укладывают на мастику так, чтобы пристенные планки находились на расстоянии 1,5-27 см от стены (рис. 46-4, 5). Уложив первое звено, приступают к последующей настилке, т. е. продолжают маячную елку, укладывая ее точно по шнуру и сплачивая планки ударами молотка (рис. 46-6). Выполнив маячный ряд, продолжают настилку рядового покрытия в указанном порядке.