Современные лоджии, балконы и окна - Страница 13
Своим современным дизайном и высокой функциональностью окна фирмы «БРААС-ДСК-1» являются оригинальным решением освещения и комфортабельного обустройства чердачных помещений. Они дают не только возможность освещения значительных площадей, но их светлые, изящные оконные профили обеспечены удобной системой маневрирования при помощи удобно расположенной внизу длинной ручки.
Мансардные окна «БРААС-ДСК-1» поставляются с интегрированными в конструкцию стыкующими элементами и поэтому при монтаже не требуют много времени и больших расходов. Окна «БРААС-ДСК-1» оснащены оригинальными энергосберегающими стеклами, что также приводит к значительной экономии средств.


Рис. 17. Окна «Браас-ДСК-1» (BRAAS)
Особым комфортом отличаются окна «БРААС-ДСК-1-Ателье». Своеобразная система подъема и задвижки окна обеспечивает не только комфорт и высокий уровень освещенности, но и максимальный поток света и воздуха, а также обзор во весь рост через открытое окно. Ни одно другое окно не имеет такой возможности открываться вверх и одновременно сдвигаться в сторону – влево или вправо. Эта конструкция окна позволяет без труда принимать солнечные ванны. При варианте «Ателье-Дуэт» под окном встраивается дополнительная, жестко закрепленная фрамуга, с целью еще более полного обзора.
Неподвижная и подвижная части оконного блока выполнены из коэкструдированных профилей из акрилового ПВХ в сборе с внутренними металлическими элементами для повышения жесткости, что общей конструкции придает повышенную устойчивость к влажности, климатическим воздействиям и делает ее удобной при очистке. Благодаря желобку для сбора конденсата, данный тип окон идеален для помещений с повышенной влажностью как, например, ванная или кухня.
Подъемно-качающиеся окна «Классик» также соответствуют самым высоким требованиям к функциональному конструкторскому решению и дизайну. Фрамуга окна открывается не во внутрь комнаты, что позволяет свободно подойти к открытому окну.
Качающееся окно «БРААС-ДСК-1-Лайт» идеально подходит там, где нет особой необходимости подходить к окну (высоко встроенное окно лестничной клетки). При необходимости это окно легко переоснащается в систему подъемно-качающихся окон.
Рамы окон «БРААС-ДСК-1-Лайт» и «БРААС-ДСК-1-Классик» сделаны из деревянного монолита (северная сосна), покрыты бесцветной глазурью, позволяющей просматривать текстуру древесины.
Накладные окна
Иногда довольно сложно менять старое окно, тогда возможным вариантом становится установка накладного окна, которое сможет защитить старую оконную коробку. В данный момент такие окна выпускает фирма «Лемминкяйнен».
Окно «OPTIMI» этой фирмы как раз и предназначено для защиты старых оконных коробок. Оно подходит в первую очередь для окон, открываемых вовнутрь, но есть также и другие варианты. Благодаря водонепроницаемому накладному окну старые окна не надо заменять новыми.
Накладное окно улучшает тепло– и звукоизоляцию и исключает сквозняк. Старые основные окна просыхают и развитие гнили в них прекращается. Рама изготовлена из атмосферостойкого алюминия, безопасного стекла без рамы, а покрытие кромок выполнено из стального листа с пластмассовой облицовкой. При увеличении застекления с обычного двухслойного до трехслойного показатель теплопотери «К» стеклянной части улучшается с 2,17 до 1,45 Вт/м2.К. Благодаря накладному окну уровень шума снижается примерно в два раза.
Накладное окно «OPTIMI» подходит для большинства оконных коробок.
На заметку
Накладные окна «OPTIMI» можно монтировать в любое время года. Монтаж производится с наружной стороны здания. Для монтажа накладного окна можно использовать подвесные леса, вертикальный подъемник, различные подъемные площадки и передвижные подставки. Для малых объектов имеется возможность монтажа изнутри.
Общие требования к монтажу и эксплуатации
Требования к монтажу изделий, включая конструкцию и размеры монтажных узлов примыкания оконных блоков к стенам, устанавливают в проектной документации на строительство с учетом принятых в проекте вариантов исполнения узлов примыкания в стеновых конструкциях, рассчитанных на заданные климатические и другие нагрузки.
Монтаж оконных блоков должен осуществляться специализированными строительными фирмами. Окончание монтажных работ должно подтверждаться актом сдачи-приемки, оформленным в установленном порядке.
По требованию потребителя изготовитель изделий должен предоставлять типовую инструкцию по монтажу оконных и балконных дверных блоков, содержащую:
• чертежи (схемы) типовых монтажных узлов примыкания;
• перечень применяемых при монтаже изделий материалов (с приведением сведений об их совместимости) и температурных режимов их применения;
• последовательность технологических операций по монтажу оконных блоков.
При проектировании и исполнении узлов примыкания должны выполняться следующие условия:
• заделка монтажных зазоров между изделиями и откосами проемов стеновых конструкций должна быть плотной, герметичной, рассчитанной на выдерживание климатических нагрузок снаружи и условий эксплуатации внутри помещений;
• конструкции узлов примыкания (включая расположение оконного блока по глубине проема) должны препятствовать образованию мостиков холода, приводящих к образованию конденсата на внутренних поверхностях оконных проемов;
• эксплуатационные характеристики конструкций узлов примыкания и применяемых материалов должны отвечать требованиям, установленным в действующих нормативных документах;
• герметизация швов со стороны помещений должна быть более плотной, чем снаружи;
• при выборе заполнения монтажных зазоров следует учитывать эксплуатационные температурные изменения габаритных размеров изделий;
• полимерные материалы, применяемые при монтажных работах, должны иметь гигиеническое заключение здравоохранительных органов о возможности их применения в строительстве. Крупногабаритные стеновые проемы допускается заполнять сблокированными оконными блоками (по ширине и высоте). Узлы соединений блоков и прочностные расчеты должны быть приведены в технической документации.
Конструкция узлов примыкания и технология монтажа изделий должны соответствовать требованиям проекта.
Правила эксплуатации изделий устанавливают в инструкции по эксплуатации изделий, утверждаемой руководителем предприятия-изготовителя.
Инструкция по эксплуатации изделий должна включать в себя правила ухода за изделиями, устанавливать требования к области их применения и безопасной эксплуатации.
Глава III
Балконы. лоджии. веранды
При строительстве в жилых домах и коттеджах для более тесной связи с природой очень часто устраиваются балконы и веранды.
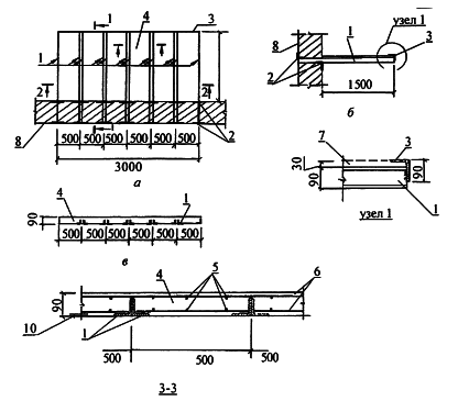
Балкон – это консольная плита, закрепленная в стене. Балконы, как правило, имеют ширину 1,2–1,5 м (рис. 18).

Рис. 18. Пример устройства балконов (размеры в мм):
а – план; б – разрез 1–1; в – разрез: 1 – металлические балки из уголка L 75x8; 2 – опорные уголки L 75x8 1 = 300; 3 – обрамляющий уголок L 90x56x6; 4 – монолитная железобетонная плита из бетона М 200; 5 – арматурная сетка 0 6AI с ячейкой 150x150; 6 —защитный слой арматуры – 10; 7 – конструкция пола; 8 – стена

Рис. 19. Пример устройства уклона для отвода атмосферных осадков с пола балкона:
1 – пол балкона, открытой веранды
Несущими балками балкона являются консольные металлические профили, заделываемые в стену. Плита балкона обычно выполняется из монолитного железобетона (бетон марки 200). Веранды делятся на открытые и застекленные. Как правило, веранды устраиваются в уровне 1-го этажа и над помещениями нижележащего этажа, поэтому перекрытие нижележащего этажа должно быть утеплено.