Советы по строительству бани - Страница 21
Подоконная доска должна находиться ниже, чем подоконники в комнатах (на высоте 45–60 см от пола). Стену под окном зашейте тесом «в шпунт» или «в елку». Между подоконной доской и верхней обвязкой установите рамы окон веранды.
Количество элементов рам зависит от величины веранды. В любом случае между двумя открывающимися створками целесообразно поставить одну глухую, неоткрывающуюся раму. Другие створки навесьте на ее вертикальные стойки. Это позволит сделать вертикальные стойки всех рам одинаковыми и не очень большой толщины.
Рамы можно делать высотой 170–180 см при ширине 50–55 см. Горизонтальный брус толщиной 2,5 см в зависимости от высоты рамы установите через 40–45 см.
Теперь нужно подумать о крыше веранды. Для того чтобы она подошла под свес кровли бани, пол веранды нужно опустить на 30 см (на две ступеньки) ниже уровня пола в бане.
Для устройства солярия под потолком веранды установите лампы инфракрасного и ультрафиолетового излучения, позволяющие облучаться без освещения (в темноте) или при слабом освещении. Желательно сделать рядом с баней бассейн или большую емкость с холодной водой для контрастных водных процедур.
Возведение крыльца
Крыльцо также может украсить баню и придать ей особенность. Оно не только защищает от непогоды, но и является дополнительной удобной площадью перед дверью.
Основные требования к крыльцу – эстетика, простота формы, удобство. На нем можно поставить скамейку для отдыха, приделать к нему решетку для вьющейся зелени, установить столбы, подпирающие навес, сделать ступени и перила. Все это еще более украсит баню.
Большинство из того, о чем говорилось выше, давно нашло отражение в разных типовых проектах бань. Если же такие проекты по каким-либо причинам не представляется возможным использовать, надо внимательно изучить их, стараясь взять все наиболее рациональное и самому построить красивую и удобную баню.
Вентиляция бани
Вентиляция бани предназначена для обеспечения нужного теплового режима, просушивания помещения и притока свежего воздуха. Для вентиляции бани используется печь-каменка через забор воздуха для топки. Помещения моечной, парной и предбанника могут вентилироваться через двери, форточки, отдушину и специальные вентиляционные каналы.
С этой целью обязательно устройте над верхним полком отдушину в виде прямоугольного или круглого отверстия в стене диаметром 20 см. Заглушка отверстия в виде обитой мягким материалом заслонки с деревянной ручкой должна быть скользящей. Это обеспечит регулирование вентиляции.
Для дополнительной вентиляции и притока в баню свежего воздуха устройте вентиляционное отверстие возле печи-каменки на высоте полуметра от пола. Отвод воздуха в это отверстие возможен лишь при наличии тяги, создаваемой специальной вентиляционной трубой или дымовой трубой печки-каменки. Можно устроить дополнительное отверстие в нижней части двери. Эти отверстия тоже закройте скользящей сплошной задвижкой или в виде перфорированной пластины.
Проветривайте чердак через оконце, которое зимой перед топкой бани закрывайте.
В том случае, когда топочное отверстие печи-каменки расположено в предбаннике, нужно обеспечить отвод сырого и холодного воздуха из-под пола. Пол в этом случае будет быстро нагреваться и быстро сохнуть. Если же топочное отверстие расположено в парной, то поддувало обязательно должно находиться ниже уровня пола.
Печь-каменка
Каменка – так ласково называли на Руси банную печь.
Печь-каменка – «сердце» бани. Какова печь – такова и баня.
Сходить в баню и у наших предков означало прежде всего хорошенько пропотеть, избавившись тем самым от хвори и недугов, очистить организм, зарядиться бодростью и здоровьем. Но какой жар без хорошей печки?
Ведь именно от печки зависит, станет поход в баню волшебным исцеляющим средством или заурядным смыванием грязи. Если печь тепла не держит да пар сыроват – никакого удовольствия от бани. Поэтому строительству печи раньше уделялось особое внимание. Да и сама печь представляла собой сложное сооружение, состоящее из фундамента, топки, камеры с камнями для получения жара, дымоходов, поддувал.
В современных банях применяют электрические нагреватели-калориферы или трубы парового отопления.
Но они не могут конкурировать с хорошей печью-каменкой по многим причинам:
– не могут обеспечить регулирование влажности воздуха;
– не могут обеспечить накопление и быстрое выделение тепла;
– быстро остывают.
Печь-каменка обычно устанавливается в углу у двери. На противоположной стороне размещают окно, под ним – скамью для мытья. Печь-каменка может топиться дровами, углем, жидким топливом, газом. Сейчас распространены электрические печи-каменки.
При постройке бани учтите, что тяга в печи будет зависеть от высоты трубы.
Основные требования к устройству печи-каменки следующие.
Размер печи должен зависеть от вида ее отопления, требуемой мощности и площади парной.
Малогабаритные печи устанавливают под полком или в нише стены в парильнях с площадью до 2 м2.
Печь-каменку располагают так, чтобы одновременно нагревались и парная, и моечная, и предбанник. Она должна быть подальше от легко возгораемых частей помещения. Печь-каменка должна занимать не более 0,15 м2 полезной площади.
Во избежание ожогов печь-каменку необходимо оградить теплоизолирующим материалом (деревом).
Тепло от печи должно передаваться на человека со всех сторон, главным образом, путем конвекции нагретого воздуха. Поэтому температура стенок печи должна быть как можно ниже, а отражательная способность стен бани – как можно больше.
Чем толще стенки печи, тем медленнее она нагревается и дольше сохраняет тепло.
Печи-каменки длительного режима действия
Печи-каменки в русской бане могут работать в длительном или периодическом режиме.
Печи длительного режима, как правило, имеют тонкие стенки и небольшой объем камней. Отапливаются эти печи газообразным, жидким или твердым топливом. При этих видах топлива температура нагрева регулируется изменением количества поступающего в топку топлива.
Печи-каменки на твердом топливе
В семейных банях используют печи-каменки, работающие в основном на твердом топливе. В качестве твердого топлива применяются уголь и дрова. Лучше всего топить баню березовыми дровами, которые дают много жара, не искрятся и не «стреляют». Если вы заготовили для топки печи-каменки дрова хвойных пород, то к концу топки добавьте в печь несколько осиновых поленьев или картофельные очистки. Таким образом вы избавитесь от копоти и дыма.
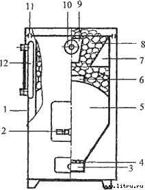
Печь-каменка, размером 400×505×750 мм с двойными боковыми стенками создает максимальную температуру 140 °C в парной объемом 10 м3(рис. 43). Она устроена так, что через щели в корпусе в верхнюю зону камеры сгорания поступает вторичный воздух. Дым от сгорания топлива проходит по каналам вокруг бункера для камней и выводится из печи в дымоход через переднее отверстие. Зазоры между боковыми стенками выполняют две функции: служат каналами для циркуляции и нагрева воздуха и по ним циркулирует нагреваемая в баке вода.

Рис. 43. Печь-каменка на твердом топливе: 1 – корпус печи; 2 – глазок; 3 – зольник; 4 – колосниковая решетка; 6, 7, 9 – дымоходы; 5 – топливник; 8 – камни; 10 – дымоход; 11 – щели для нагретого воздуха; 12 – водогрейная труба.
Печь-каменка конструкции Ф. И. Мартынкевича
Эта печь соответствует конструкции и размерам бани, схематически изображенной на рисунке 7 (см. «Семейная баня на 6–8 человек»).
Печь в такой бане имеет много достоинств:
– имеет невысокую себестоимость;