Советы по строительству бани - Страница 20
Следующий этап – укладка на пол керамической плитки и установка на приямок водосточной решетки.
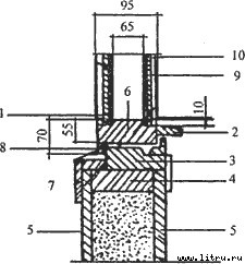
Вместо плинтуса на бетонном полу зазор между полом и стеной заделывают битумом или приклеивают на битум полоски рулонного водоизолирующего материала (рис. 41).
Бетонный пол нуждается в покрытии съемными деревянными решетками.

Рис. 41. Бетонный пол: 1 – внутренняя обшивка каркасной стены; 2 – пароизоляция;3 – гидроизоляция; 4 – фундамент; 5 – шебеночно-гравийная подсыпка; 6 – бетон с теплоизолирующим наполнителем; 7 – цементная стяжка; 8 – покрытие из керамических плиток; 9 – водосливная труба; 10 – деревянная решетка; 11 – водосточная решетка; 12 – гидрозатвор; 13 – приямок.
Облицовка полов метлахской плиткой
Полы из метлахской (керамической) плитки устраивают в моечной бани на бетонном основании. При этом толщина основания раствора должна быть равна 20 мм, ширина швов – 2–3 мм, максимальная крупность зерен – 3 мм, расход цемента на 1 м3 раствора – 450 кг.
Нанесите на основание пола цементно-песчаный раствор и разровняйте его. Выровненную поверхность раствора посыпьте цементом (0,5 кг на 1 м). Уложите плитку на раствор и прижмите, постукивая молотком, к основанию. Спустя 1–2 дня заделайте швы цементным раствором. Для окончательной отделки поверхность пола посыпьте цементом и загладьте нагретой кельмой.
Если в полу из керамической плитки повреждена или разбита одна плитка, ее можно заменить. Для этого выбейте зубилом поврежденную плитку и удалите весь раствор, уложенный под ней. Затем основание смочите водой, уложите свежий раствор и плитку. После этого затрите швы.
Земляные полы
Если вы хотите максимально приблизить свою баню к старорусской, то сделайте в парной земляной пол. Для этого на расстоянии 50 см от фундамента по периметру парной выберите грунт на глубину 45–50 см, утрамбуйте подготовленную площадку и засыпьте ее до начального уровня мелким гравием и песком. Сверху можно настелить доски.
Двери бани
Двери бани должны быть одностворчатыми, небольшого размера (с высотой 160–170 см и шириной 65–80 см), легкими, со слоем утеплителя и пароизоляцией. В парной и моечной дверь не должна быть шире 75 см. Обязательно утройте порог в 30 см у входной двери. У двери из парной в моечную порог делать необязательно. Наоборот, между дверью и полом должен быть зазор в 4–5 см. Главное требование – все двери должны открываться наружу.
Изготавливайте двери бани на шпонках из толстых шпунтованных досок с выбранными четвертями. Это достаточно трудоемко. Обычно такую дверь делают из двух рам. Для этого вам понадобятся 4 вертикальных и 8 горизонтальных брусков толщиной 30 мм и шириной 100–120 мм. Угловые соединения выполняйте внахлест с шипом.
Наружную раму обшейте с двух сторон ДВП, затем проложите слой утеплителя из войлока, минераловаты, пенопласта. Затем наложите внутреннюю раму меньших размеров на наружную раму. Скрепите их винтами, заполнив внутреннее пространство тепло– и пароизоляцией. Затем обшейте дверь тонкими досками, пропитав олифой их внутреннюю поверхность и нижний торец.
Иногда делают двери бани с наружной теплоизоляционной обивкой, как в жилых домах. В этом случае обязательно утеплите края обивки валиком из эластичных герметизирующих профилей.
Двери для моечной и предбанника можно сделать из одной рамы. К ней прикрепите с двух сторон стеклопластиковые листы, заполнив зазор слоем утеплителя.
В заключение обшейте дверь рейками, пропитав олифой их внутреннюю поверхность и нижний торец. Это послужит гидроизоляцией. Можно верхний слой двери сделать из водостойкой фанеры или ДВП.
Изготавливайте все двери на 5 мм уже расстояния между четвертями коробки, чтобы их не заклинило при набухании.
Освещение моечной и парильни можно обеспечить через окна, сделанные в дверях.
Большое значение для пользования дверями бани (особенно парной) имеют запоры: во-первых, все запоры должны находиться внутри комнаты; во-вторых, нельзя устанавливать щеколды и английские замки – в противном случае парильщик может нечаянно запереться в бане; в-третьих, нужно делать по два запора – сверху (деревянный засов или задвижка) и снизу. Это сделает дверь более герметичной; в-четвертых, во избежание ожогов все засовы, ручки и крючки в бане должны быть деревянными.
Окна бани
Баня не должна быть сильно освещена. Уютную атмосферу создает полумрак. Поэтому окно в бане следует делать небольшим (5 % площади пола).
Пропорциональное отношение длины к ширине окна составляет: 30×40, 40×60, 60×80 см. Сделайте окно высоко на стене, чтобы можно было смотреть на живописный пейзаж, лежа или сидя на полке. На такое окно занавесок не вешают.
Окна делайте из двух рам. Для них заготовьте рейки сечением 30×50 мм. Угловое соединение выполняйте внахлест с шипом. Такой тип соединения прост, его можно выполнить при помощи ручной пилы. После подгонки угловые соединения рамы склейте и закрепите шипами. Пазы для стекла образуйте накладками из реек сечением 10×30 мм, которые прикрепите, отступив на 10 см с внутренней стороны.
Раскраивайте стекло так, чтобы получилось меньше отходов, а остатки можно было использовать для остекления переплетов веранды. Размеры стекла должны быть на 3–5 мм меньше, чем расстояние между бортами фальцев переплетов, а фальцы закрыты стеклом не менее чем на 3 /4 своей ширины. В этом случае стекло не расколется при разбухании древесины в процессе эксплуатации.
Угловые соединения накладок выполняйте впритык. Накладки крепите к основной раме с помощью клея и шипов. Замажьте все щели между стеклом и рамой известково-цементным раствором или другим изоляционным материалом.
Утеплите сдвоенные (свинчивающиеся) окна пастой из мела и клея для обоев (2:1) и небольшого количества воды. Заполните этой пастой зазор между створками. В этом случае окно не будет потеть.
Двойные рамы обеспечат двойное остекление окна бани (рис. 42).

Рис. 42. Окно бани: 1 – раскладка; 2 – отлив; 3 – коробка; 4 – каркас; 5 – обшивка бани; 6 – оконный блок; 7 – наличник; 8 – уплотняющий шнур; 9 – замазка; 10 – стекло.
Веранда и крыльцо бани
Возле бани можно устроить место отдыха или солярий, пристроив к ней террасу или веранду, обвитую виноградом или другими вьющимися растениями. Они закроют баню от дождя, ветра и от посторонних глаз, украсят ее (особенно летом), создадут интимную обстановку и хорошее настроение. При пристройке веранды к уже существующей бане надо всегда помнить о том, что вся ее прелесть в близости к природе – к саду или цветнику.
Веранда должна вмещать лежанку, стол и стулья. Вход на веранду с улицы лучше делать ближе к двери в баню, чтобы больше оставалось места для мебели. На большой веранде дверь может быть посередине стены, тогда по обе ее стороны от входа останутся места для мебели. На веранде размером 3×4 м дверь лучше располагать в торце. В плане бани веранда может быть объединена с предбанником или тамбуром.
Веранда – как бы промежуточное помещение между баней и садом, и ее остекление желательно делать большим по площади, с простыми тонкими переплетами. Не стремитесь делать окна веранды с частыми и очень сложными переплетами. Это нецелесообразно по многим причинам:
– сложно в изготовлении;
– требует большого расхода материалов;
– густая «сетка» стекол препятствует солнечному свету и обзору сада.
Возведение веранды
Сделайте под веранду легкий столбчатый фундамент. На него положите нижнюю обвязку из бруса или кантованного тонкого бревна размером примерно 12×12 см. Затем установите угловые стойки, на которые укрепите верхнюю обвязку, стропила и кровлю.