Содержательное единство 2001-2006 - Страница 237
Только я прошу не путать нынешний мягкий управленческий кайф, содержащий элементы специфических полицейских технологий, – и грубую мобилизационную схему, о которой я говорю. Потому что этот кайф (уже осуждаемый всем миром, как диктатура) ничего не решает по существу. Он создает видимости. А также способствует тактическим успехам самого разного рода. Материально-личным, в том числе. Но он уводит от реальности. Он размещает всю политику вне нее. И это главный промежуточный вывод (рис.4).

Обсуждается проблема миграции. Гайдар что-то лепечет: "Пусть негры въезжают, китайцы, ислам – неважно, нужна рабочая сила. В США тоже въезжали". Но в США работал "котел". Он переплавлял негра, славянина, англичанина, немца, итальянца, француза – в американца. Это и есть Проект Модерн. По сути, это значит, что новый образ жизни, полученный в США, стирал этнический опыт хоть негра, хоть немца – и создавал новую программу иного, более высокого качества. Программу американскую. Для того, чтобы такую программу создавать, надо иметь высочайший приоритет автохтонного над въезжающим.
А если лидер национал-большевиков Лимонов растаптывает всю русскую литературу и говорит о Пушкине – "шоколадный карлик Пушкин", и при этом призывает бороться за Касьянова – то, простите, какая НАЦИЯ? Какой НАЦИОНАЛ-большевизм? Национал-большевизм – вообще дело сомнительное. А если разбирать по существу – что это все такое?
Скажут: "На Западе тоже есть проблемы". Конечно, есть. Но там продолжается воспроизводство со сбоями. Здесь же воспроизводятся только сбои. Воспроизводятся дисфункции! Они воспроизводятся, а не наличествуют параллельно с воспроизводством. Какой-то очень странный молодой генерал на высоколобом и весьма престижном клубе долго рассуждал, что русским вообще ничего не нужно – ни армии, ни технологий. Потому что у них в Байкале очень много пресной воды. А вода станет главным ресурсом XXI века.
Все время хотелось спросить генерала: "Почему ты считаешь, что это твой ресурс? Вот уже Олбрайт говорит, что русские слишком большой кусок заглотнули – и ресурсов, и территории. Хорошо, понадобится завтра вода. За ней придут другие – соседи или еще кто-то из "сильных мира сего". И они скажут, что это их, а не твое. Ты что сделаешь? Либо утрешься, либо предъявишь адекватные силовые аргументы. Но чтобы их предъявить, нужна армия. А значит, ВПК, наука, население, причем грамотное и хоть относительно здоровое, консолидирующие ценности и мало ли еще что…".
Глядя на генерала, я понял, что спрашивать не нужно. Что его речь – это какая-то странная комбинация фанатизма и глубокой самоиздевки. И мне начинает порой казаться, что не только его речь так построена. А и речь большинства наших современных политиков. Но такое построение речи не может не свидетельствовать об определенном построении сознания, мышления, психики.
И тогда, конечно, возникает вопрос: кто на кого давит? Что такое этот прессинг? Это усилие, направленное на сдвиг? Или фиксация наличествующего? Если наша политика приведет к тому, что Сибирь, например, обезлюдит полностью, то китайское вторжение или американское предложение продать Сибирь за триллион долларов – все это чем будет? Фиксацией нашего результата или отдавливанием нас с территории жизни на территорию смерти? Нас отдавливают – или мы отступаем? Может, нам помогают отступать, это отдельный вопрос. Но пока мы не признаем, что речь идет не о прессинге вообще, а в каком-то смысле о фиксирующем прессинге – ничего не изменится.
Между тем, официоз говорит прямо обратное: "Россия стала восходить, процветать, это не устраивает недругов, и они наезжают". Почему она стала восходить? В чем она стала процветать? Где тут кончается самообман и начинается пиар? Пока что ограничусь вопросами. И продолжу рассмотрение основной темы.
Часть третья. Реальность – и ее воздействие на пиар (он же – идеология)
Возникает некая идеологическая (шире – пропагандистская, культурно-лингвистическая) Система. Если она – сама по себе, а реальная витальная проблематика – сама по себе, то что происходит? Как одно с другим сочетается? (рис.5).

Острота нерешения стратегических витальных проблем – это один параметр уравнения. Назовем его – О.
Другой параметр – время нерешения. Назовет этот параметр – Т.
Само же уравнение таково (рис.6).

Здесь h – это константа износа самоизолировавшихся идеологических систем.
Первая из таких систем, взятых на вооружение в постсоветской России, была системой демократической или либеральной, как хотите. Можно еще назвать ее "системой Гайдара". Она подняла все возможные О в уравнениях жизни на недосягаемую высоту. И, тем не менее, она держалась на протяжении почти восьми лет. И окончательно "износилась" только к концу 90-х годов, чему в немалой степени помог кризис 1998 года.
Окончательный износ системы определяется по моменту, когда население начинает концентрированно издеваться (смеяться или, как сейчас говорят, "стебаться") над системообразующими конструкциями. В этом, кстати, разрушительная роль анекдотов. Помешать населению стебаться не может никакой страх. Единственное, что может продлить жизнь идеологической системы – это подкрепления. У советской системы их было сколько угодно: реальные успехи индустриализаций, определенный рост уровня жизни, победа в войне и многое другое. Подкрепления продлевали жизнь системы. Но этих подкреплений было недостаточно. Нужно было модернизировать саму систему. И не обязательно смягчать. Ее можно было развивать. Но это входило в противоречие с интересами правящих групп. И… однако не это составляет тему нашего сегодняшнего анализа.
Идеологическая система русского потребительского либерализма "а ля Гайдар" в чистом виде продержалась очень недолго. Призраки Скокова, Сосковца, Лебедя бродили на ее полутрупе задолго до ее кончины. Высказывание Чубайса по поводу "последнего гвоздя в гроб коммунизма" было сугубо психоаналитическим. Подсознание Чубайса уже чувствовало, что есть гроб, и есть последний гвоздь. Вопрос был в том, чей гроб и чей гвоздь. Начать свой пиар в как бы коммунистической газете "Завтра" через десять лет после фразы про "последний гвоздь" – что может быть показательнее?
Короче, гайдаровская система не выдержала бы и двух лет без условно "патриотического" властного дополнительного слагаемого. Но оно тогда не имело самостоятельного значения. Понадобилась соответствующая экспозиция, помноженная на остроту нерешения… Плюс работа оппозиции, построившей тот условный суррогатный капитал патриотизма, который можно было позаимствовать – чтобы власть решилась пересесть на нового коня (рис.7).

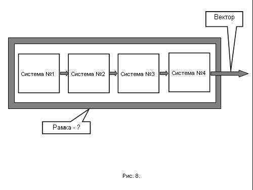
Какая следующая система может развиваться следом за системой #2? Для того, чтобы начать решать такую сложную теорему, нужно определить фундаментальное краевое условие. Только разместив системы в некую метасистемную рамку, можно получить данные по допустимым фазовым переходам, определяющим характер "системогенезов" (рис.8).

Как ни странно, рамку определить достаточно просто. А раз так, то и вектор, и все остальное тоже вычислить не так уж и трудно.
Рамка – это антикоммунизм. Почему это так? Потому что все правила "системогенеза" сложились в результате борьбы с коммунистами в эпоху развала СССР. Государственные системы (неосоветская "а ля Хасбулатов", ельцинская, путинская) сложились на обломках СССР. Социальные суррогатные системы складываются в контексте советской (то есть от противоположного). Любые уступки советскому носят двусмысленный характер. От того, что Слиска берет с суррогатной советской "свалки" то народные дружины, то товарищеские суды, а ее коллеги додумываются аж до восхваления брежневской системы, – ничего не меняется. В решающий момент оттуда все равно звучит звериный рев: "Почему мы должны принимать закон о знамени вашей партии?" (Имеется в виду Знамя Победы в Великой Отечественной войне).