Шлюпка. Устройство и управление - Страница 2
Остовом корпуса служит набор, состоящий из продольных и поперечных дубовых или ясеневых брусьев. Набор придает корпусу необходимую форму и обеспечивает его прочность. Основная часть набора – киль.
Киль – сплошной дубовый или клеенный из двух дубовых и трех сосновых досок прямолинейный брус, проходящий по всей длине шлюпки.
В носовой части латунными болтами скреплен с килем, образуя носовую оконечность шлюпки (рис. 2), форштевень – криволинейный брус, клеенный из нескольких дубовых досок.
Кормовую оконечность шлюпки образует врезанный в киль под углом ~ 100° прямоугольный клеенный из дубовых досок брус – ахтерштевень. Ахтерштевень скреп- лен с килем стальной оцинкованной кницей на латунных болтах.

Рис. 2. Киль и штевни:
1 – гак для крепления кливер-галса (галсовый гак); 2 – форштевень; 3, 9, 10 – болты; 4 – подкладка; 5 – кница; 6 – кормовой рым; 7 – ахтерштевень; 8 – транцевая доска; 11- киль; 12 – подкильная полоса
В ахтерштевень заподлицо врезана транцевая доска (транец), изготовленная из двух-трех дубовых досок. С внутренней стороны по периметру к транцу крепится деревянный ободок – транцевый брус. К килю сверху оцинкованными гвоздями прикреплен дубовый резен – киль, придающий килю дополнительную прочность.
По всей длине киля с обеих сторон его верхней части вырезаны шпунты для присоединения первого пояса обшивки (рис. 3).
Киль и форштевень защищены от повреждений металлической подкильной полосой.
К резен-килю стальными оцинкованными шурупами прикреплены шпангоуты – поперечные ребра из твердых пород дерева, выгнутые по форме обводов шлюпки (рис. 4). На шестивесельном яле 25 шпангоутов.
Поверх шпангоутов на резен-киле лежит кильсон-съемная доска, скрепленная с килем латунными болтами (рис. 4 и 14).

Рис. 3. Конструкция киля:
1 – резен-киль; 2 – шпунт; 3 – киль; 4 – подкильная полоса
Верхние концы шпангоутов скреплены двумя дубовыми изогнутыми по форме борта привальным и брусьями.

Рис. 4. Крепление шпангоутов:
1 – кильсон; 2 – шпангоут; 3 – гвоздь с шайбой; 4 – обшивка; 5 – резен-киль; 6 – шуруп; 7 – киль
Носовые концы привальных брусьев врезаны в форштевень и скреплены с ним и между собой брештуком-стальной кницей с деревянной накладкой (рис 5).
Кормовые концы привальных брусьев скреплены стальными кницами с транцевым брусом.
К набору яла оцинкованными или медными гвоздями прибита обшивка из сосновых и дубовых досок. Носовые концы обшивки утоплены в вырезанный шпунт на фор-штевне, а кормовые – скреплены с ахтерштевнем ободком транца и транцевой доской. Обшивка состоит из 14 поясов.

Рис. 5. Крепление привальных брусьев:
1 – форштевень; 2 – гак для крепления кливер-галса; 3 – стальная кница; 4 – деревянная накладка (брештук); 5 – носовой рым; 6 – шпангоут; 7 – привальный брус; 8 – ширстрек
Первый пояс – шпунтовый изготовлен из 16-мм дубовых досок (толщина остальных досок-12 мм). Верхний пояс обшивки – ширстрек тоже изготовлен из дубовых досок. Между ширстреком и привальными брусьями – деревянный заполнитель. Пояса обшивки яла уложены внакрой (рис. 6, а).
Привальные брусья, оконечности шпангоутов и верхние кромки ширстрека закрыты сверху дубовой доской – планширем.
Два буртика – полукруглые дубовые или ясеневые бруски – защищают борта шлюпки от ударов при швартовке. Верхний буртик прикрывает паз между планширем и ширстреком, а нижний – находится на поясе, который ниже ширстрека. Буртики крепятся к обшивке латунными шурупами. В планшире и деревянном заполнителе имеются отверстия для уключин (по три на каждом борту) (рис. 12).

Рис. 6. Обшивка:
а – внакрой; б – вгладь;1 – планширь; 2 – буртики; 3 – доски обшивки; 4 – гвозди с шайбами; 5 -шпангоут; 6 – подлегарс; 7 – банка; 8 – штапик; 9 – привальный брус
На продольные дубовые брусья – подлегарсы опираются банки , которые служат сиденьями для гребцов и элементами поперечного крепления шлюпки.
В яле четыре банки: носовая, баковая (мачтовая), средняя и загребная (кормовая). Стальными оцинкованными кницами они скреплены с привальными брусьями (рис. 7). Чтобы банки не прогибались под тяжестью гребцов, их средние части укрепляют стойками – пиллерсами. Верхний конец стойки входит в гнездо на банке, нижний – в башмак на кильсоне (рис. 14). Между банками по бортам находятся распорки, называемые чаками. Поверх банок и чак вплотную к шпангоутам уложена дубовая планка – штапик (рис. 6 и 7).

Рис. 7. Крепление банки к привальному брусу:
1 – металлическая кница; 2 – планширь; 3 – привальный брус; 4 – шпангоут; 5 – деревянный заполнитель; 6 – штапик; 7 – фасонный обушок для заводки кливер-шкота; 8 – подлегарс; 9 – банка (средняя); 10 -- чака
В носовой части шлюпки на подлегарс опирается съемный носовой решетчатый люк с отверстием для фонарной стойки (или гоночного номера). Нижний конец стойки входит в гнездо башмака на форштевне.
В кормовой части шлюпки (рис. 8) на подлегарс опирается сиденье, на котором при движении под парусом размещаются пассажиры, командир и старшина шлюпки. Параллельно транцевой доске в вертикальные направляющие башмаки вставляется съемная заспинная доска.
Между заспинной и транцевой досками у правого борта на деревянной накладке – книце, опирающейся на привальные и транцевый брусья, находится место старшины шлюпки при движении на веслах.
Для предохранения шпангоутов от повреждений, удобства передвижения по шлюпке и равномерного распределения нагрузки дно яла прикрыто съемными деревянными щитами – рыбинами, а между загребной банкой и кормовым сиденьем – кормовым решетчатым люком (рис. 8 и 9), состоящим из двух частей.

Рис. 8. Кормовая часть шестивесельного яла:
1 – утка; 2 – направляющий башмак; 3 – разрезной фасонный обушок для заводки фока-шкота; 4 – деревянная кница (место старшины шлюпки при движении на веслах); 5 – транцевый брус; 6 – кормовой рым; 7 – отверстие для цепного подъемного рыма; 8 – кормовое сиденье; 9 – кормовой решетчатый люк; 10 – пробка
На рыбинах и люке имеются упорки для ног гребцов. Для слива воды, скопившейся на дне шлюпки, под кормовым люком в обшивке имеется отверстие с вывинчивающейся пробкой (рис. 8). При спуске и подъеме шлюпки на борт корабля используются цепные подъемы (подъемные рымы).

Рис. 9. Рыбина:
1 – рыбина; 2 – упорка; 3 – стройка
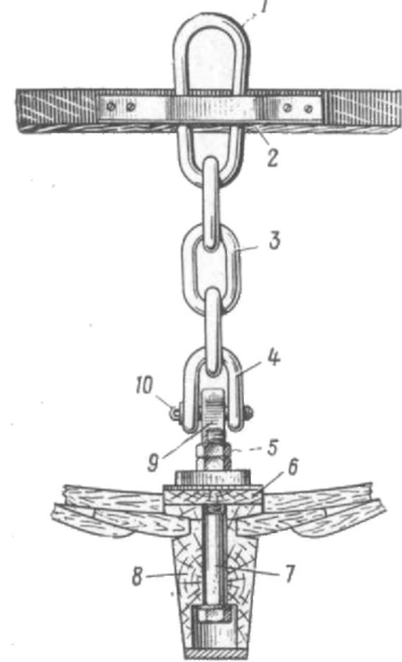
Цепной подъем состоит из обуха, наглухо прикрепленного к килю, такелажной скобы, отрезка цепи и рыма (рис. 10). За рымы закладываются гаки шлюпочных талей.

Рис. 10. Цепной подъем (цепной подъемный рым):
1 – рым; 2 -. стопорная планка; 3 – цепь; 4 – такелажная скоба; 5 – гайки; 5 -кильсон; 7 – болт; 5 – киль; 9 – обух; 10 – штырь