Сантехнические работы своими руками. Уроки домашнего мастера - Страница 6
Первый вариант чаще всего применяется в городских квартирах, иногда – в дачных кооперативах и деревенских домах. «Централизованная» в данном случае обозначает, что канализация отдельно взятого дома или квартиры подсоединена к общему стоку.
Если же возможности сливать отходы жизнедеятельности в общую канализацию нет, можно обустроить местную. В ее состав могут входить: фильтрационный колодец, выгребная яма, септик, а также различные фильтры.
Внимание!
При устройстве канализации на приусадебном участке или в частном доме помните, что канализационные ямы должны находиться минимум в 30 м от источника воды и не менее чем в 5 м от дома.
Монтаж внешней канализации загородного дома
Разберем подробно возможные составляющие системы местной (внешней) канализации.
Септик представляет собой систему очистки сточных вод, состоящую из одной или нескольких камер. На рисунке ниже изображен двухкамерный септик, в первом отсеке которого оседает ил, во втором – минеральный осадок. Вообще же септик улавливает порядка 30–35 % загрязнений, 70–80 % взвешенных частиц, но в любом случае после него сточные воды должны очищаться дополнительно. Для этого после септика устраиваются фильтрационные колодцы, песчано-гравийные фильтры и т. д.
Септики строятся из бетона, кирпича, железобетона; внутренние стенки – из цемента с армированием. Дно также заливается бетоном. На внешней поверхности делается глиняный слой глубиной 20–30 см. Для перекрытий лучше использовать железобетон, но в целях экономии вполне возможно сделать и деревянные перегородки, которые для прочности покрывают смолой. Бетонное же перекрытие оборачивается рубероидом, укрепляется бревнами и затем покрывается 5-7-сантиметровым слоем бетонной смеси (3 части цемента марок 300–500 с добавлением одной части песка и некоторого количества щебня).

Схема устройства септика

Канализационная система с септиком и фильтрационным колодцем
В грунте, хорошо пропускающем воду, обычно устанавливают фильтрационные колодцы. Для водонепроницаемых грунтов больше подходят песчано-гравийные фильтры.
Стандартный размер прямоугольного колодца – 2 х 2,7 м при глубине 2,5 м. Стены сооружения делаются из кирпича, изнутри он покрывается цементным раствором, а в стенах колодца оставляются дренажные отверстия.
Напомню, что такой колодец должен находиться не менее чем в 8 м от жилых помещений.
На основе септиков существуют и более совершенные канализационные системы – вроде той, которую вы можете видеть на рисунке ниже.

Система очистки сточных вод на основе септика
Трубопровод внешней канализации можно монтировать из полиэтиленовых труб высокой прочности (ПВП). Важный момент заключается в том, чтобы зимой трубы не промерзали – для этого их либо вкапывают на достаточную глубину, либо обеспечивают подогревом или теплоизоляцией. Под трубами необходимо создать слой подсыпки, который делается из песка, гравия или щебня.
Между стояком и септиком располагаются смотровые колодцы, участок трубы от стояка до такого колодца называется выпуском, а последний перед септиком колодец – контрольным. Длина выпуска зависит от диаметра используемой трубы – для 50-миллиметровой трубы она составляет до 8 м, для 100-миллиметровой – до 12, для 150-миллиметровой – до 15 м.
Монтаж внутренней канализационной сети дома и квартиры
Основа канализации многоэтажных городских домов – так называемый стояк, то есть вертикальный коллектор, к которому сходятся остальные трубы в доме или квартире. Все работы по замене труб в стояке, который является частью общей системы канализации, должны проводиться только специалистами, имеющими лицензию.
Но и в загородном доме, чтобы получить нормальную канализационную сеть, надо будет непременно провести стояк. Его диаметр должен быть не меньше самой толстой трубы и не менее 5 см. Труба стояка выводится наружу через крышу для вентиляции. Срез трубы, являющийся вентиляционным отверстием, должен находиться не ближе 4 м от окна.
Остальные трубы системы проходят почти горизонтально, по направлению к стояку под легким уклоном, зависящим от диаметра трубы. На каждый метр магистрали по направлению к стояку уклон должен увеличиваться на 2–3 см.
Почему нужно соблюдать именно такие величины?
При меньшем уклоне не будет естественного стока и отходы попросту застрянут в канализационных трубах. При большем возникнет другая проблема: удаленные от стояка сантехнические приборы нужно будет поднимать слишком высоко над полом.
Составляем схему канализации
Посмотрите на стандартную схему канализационной сети городской квартиры. Такая сеть обычно прокладывается от стояка тремя магистралями. К ним подключаются группы сантехнических приборов. Большее количество ответвлений вам и не понадобится.
Самая короткая ветвь ведет к уборной. К ней обычно подключается унитаз, иногда писсуар и биде.

Схема стандартной квартирной канализации
Другая ветвь – кухонная, с подключением мойки, посудомоечной и стиральной машин.
Третья ветвь – для ванной. К ней подключаются раковина, ванна, душевая кабина, стиральная машина, если она расположена в ванной.
Таким образом, положение помещений, где стоят приборы, имеющие подключение к канализационной сети, связано с положением стояка и ответвлений от него.
В коттедже имеется больше возможностей для варьирования размещения приборов, ведь в проекте можно учесть нужное количество стояков и разместить их там, где нам нужно. Например, при каждой спальне можно при желании устроить душевую кабину.
Для чего нужны гидрозатворы?
От главных магистральных линий ведут ответвления, к которым подключаются сантехнические устройства. Каждое ответвление заканчивается гидрозатвором (на схеме они обозначены буквами ГЗ), то есть сифоном, который обязателен при подключении сантехнических приборов и нужен для образования водяной пробки, не позволяющей запахам из канализации попадать в дом.

Принцип работы гидрозатвора
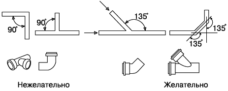
Нет – прямым углам!
При прокладке канализации по квартире ни в коем случае нельзя допускать прямых углов в соединениях канализационных труб. Иначе неизбежны засоры, ведь сточные воды тормозятся перпендикулярной плоскостью. При необходимости поворота трубы на 90° нужно сделать два поворота на 45° (в результате получится угол поворота соединительных деталей 135°).

Повороты труб канализации
Соединения канализационных труб
Для производства труб внутреннего трубопровода используются чугун, пластик, реже – керамика. Чугунные трубы нынче практически вышли из употребления, при капитальных ремонтах жилья их меняют на пластиковые. Последние бывают поливинилхлоридные, полипропиленовые или полиэтиленовые без существенных различий между ними.
Канализационные трубы стыкуют с помощью раструбных и муфтовых соединений. Чтобы включить в сеть стиральные либо посудомоечные машины, используется гибкая сантехническая подводка.
Монтаж чугунных труб осуществляется с помощью муфтовых и раструбных соединений.
Раструбное соединение – наиболее простое в исполнении. Конец одной трубы вставляется в расширение на конце другой. Раструб снабжен пазом для резинового кольца, служащего для герметичности соединения. С той же целью раструбное соединение укрепляется пенькой и замазывается цементом или битумом.