Руководство службы 7,62-мм станковый пулемет обр. 1939 г. - Страница 22
Приложение 5
ЛЕНТА И КОРОБКА
Питание 7,62-мм станкового пулемета обр. 1939 г. производится из обычной холщевой ленты на 250 патронов, употребляемых для пулемета Максима. Холщевая лента, набитая патронами, укладывается в обычную патронную коробку пулемета Максима (описание холщевой ленты и коробки для нее приводится в описании пулемета Максима).
Для снаряжения патронных лент патронами применяются специальная машинка и выравниватель, употребляемые для этой цели у пулемета Максима (см. описание прибора для набивки патронных лент к пулемету Максима).
Приложение 6
Перечень задержек, характеристика и методы их устранения
| № п/п | Наименование задержек | Признаки задержек | Причины появления задержек | Устранение задержек | Предупредительные меры |
|---|---|---|---|---|---|
| 1 | Незахват очередного патрона извлекателями патрона | Подвижные части остановились в крайнем переднем положении, извлекатели патрона не захватили патрона | Неровная набивка лент патронами или дефектная лента | Перезарядить пулемет | При набивке лент не допускать дефектных лент (рваных, с выпавшими заклепками). Патроны набивать в ленты ровно |
| 2 | Осечка | а) Патрон, давший осечку, находится в патроннике, а другой патрон захвачен извлекателями патрона. Подвижные части остановились в крайнем переднем положении, выстрела не произошло | Села возвратная пружина или загрязнена подвижная система | 1. Перезарядить пулемет и при повторении задержек в случае осадки возвратной пружины заменить ее 2. В случае загрязнения подвижных частей произвести чистку | Тщательный просмотр и чистка системы перед стрельбой |
| б) То же | Дефектный патрон | Перезарядить пулемет | |||
| 3 | Неподача очередного патрона | В патроннике находится гильза, а очередной патрон не встал против извлекателей патрона | Дефектная лента или неотход подвижной системы в крайнее заднее положение (нехватило газа) | Перезарядить пулемет | 1. При набивке лент патронами не допускать дефектных лент 2. Перед стрельбой газовые пути должны быть прочищены |
| 4 | Неотход подвижных частей в крайнее заднее положение | Патрон упирается корпусом гильзы в пенек ствола, очередной патрон не встает против извлекателей патрона | Загрязнение подвижной системы | Перезарядить пулемет; при повторении задержки прочистить подвижную систему пулемета | Перед стрельбой газовые пути и подвижная система должны быть прочищены |
| 5 | Неотход подвижной системы в крайнее переднее положение | Патрон находится в патроннике, но выстрела не произошло, при этом очередной патрон иногда может быть захвачен извлекателями патрона | Загрязнение подвижной системы | Не открывая крышку приемника, перезарядить пулемет; при повторении задержки прочистить подвижную систему пулемета | Перед стрельбой подвижная система должна быть прочищена |
| 6 | Поперечный отрыв гильзы | Подвижная система не дошла в крайнее переднее положение, так как боевой патрон не заходит в патронник ввиду наличия в нем оторвавшейся гильзы; очередной патрон не захватывается извлекателем патрона | Большой зазор между чашечкой затвора и пеньком ствола | Извлечь оторвавшуюся гильзу и поставить на затвор повышенные боевые упоры | Перед стрельбой проверять шашкой |
| 7 | Утыкание патрона в пенек ствола | Подвижная система не дошла в крайнее переднее положение, патрон упирается в пенек ствола | Неотход подвижной системы в крайнее заднее положение вследствие загрязнения подвижной системы или неровной набивки лент | Перезарядить пулемет. В случае повторения подобной задержки проверить набивку ленты и, если лента набита удовлетворительно, прочистить подвижную систему пулемета | 1. Не допускать к стрельбе ленты с сильно разрозненной набивкой 2. Тщательно прочистить систему перед стрельбой |
| 8 | Разрыв патрона в ствольной коробке | Слышен ненормальный звук выстрела, и часть пороховых газов выходит из ствольной коробки | 1. Излом или осадка пружины задержки патронов (в затворе) 2. Выпадение пули | 1. Заменить пружину задержки патронов и вычистить подвижную систему пулемета 2. Вычистить подвижную систему пулемета | 1. Тщательно осмотреть задержку патронов и ее пружину перед стрельбой 2. Не допускать к стрельбе на максимальном темпе патронов с латунной гильзой (как с легкой, так и с тяжелой пулей) |
АЛЬБОМ РИСУНКОВ

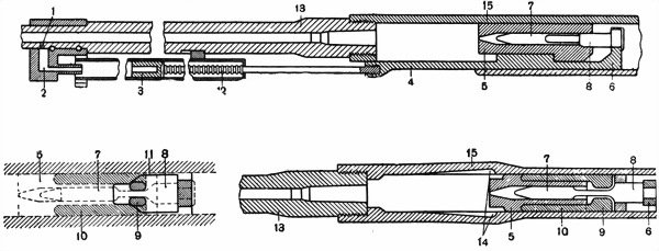
Рис. 1. Схема запирания пулемета (затвор в переднем положении).
1 — газовое отверстие, 2 — газовая камора, 3 — газовый поршень, 4 — затворная рама, 5 — затвор, 6 — стойка затворной рамы, 7 — ударник, 8 — уширенная часть ударника, 9 — утолщенный конец боевого упора, 10 — боевой упор, 11 — фигурное гнездо, 12 — возвратно-боевая пружина, 13 — ствол, 14 — вырезы для упора боевых упоров 10, 15 — ствольная коробка.

Рис. 2. Схема запирания пулемета (затвор в заднем положении).
1 — газовое отверстие в стволе, 2 — газовая камора, 3 — газовый поршень, 4 — затворная рама, 5 — затвор, 6 — стойка затворной рамы, 7 — ударник, 8 — уширенная часть ударника, 9 — утолщенный конец боевого упора, 10 — боевой упор, 11 — фигурное гнездо, 12 — возвратно-боевая пружина, 13 — ствол, 14 — вырезы для упора боевых упоров 10, 15 — ствольная коробка.

Рис. 3. Общий вид пулемета на станке. Вид справа. Станок установлен для стрельбы с колена.
1 — ствол пулемета, 2 — станок-тренога, 3 — щит, 4 — кронштейны с пазами, 5 — рамочный прицел, 6 — приемник, 7 — оптический прицел, 8 — коробка для лент с патронами, 9 — лента для патронов, 10 — рукоятка заслонки щита, 11 — упор заслонки, 12 — заслонка щита, 13 — окно для прицеливания при помощи оптического прицела.

Рис. 4. Общий вид пулемета. Вид слева. Станок установлен для стрельбы лежа.
1 — ствол пулемета, 2 — станок-тренога, 3 — щит, 4 — кронштейны с пазами, 5 — рамочный прицел, 6 — приемник, 7 — оптический прицел, 8 — коробка для лент с патронами, 9 — лента для патронов, 10 — рукоятка заслонки щита, 11 — упор заслонки, 12 — заслонка щита, 13 — окно для прицеливания при помощи оптического прицела.

а

б
Рис. 5. Общий вид ствола пулемета.
а — вид справа, б — вид слева, 1 — ствол, 2 — пламегаситель, 3 — основание мушки, 5 — предохранитель мушки, 10 — газовая камора, 12 — направляющая трубка с патрубком, 13 — сухарь направляющей трубки, 14 — газовый регулятор, 16 — защелка газового регулятора, 44 — овальные отверстия направляющей трубки, 49 — рукоятка регулятора, 50 — кольцо рукоятки.

Рис. 6. Ствол в разобранном виде.