Русские электротехники - Страница 32
Машина, на которую Яблочков взял французскую привилегию в 1877 г., была машина переменного тока, которую он назвал «магнито-динамо-электрической». В этой машине он применил принцип, который впоследствии осуществлялся несколькими конструкторами (Клименко, Кингдон, Томпсон и др.). В машине не было подвижных обмоток: и намагничивающая обмотка и обмотка, в которой индуктировалась электродвижущая сила, оставались неподвижными. Вращался зубчатый железный диск, менявший при вращении магнитный поток, пронизывающий обмотку, в которой индуктировалась электродвижущая сила. При такой конструкции в машине не было никаких скользящих контактов и конструкция ее была достаточно проста.
Затем Яблочков построил и другую машину переменного тока. Конструировавшиеся в его время маломощные машины, приводимые в движение от трансмиссионных валов посредством ременных передач, устанавливались на сколько-нибудь мощной электростанции десятками и сильно мешали распространению электрического освещения; Яблочков поэтому занялся разработкой нового типа мощного генератора переменного тока.

Машина имела вращающиеся электромагниты (ротор), полюсы которых имели геликоидальную форму (фиг. 16). Статор был снабжен рядом обмоток, каждая достаточная для питания одной свечи. Вот, что пишет об этой машине обозреватель журнала «La Lumiere Electrique» Фр. Жеральди: «Одним из преимуществ своего индуктора (ротора) Яблочков считает то, что небольшому угловому движению соответствует значительное перемещение магнитного полюса, что дает возможность пользоваться меньшими скоростями». Машины Яблочкова строились фирмами Сотте-Лемонье и Бреге. Один из типов машин имел на статоре 32 катушки. «В данном случае, — пишет Жеральди, — замечается тенденция выйти на путь машин серьезных размеров, и это заслуживает полного внимания. Вместо того, чтобы комбинировать несколько небольших, почти игрушечных, машин, прибегая к сложным передачам и неудобным решениям, пришли, наконец, к тому, что стали строить машины, от которых, при их размерах, можно ждать превосходных результатов».
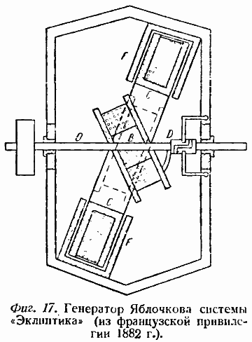
Оригинальной конструкцией отличается машина, которую Яблочков назвал «клиптической». «Основой в изобретенной мной машине, — пишет Яблочков во французской привилегии, — лежит расположение оси вращения под углом относительно оси магнитного поля; расположение, которое напоминает наклон эклиптики — отсюда имя, которое я даю машине» (фиг. 17). Этот электродвигатель был предназначен Яблочковым для работы на постоянном и на переменном токе. Трудно понять, чем руководствовался Яблочков, предлагая такую конструкцию машины. Можно только сказать, что в то время различными конструкторами предлагались разнообразные, иногда очень странные конструкции.

Яблочков изобрел еще ряд машин, в частности, легкий электродвигатель, генератор переменного тока с наклонными пазами и др., но все его изобретения в этой области по причинам уже сказанным применения не получили.
Интересно отметить, что Яблочков работал и над так называемыми электростатическими генераторами, над которыми последние годы много работали и работают современные нам электрики. Именно, в 1879 г. он взял французскую привилегию на машину для получения «переменного или выпрямленного тока, — говорится в привилегии, — при помощи статического электричества». Машина в общем состоит из ряда дисков с острыми зубцами по окружности, насаженными на вращающийся вал. Зубцы входят в соответствующие промежутки между рядом неподвижных дисков. Неподвижные диски получают электрический заряд; заряды, наводимые в подвижных дисках, непосредственно передаются во внешнюю цепь (фиг. 18). Повидимому, эта машина не была осуществлена.

От изобретательства в области машин Яблочков уже с 1880 г. отвлекся в совсем другую сторону.
Тогда, как и в настоящее время, многих электриков увлекала мысль получать электрическую энергию непосредственно за счет энергии химических превращений, избегая промежуточных превращений, как-то: сжигания топлива для получения механической энергии и последующего превращения ее, при помощи динамомашины, в электрическую. Примером электрических генераторов такого рода служили гальванические элементы или термоэлектрические батареи.
Яблочков тоже увлекся этой идеей и отдал изобретательству в этом направлении последний десяток лет своей жизни.
«С 1882 года, — пишет Павел Николаевич в своем автобиографическом очерке, — я начал работать над получением электричества посредством элементов, не пользуясь механической энергией, и я взял привилегию на элемент с натрием… В 1883 году я сильно заболел и должен был прервать свою работу, к которой я вернулся лишь в 1884 году. Именно тогда я создал свои автоаккумуляторы… С этого времени до конца 1889 года я продолжал работать… над производством электричества химическим путем. После этого я прекратил научные работы».
Идея получения электрической энергии непосредственно от элементов целиком завладела Яблочковым. Работу над осуществлением этой идеи он не прекращал до последних дней своей жизни. Работа была трудная, опасная для жизни и здоровья Павла Николаевича. Сопровождалась она событиями, принуждавшими Яблочкова менять место жительства и переживать трудные дни. Вот что пишет М. Н. Яблочкова об этом периоде его жизни: «Начиная с 1880 года и по 1889 год была самая деятельная эпоха работ Яблочкова. Можно было сказать, что он как бы торопился вылить в наглядные формы все, что имел в своей голове… Ушедши из «Общества», он начал работать самостоятельно. Напротив своей квартиры снял во дворе маленький павильон и, пригласив двух рабочих, стал производить опыты над элементом из натрия. Эта работа его поглощала настолько, что он как бы ушел из обыденной жизни. В своей лаборатории он устроил вытяжной шкаф и ставил там многочисленные типы элементов из амальгамы содия (натрия). Эти опыты представляли много опасности. Когда окислялся содий (натрий) и образовался «сод-каустик» (едкий натр), то содий загорался и так как в комнате было очень много содия и на всех столах были различной формы элементы, то нужно было оставаться все время и ночь и день, следя за опытами, так что мы чередовались. Он делал эти опыты в тайне. Был создан элемент грандиозной силы приблизительно в 40 паровых лошадиных сил. Мы находились в лаборатории и с интересом следили за усилением сил элемента. Как вдруг раздался громадный треск, окна были выбиты и комната наполнилась водородом, ничего не было видно и Павел Николаевич не слышал, когда я его звала. Водород выходил на улицу в большом количестве. Публика на улице приняла это за пожар, был дан сигнал пожарный. И вот, когда приехали пожарные, то была страшная минута. Я побежала на улицу, умоляя их не заливать водой, иначе был бы громадный взрыв, который мог бы разрушить весь дом. Хозяин дома, который был инженер, тоже выбежал на улицу и, к счастию, сумел убедить пожарных не заливать пожар. У нас был запас песку в две бочки и вот все стали засыпать… После этого взрыва нас попросили выехать с квартиры и мы взяли домик в окрестностях Парижа, в Курбевуа. Там во дворе была опять устроена лаборатория (фиг. 19), где можно было уже работать, не стесняясь соседями…

Более и дольше всего он работал над своими автоаккумуляторами. Когда опыты стали довольно удовлетворительными, то некоторые из наших друзей и знакомых вложили небольшие капиталы на продолжение этих опытов. Нужно было расширить помещение для этих опытов и мы переехали в особняк в Нейлли, где помещение было довольно большее… Париж стал приготовлять свою выставку 1889 г. Павел Николаевич занялся приготовлением Русского технического отдела. Вместе с тем он разрабатывал свои изобретения для демонстрации их на выставке. Чтобы быть ближе к работе на выставке, мы переехали в Париж на улицу Тери, где опять была устроена небольшая лаборатория… После окончания выставки Павел Николаевич, главным образом, работал над своими аккумуляторами и как бы торопился довесть их до конца».