Римская история - Страница 277
Сениавх, командир турмы комитов 15, 3, 10; 25, 10, 6.
Серениан, комит доместиков, охранял казну 26, 8, 6.
Синтула, трибун конюшни Цезаря 20, 4, 3; 5, 1.
Скудилон, трибун скутариев, аламанн по происхождению 14, 10, 8; 11, 11.
Спектат, трибун и нотарий 17, 4, 14, член посольства к Сапору 17, 14, 1.
Тевтомер, франк, протектор-доместик 15, 3, 9.
Флоренций, предатель Прокопия, казнен 26, 9, 8.
Целла, трибун скутариев 16, 12, 6; убит в схватке с сарматами 19, 16, 11.
Экссуперий, храбрый солдат, выскочивший первым из подкопа при взятии Майозамальхи 24, 3, 23.
Эквиций, трибун первой схолы скутариев, впоследствии комит и консул 26, 1, 4.
Эквиций, родственник Валента, трибун и куратор дворца 31, 12, 15.
Юлиан, трибун легиона 25, 6, 3; 6. {559}
ПРИЛОЖЕНИЕ
1. Реконструкция скорпиона и баллисты (23, 4) с объяснением чертежа.
2. Карта фракийских областей по данным Аммиана Марцеллина (21, 8).
3. Карта Египта по данным Аммиана Марцеллина (22, 16).
4. Карта похода имп. Юлиана в Персию.
5. Карта Азии по Птолемею. {560}
СКОРПИОН

Рис. 1 – продольный разрез орудия.
а – один из двух продольных брусьев.
b – горбообразное утолщение бруса.
d – поперечное скрепление параллельных брусьев.
а f g h – такие же скрепления внизу орудия.
1 m – вертикально стоящее дышло.
i k – канат из жил, продетый через отверстия в горизонтальной подставке и представляющий собой как бы пружину, которая держит дышло в вертикальном положении.
m n – железный крючок на конце дышла.
n v – праща, укрепленная на крючке.
w – снаряд, положенный в пращу.
rs – два блока, из которых один зацеплен за дышло, а другой соединен с горизонтальной подставкой орудия.
o – вал, на который наматывается канат, стягивающий блоки r s.
p q – рычаг, при помощи которого происходит наматывание каната.
Когда дышло стянуто вниз и доведено почти до горизонтального положения, канонир сбивает блок с крючка t; дышло освобождается и быстро принимает вертикальное положение, вследствие чего из пращи вылетает камень. {561}
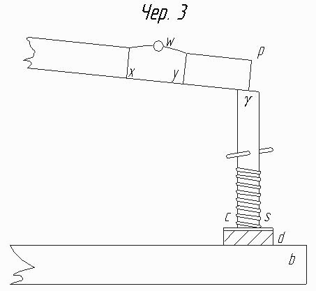
БАЛЛИСТА

Рис. 2 – вид орудия сверху.
а b – два параллельных деревянных бруса.
с, d, с, d – поперечные скрепы этих брусьев.
fg – два вертикальных столба в передней части орудия, установленные на горизонтальной подставке.
h i k 1 m n – железная полоса, пропущенная через вертикально стоящие столбы; в этой своей части – 1m – она имеет цилиндрическую поверхность.
op – деревянное дышло, через которое в переднем его конце пропущена железная полоса – 1k.
og – полуцилиндрическое углубление в дышле, в которое кладут стрелу.
γ – винт, на который опирается задняя часть дышла (см. рис. 3).
htn – тетива, стягивающая концы железной полосы.
u – крючок, за который зацеплена тетива посередине.
uv – канат, прикрепленный к крючку.
ww – вращающаяся ось, на которую наворачивается канат.
αβ – вертикально установленные колеса, при помощи которых наворачивается канат, оттягивающий тетиву до определенного места.

Рис. 3 – задняя часть баллисты, вид сбоку.
b – подставка орудия.
γ – столб с винтообразной нарезкою, вращая который направо или налево, можно изменять положение дышла.
Когда высвобождают тетиву из-под крючка, она выбрасывает стрелу, лежащую в углублении дышла.
Приведенные чертежи не могут претендовать на то, что в них точно угадан вид орудий, столь неясно и кратко описанных Аммианом Марцеллином. {563}
2. Карта фракийских областей по данным Аммиана Марцеллина (21, 8).

3. Карта Египта по данным Аммиана Марцеллина (22, 16).

4. Карта похода имп. Юлиана в Персию.

5. Карта Азии по Птолемею.
