Ремонт часов - Страница 9
При колебаниях баланса катушка, закрепленная на нем, проходит в зазоре магнитопровода. В тот момент, когда катушка входит в зазор, контактная пластина замыкается с контактным штифтом, установленным на оси баланса, и в катушку поступает ток от батарейки, создавая вокруг катушки электромагнитное поле. Взаимодействие этого поля с полем постоянных магнитов магнитопровода сообщает балансу импульс, поддерживающий его колебания.

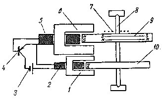
Рис. 39. Бесконтактные электрические часы на триодах (принципиальная схема)

Рис. 40. Принципиальная схема камертонных часов
В наручных электрических часах баланс не только регулирует ход часов, но и является двигателем стрелочного механизма часов. С этой целью на балансе с помощью ролика закреплен эллипс аналогично тому, как это выполнено в обычных механических часах. При колебаниях баланса эллипс, взаимодействуя с зубцами миниатюрного храпового колеса, занимающего место ходового колеса в обычном механизме, вращает храповик, который с помощью обычной зубчатой передачи сообщает вращение стрелкам часов. Положение храповика фиксирует в этих часах миниатюрный постоянный магнит, установленный в платине часов, взаимодействующий с проходящими над ним зубцами стального храповика.
В заключение настоящей главы следует указать также на два новых типа электрических наручных часов, разработка -которых в настоящее время проводится весьма интенсивно. Это так называемые бесконтактные, или электронные наручные часы, известные пока по многочисленным литературным источникам, и яаручные камертонные часы, выпускаемые американской фирмой «Бюлов».
Бесконтактные часы созданы на базе миниатюрных полупроводниковых триодов, заменяющих в этих часах контакты, которые в вышеописанных электрических часах являются слабым конструктивным узлом механизма. На рис. 39 показана принципиальная схема бесконтактных часов фирмы «Филлипс». В этой конструкции баланс образован двумя магнитными дисками 9и 10,закрепленными на общей оси 8,снабженной волоском 7. При колебаниях баланса диски проходят в зазорах сердечников 1 и 6,соответственно несущих катушки 2и 5. При прохождении магнитного полюса диска 9в зазоре сердечника 6в катушке 5 наводится э.д.с., поступающая на базу полупроводникового триода 4.
База полупроводникового триода по принципу своей работы аналогична сетке обычной электронной лампы. При поступлении эдс на базу триод разрывается и пропускает ток от источника тока 3в катушку 2, на которой создается электромагнитное поле.
Это поле взаимодействует с диском 10,сообщая балансу импульс. Колебания баланса в бесконтактных часах могут передаваться на вращение стрелок часов таким же способом, как и в контактных электрических часах.
На рис 40 показана принципиальная схема камертонных часов фирмы «Бюлова». На ножках камертона 1 укреплены стакано-образные магнитопроводы 2 к 3 спостоянными магнитами 4.
В зазор обоих магнитопроводов введены соленоидные катушки 5. При колебаниях камертона пружинка 6перемещает храповое колесо 7 с фрикционной фиксирующей пружинкой 8.
Колебания камертона поддерживаются с помощью генераторной схемы, образованной конденсатором 9,сопротивлением 10,обмотками соленоидных катушек 11и 12,включенными в цепь полупроводникового триода 13.Схема получает питание от источника тока 14.
Работа подобной схемы аналогична работе схемы бесконтактных часов. При сообщении камертону возбуждения в катушке 11 постоянный магнит наводит э.д.с., приложенную к базе триода 13,который проводит ток от источника 14в катушку 12.Магнитное поле этой катушки, воздействуя на постоянный магнит камертона, поддерживает его колебания.
Г Л А В А III
ОБОРУДОВАНИЕ ЧАСОВОЙ МАСТЕРСКОЙ И ОБЩИЕ
УКАЗАНИЯ ПО РЕМОНТУ ЧАСОВ
1. ОРГАНИЗАЦИЯ РАБОЧЕГО МЕСТА
Рабочее место часового мастера состоит из однотумбовогс стола-верстака высотой 80 — 90 сми шириной 40 — 45 смс ящиками для хранения инструмента, часов и запасных частей к ним, В больших мастерских применяют многоместные верстаки. Поверхность верстака, на котором работают, должна быть безукоризненно чистой. Рекомендуется рабочую часть верстака застилать белой бумагой, поверх которой положить лист толстого стекла, а еще лучше — прозрачного оргстекла (плексигласа), который менее теплопроводен, а поэтому более гигиеничен для работы мастера.
Рабочее место должно обеспечивать нормальное положение рук мастера, не вызывая быстрого утомления при работе. Расстояние от глаз работающего до рабочей зоны верстака должно быть 20 — 25 см.Для освещения рекомендуется использовать настольную лампу на шарнирах (рис. 41).
Так как большую часть рабочего времени часовой мастер проводит сидя, желательно пользоваться вращающимся стулом, регулируемым по высоте. Используемый инструмент и приспособления должны быть размещены на верстаке в определенном порядке (рис. 42), а редко используемый — храниться в шкафу.
Ремонт деталей часов требует обязательного применения оптического инструмента, позволяющего хорошо видеть мелкие детали,

Рис. 41. Настольная лампа на шарнирах
Самым простым оптическим инструментом является лупа.
Наиболее распространены лупы с разным увеличением — от 1,5х до 10х, с помощью которых производят почти все работы по ремонту мелких часов. Лупы с сильным увеличением применять не рекомендуется, так как они утомляют зрение.
Лупу у глаза закрепляют с помощью проволочного обруча, надеваемого на голову (рис. 43-У), или удерживают надбровной складкой кожи.

Рис. 42. Порядок размещения инструмента на рабочем месте

Рис. 43. Лупы
Для большего увеличения пользуются комбинированной лупой — на основную лупу надевают дополнительно приставку (рис. 43-2).Мастера, работающие в очках, применяют лупу с проволочной оправой, которая закрепляется непосредственно на оправе очков (рис. 43-5).
Для внедрения в мастерских следует рекомендовать проекционные измерительные приборы — проекторы. Простой проектор имеет обычно один объектив (иногда несколько сменных), осветитель для проходящего света (диаскопия) и предметный столик без микровинтов. Камни и оси баланса можно проверять школьным или бинокулярным микроскопами.
2. ТИПОВОЕ ОБОРУДОВАНИЕ И ИНСТРУМЕНТ

Рис. 44. Токарный станок с принадлежностями
Ввиду того, что описание оборудования и инструмента приводится в книге по ходу технологии производства ремонта основных типов часов, где описываются и рабочие приемы, в данном разделе только перечисляется типовое оборудование и инструмент, необходимые в ремонтной мастерской:
