Рассказы о драгоценных камнях - Страница 42

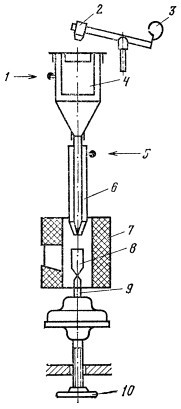
Рис. 19. Схема первой печи Вернейля
4 — коробка для сырья с кислородным дутьем; 6 — область плавления сырьевой смеси; 7 — печь, где идет кристаллизация; 9 — стержень, на котором растет «буля», стержень может подниматься и опускаться (10); 2, 3 — подача сырья; 1, 5 — подача газа

Рис. 20. Особенности кристаллизации були
1— жидкий расплав; 2 — зона кристаллизации; 3 — готовая буля; а — избыток расплава, буля будет плохая; б — нормальная буля; в — дефицит расплава, плохая буля
Шихта для получения рубина представляет собой тончайший порошок глинозема, получаемый прокаливанием аммониевых квасцов. Из чистого глинозема вырастает бесцветный корунд. Для окраски в красный цвет рубина в корунд должна быть добавлена окись хрома. Она добавляется отдельно или входит в состав квасцов (смешанные кристаллы алюминиевых и хромовых квасцов). Для получения сапфира в шихту добавляются закись железа и окись титана. Разработаны и многие другие способы окраски корунда. Особенной популярностью пользуется так называемая александритовая окраска, придающая камню меняющийся цвет.
Синтез рубина был огромным техническим достижением. Получен был не только искусственный драгоценный камень, но и ценнейший технический продукт. Издавна рубин и сапфир использовались как антиабразив, и в хорошие часы обязательно как подпятники вставляли именно рубин или сапфир, причем необходимы были самые лучшие драгоценные камни. Поэтому часы с «каменными» подпятниками (часы на 5 или 8 камнях) стоили баснословно дорого. Синтез рубина позволил почти все виды часов снабдить камнями, что, конечно, сильно увеличило точность часов. Мало того, что появилась возможность использовать рубиновые подпятники, они стали много лучше, чем подпятники из настоящего рубина, так как вследствие высокой цены приходилось пускать в дело и дефектные камни. Сейчас «камни» проверяются крайне тщательно, и не очень хорошие заготовки безжалостно бракуют. Кроме того, чтобы облегчить обработку «камня», рубины для часов делают очень густо окрашенными, а их гораздо более легко обработать, чем бледно окрашенные камни.
Появились и принципиально новые возможности использования корунда, о которых до организации синтеза этого минерала и подумать было невозможно. Упомянем только о двух.
Первая новая область применения корунда — это текстильные нитеводители. Синтетическая нить после своего формирования наматывается на катушку, но попутно проходит через серию нитеводителей. Материал этих нитеводителей подобрать оказалось крайне трудно. Первоначально их делали из фарфора, и служили они не более одного дня. За это время на них образовывалось такое количество заусениц и прорезей, что использовать дальше фарфоровый нитеводитель было невозможно. Агатовые нитеводители служили дольше, но тоже мало, не больше недели, и тогда решено было попытаться изготовить нитеводители из корунда. Разработаны были методы выращивания кристаллов рубина в форме длинных тонких стержней. В принципе это довольно просто, необходимо только быстрее опускать «свечу» в аппарате Вернейля, и тогда вместо толстой бульки будет кристаллизоваться длинный стержень. В действительности все это крайне трудно; нужна величайшая точность и скорости опускания свечи, и подачи шихты, и температурного режима.
Огромная работа увенчалась блестящим успехом. Корундовые нитеводители служат многие месяцы, что, конечно, весьма способствует увеличению производительности фабрик, выпускающих искусственное волокно.
Появление лазеров потребовало целый ряд новых материалов. Весьма популярными, в частности, оказались рубиновые лазеры. Необходимо было создать кристаллы рубина в виде крупных толстых стержней. Для этого потребовалось значительное изменение установки Бернейля.
Синтетически в США и ФРГ стали получать очень красивые «звездчатые» рубины и сапфиры. Как отмечается, такие искусственные камни даже красивее естественных. Синтез звездчатого корунда ведется методом Вернейля, только в шихту, кроме глинозема и окрашивающих примесей, в избытке добавляется окись титана. Из образующегося богатого титаном корунда при охлаждении выпадают тонкие иглы рутила — окиси титана, которые ориентируются параллельно кристаллографическим направлениям корунда. Если такой кристалл огранить кабошоном так, чтобы вертикальная ось (удлинение були) выходила вверх камня, то иглы будут отражать свет, создавая очень красивую шестилучевую звезду.
По методу Вернейля можно вырастить не только корунд, но и ряд других веществ. Очень хорошо синтезируется шпинель: в качестве шихты берут в нужном соотношении смесь окиси магния и окиси алюминия. Кристаллы шпинели растут так же, как кристаллы корунда, но окрашиваются они легче и эффектней. Поэтому при изготовлении искусственных драгоценных камней широко пользуются шпинелью. В частности, имитации александрита на основе шпинели, окрашенной хромом и ванадием, получаются лучше и дают более яркие окраски, чем имитация на основе корунда.
Мне приходилось читать, что подобным методом синтезируют рутил (окись титана). Однако процесс сложнее: при росте були рутила в кислородно-водородном пламени часть титана под действием водорода переходит в низшие окислы и буля становится совершенно темной. Однако при прокаливании такой темной були в кислороде титан вновь окисляется, и буля становится прозрачной. Искусственный рутиловый кристалл из-за своего высокого светопреломления и сильной дисперсии используется как имитация алмаза. Имитируют алмаз и искусственными кристаллами титаната стронция; в природе такое соединение не встречается. Кристаллы этого вещества обладают очень высоким светопреломлением, сильной дисперсией и изотропностью, поэтому отличить «бриллиант» из титаната стронция от алмаза очень трудно (рис. 21).
Существует большое число лабораторий, синтезирующих на основе корунда и шпинели искусственные драгоценные камни. Здесь имеются два направления. С одной стороны, изготовляются любые красиво окрашенные разности, а с другой — изготовители стремятся получить по возможности точное совпадение по цвету и оттенку с природными камнями. Мне пришлось видеть коллекцию чешских имитаций. Отличить их от различных природных камней без специальных опытов крайне трудно.

Рис. 21. Выращивание фианита (кубической окиси циркония)
а — начало процесса; б — конец процесса, когда весь фианит при постепенном подъеме печи уже закристаллизовался; 1 — охлаждающий контейнер; 2 — нагреватель; 3 — механизм опускания; 5 — закалка, корка кристаллов; 6 — расплав; 7 — кристаллы; наверху — пористая корка
Часто задают вопрос, а можно ли отличить природный рубин от искусственного? Надо сказать, что это очень трудная задача, и чем лучше природный рубин, тем труднее отличить его от искусственного. Свойства и природного, и искусственного рубинов совершенно одинаковы, и в некоторых случаях только мелкие включения сопутствующих минералов и форма пузырьков помогают решить этот трудный вопрос.
Кристаллизация ювелирных бериллиевых минералов из растворов. Уже довольно давно пытаются получить кристаллы изумруда. Это стремление вполне понятно. После алмаза и рубина изумруд самый дорогой драгоценный камень, а стремление получить в свои руки большие ценности всегда было одним из двигателей технической мысли.
Первые попытки синтеза изумруда относятся еще к середине прошлого столетия. Немецкий исследователь Эбельман в 1848 г. опубликовал работу, где описывает попытку получения кристаллов изумруда из порошка. Для этого он сплавлял изумрудный порошок в борной кислоте. Были получены отчетливые кристаллы, но очень мелкие. Позднее французы Отефюль и Перри получили мелкие кристаллы берилла в платиновом тигле из расплава литиевого молибдата, в котором были растворены исходные компоненты. При добавке хрома получились зеленые кристаллы. Реакция шла при 800° на протяжении от 1 до 15 суток.