Противотанковая мина ТМ-62П2 с взрывателем МВП-62 - Страница 1
ПРОТИВОТАНКОВАЯ МИНА ТМ-62П2
Противотанковая мина ТМ-62П2 (с пластиковым корпусом) предназначается для минирования местности против танков, самоходных ракетных и артиллерийских установок, колесных и гусеничных бронетранспортеров противника.
Минный взрыватель МВП-62 предназначается для приведения в действие противотанковых мин серии ТМ-62.
Основные тактико-технические характеристики
Вес мины с взрывателем МВП-62 — 9,35–10,0 кг
Вес мины без взрывателя — 8,8–9,5 кг
Вес заряда ВВ при снаряжении:
— тротилом — 6,5 кг
— смесью МС или ТГА — 7,0 кг
Диаметр мины — 320 мм
Высота мины с взрывателем МВП-62 — 128 мм
Мина ТМ-62П2 с взрывателем МВП-62, установленная в грунт, не обнаруживается существующими индукционными миноискателями.
Мина ТМ-62П2 с взрывателем МВП-62 устанавливается средствами механизации минирования (ГМЗ-2, ПМЗ-4, ПМР-3, ВМР-1) и вручную.
Мина ТМ-62П2 с взрывателем МВП-62 имеет повышенную устойчивость к воздействию воздушной ударной волны ядерного взрыва и взрыва удлиненного заряда разминирования. Мина, установленная в грунт, не срабатывает и сохраняет работоспособность:
— после воздействия ударной волны с давлением во фронте 3,5 кг/см²;
— после взрыва удлиненного заряда разминирования с весом ВВ 8 кг/м на расстоянии 4 м от оси заряда и далее; на расстоянии 1–4 м от оси удлиненного заряда сохраняют работоспособность не менее 50 % установленных в грунт мин.
Мина ТМ-62П2 допускает ее применение со всеми взрывателями для мин серии ТМ-62 и с детонирующим устройством ДУ-62, а также может применяться с комплектом управляемого минирования УМП.
Устройство мины
Мина ТМ-62П2 (рис. 1) состоит из корпуса, заполненного зарядом ВВ, взрывателя или пробки. Для переноски мины имеется съемная ручка (сумка) из тесьмы.

Рис. 1. Противотанковая мина ТМ-62П2 с взрывателем МВП-62 в транспортном положении (общий вид):
1 — мина; 2 — взрыватель; 3 — ручка.
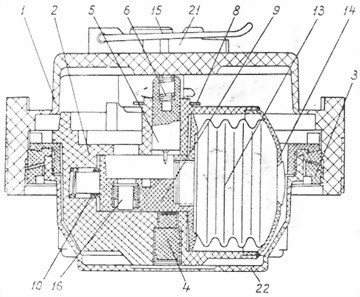
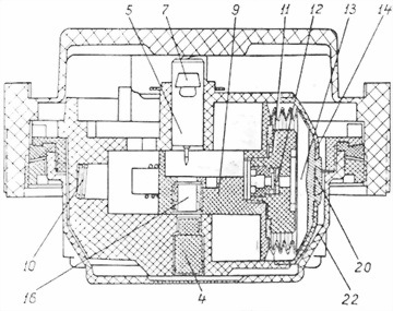
Корпус 1 (рис. 2) пластмассовый, состоит из двух частей, соединенных при помощи резьбы. В центре корпуса выпрессован запальный стакан 2, в котором помещен промежуточный детонатор 3 (цилиндрическая шашка из прессованного тротила весом 200 г). Стакан 2 имеет две резьбы: верхнюю — для ввертывания взрывателя или пробки 4 и нижнюю — для гайки 5, удерживающей промежуточный детонатор.

Рис. 2. Противотанковая мина ТМ-62П2 (разрез):
1 — корпус; 2 — запальный стакан; 3 — промежуточный детонатор; 4 — пробка; 5 — гайка; 6 — резиновая прокладка; 7 — заряд ВВ.
Герметизация запального стакана при ввертывании взрывателя (пробки) в мину обеспечивается резиновой прокладкой 6.
На поверхности корпуса мины нанесена маркировка: шифр мины, марка завода-изготовителя, номер партии, год изготовления, шифр снаряжения.
Корпус заполнен зарядом ВВ 7 из литого тротила или смеси МС (ТГА).

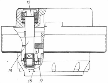
Рис. 4. Взрыватель МВП-62 в транспортном положении с вывернутой заглушкой:
1 — корпус; 2 — передаточный заряд; 3 — прорезь для вставления конца чеки при переводе взрывателя из боевого положения в транспортное; 4 — палец; 5 — хомутик; 6 — шток кнопки; 7 — заглушка.

Рис. 5. Взрыватель МВП-62 в боевом положении с вывернутой заглушкой.

а

б

в

г
Рис. 6. Взрыватель МВП-62 (разрез):
а — транспортное положение; б — боевое положение; в — положение кнопки в транспортном положении; г — положение кнопки в боевом положении;
1 — крышка; 2 — корпус; 3 — гайка; 4 — передаточный заряд ВВ; 5 — ударник; 6 — боевая пружина; 7 — лапки; 8 — резиновое кольцо; 9 — движок; 10 — пружина; 11 — втулка; 12 — диафрагма; 13 — сильфон; 14 — колпачок; 15 — кнопка; 16 — капсюль-детонатор; 17 — палец; 18 — хомутик; 19 — шток; 20 — распорная пробка; 21 — предохранительная чека; 22 — заглушка.
Крышка 1 (рис. 6) является приводом взрывателя, имеет ослабленное сечение в месте перехода от меньшего диаметра к большему, наружную и внутреннюю резьбы и выступы под ключ. Наружная резьба и выступы на крышке предназначены для ввинчивания взрывателя в мину. Внутренняя резьба служит для соединения крышки и корпуса 2 взрывателя при помощи гайки 3.
В корпусе 2 собраны ударный механизм, механизм замедления и передаточный заряд ВВ 4.
Ударный механизм состоит из ударника 5 с жалом и боевой пружины 6. На ударнике имеются два прилива-лапки 7, которыми он опирается через резиновое кольцо 8 (амортизатор) на корпус взрывателя. Пружина 6 верхним концом упирается в крышку.
Механизм замедления состоит из движка 9, пружины 10, втулки 11 с диафрагмой 12, имеющей отверстие, сильфона 13, колпачка 14, кнопки 15.
Движок 9 имеет на одном конце фланец и резьбу для соединения движка с втулкой 11 и сильфоном 13, на другом конце — стерженек, на который надета пружина 10. В средней части движок имеет гнездо для ввинчивания ниппеля с капсюлем-детонатором 16, углубление для блокировки движка ударником, в случае преждевременного срабатывания взрывателя, и два прилива. Один прилив имеет овальное отверстие и прорезь 3 (рис. 4), в которую вставляется конец чеки при переводе взрывателя из боевого положения в транспортное. Второй прилив имеет палец 17, на который надевается хомутик 18, насаженный и закрепленный на нижнем конце штока 19, кнопки 15. Хомутик 18 удерживает движок в транспортном положении.
Сильфон 13 — гофрированный резиновый баллончик, на открытом конце которого имеется утолщенный поясок, выполняющий роль герметизирующей прокладки. Для придания сильфону необходимой жесткости глухой его конец утолщен и имеет прилив, неподвижно закрепленный в колпачке распорной пробкой 20.
Кнопка 15 служит для перевода взрывателя из транспортного положения в боевое. Шток 19 кнопки проходит через отверстие в крышке, уплотненное для герметизации резиновой прокладкой, поджатой шайбами и гайкой.
В транспортном положении шток поднят и удерживается герметизирующей резиновой прокладкой и предохранительной чекой 21, надетой на кнопку. Движок 9 с капсюлем-детонатором отведен из-под жала ударника и от передаточного заряда и удерживается в этом положении хомутиком 18, надетым на палец движка. Сильфон заполнен воздухом.
Предохранительная чека 21 состоит из замка (фигурной скобы) и защелки.
Заглушка 22 пластмассовая, служит для герметизации взрывателя.
Взрыватель МВП-62 выпускается с завода в транспортном положении. Взрыватель имеет на крышке маркировку: шифр взрывателя, марка завода-изготовителя, номер партии и год изготовления.
Для ввертывания взрывателя в мину и вывертывания его из мины имеется ключ 1 (рис. 7), а для вывертывания и ввертывания заглушки — ключ 1 и фанерное гнездо 2, в которое устанавливается взрыватель при вывертывании и ввертывании заглушки ключом.
