Противопехотные деревянные мины ПМД-6, ПМД-7 и ПМД-7Ц - Страница 1
- 1
Противопехотные деревянные мины ПМД-6, ПМД-7 и ПМД-7Ц нажимного действия (см. рис.) предназначаются для минирования местности с целью поражения пехоты и конницы противника.
Мины ПМД-6, ПМД-7 и ПМД-7Ц состоят из следующих частей: корпуса с крышкой, соединенных шарнирно; взрывателя МУВ (или УВГ) с запалом МД-2; Т-образной боевой чеки; предохранительной чеки с мотком шнура длиной 6 м; пробки для корпуса (только в мине ПМД-7Ц); табельной толовой шашки весом в 200 г (для ПМД-6) или 75 г (для ПМД-7 и ПМД-7Ц), вкладываемой в корпус мины[1].
Вес и размеры указанных типов мин даны в таблице.
Вес и размеры деревянных противопехотных мин
| Данные мины | ПМД-7 | ПМД-7Ц | ПМД-6 |
|---|---|---|---|
| Вес заряда ВВ в г | 75 | 75 | 200 |
| Вес не снаряженной мины в г | 250 | 230 | 380 |
| Размеры в мм | 172×48×36 | 185×54×50 | 202×96×39 |
Корпуса мин ПМД-6 и ПМД-7 представляют собой прямоугольные деревянные коробки с круглым отверстием в торцевой стенке для взрывателя. Корпус соединен шарнирно с крышкой, имеющей на передней стенке паз, в котором помещается при закрытой крышке конец ударника взрывателя.
Передняя стенка крышки опирается на изогнутые под прямым углом концы боевой чеки взрывателя, вставляемого в отверстие корпуса.
Корпус мины ПМД-7Ц, изготовленный из цельного куска дерева имеет сквозное отверстие двух диаметров; отверстие большего диаметра предназначается для толовой шашки, отверстие меньшего диаметра — дл взрывателя.
Для хранения и перевозки корпуса мин укладываются в укупорочные ящики или в ящики-решетки по 100 штук в каждый.

А

Б

В

Г
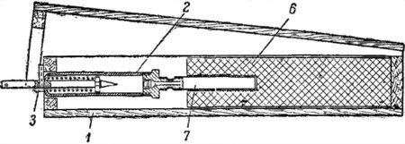
Противопехотные деревянные мины:
А — мина ПМД-6 (продольный разрез); Б — мина ПМД-6 (общий вид); В — мина ПМД-7; Г — мина ПМД-7Ц:
1 — корпус мины с крышкой; 2 — взрыватель МУВ; 3 — боевая Т-образная чека; 4 — предохранительная чека со шнуром; 5 — пробка для корпуса; 6 — заряд — толовая шашка (200 или 75 г.); 7 — запал МД-2.
Предохранительные и боевые чеки укладываются в корпус одной из мин, на котором наклеивается ярлык с указанием вложения.
На боковой стенке укупорочного ящика черной краской наносится маркировка, например:
1061, ПМД-6, 42, 136
где 1061 — условное наименование завода,
ПМД-6 — название мины,
42 — год изготовления,
136 — номер партии.
Для установки мины (ПМД-6, ПМД-7 и ПМД-7Ц) в боевое положение необходимо выполнять, с соблюдением осторожности, следующее:
1) снарядить корпус мины взрывчатым веществом (предварительно или на месте установки);
2) вырыть в грунте (снегу) ямку в соответствии с размерами мины;
3) примести в боевое положение взрыватель для чего: взвести ударник, вставить боевую Т-образную чеку и соединить корпус взрывателя с запалом МД-2;
4) поднять крышку мины, вставить взрыватель в отверстие корпуса, введя капсюль-детонатор в отверстие шашки, и повернуть взрыватель так, чтобы отогнутые концы чеки были внизу;
5) поставить мину с открытой крышкой в ямку, положить сверху на стенки корпуса предохранительную чеку и закрыть крышку; при этом предохранительная чека должна своим ушком высовываться из-под крышки; распустить моток шнура, привязанный к чеке;
6) замаскировать мину травой, листьями или тонким слоем (3–6 мм) земли, выведя наружу шнур;
7) отойдя на расстояние 5–6 м от места установки мины, потянуть за шнур и вытащить предохранительную чеку.
Мина готова к действию.
Место установки заносится в документацию согласно инструкциям по минированию.
Разминирование местности, заминированной деревянными противопехотными минами, производится проездом по местности тракторов или танков с катками, или путем взрыва зарядов ВВ на поверхности грунта.
Первый способ применяется при условии, если нет на поверхности противотанковых мин; второй — при проделывании в полосе минирования проходов.
Разминирование мин ПМД-6, ПМД-7 и ПМД-7Ц вручную воспрещается.
Под тяжестью наступившего на мину пехотинца, коня, давления колеса повозки или автомашины крышка, нажимая на отогнутые концы боевой чеки, выдергивает ее из ударника взрывателя. Ударник под действием пружины накалывает капсюль-воспламенитель, а последний вызывает взрыв капсюля-детонатора и заряда мины.