Простые роботы своими руками или несерьёзная электроника - Страница 3
На рисунках 16, 17 изображены картинки-коллажи на тему двух культовых фильмов братьев Вачовски (хотя сейчас корректней называть их просто Вачовски) — трилогии «Матрица» и киноистории «Облачный атлас». Элементы этих картинок были нарисованы с использованием копира, а затем с помощью компьютера «сложены в коллаж». И хотя основатели фризлайта в России Артём Долгополов и Роман Пальченков не являются сторонниками использования различных приспособлений и «технических ухищрений» при рисовании, тем не менее, рискну и предложу читателям данную конструкцию.


Итак, копир (рис. 18) состоит из нескольких основных частей.

«Механическая рука» 1 с парой шарнирных соединений, непрозрачный экран 2, лист картона 3, подставка для руки 4, вертикальная стойка 5, основание копира 6. Работают с ним так: копир располагают на столе в тёмном помещении, например, в гараже или ванной комнате. С одной стороны от экрана располагается фотограф или фотоаппарат на треноге и в автоматическом режиме съемки, с другой — человек рисующий. После открывания шторок перед матрицей за экраном «художник» в течение 10–15 секунд обводит рукой контур рисунка 7. Рисунок подсвечен с его стороны экрана-перегородки светодиодом — светильником 8.
Подробнее устройство «кисти руки» поясняет рисунок 19.

Светодиоды 1 красного, зелёного и синего цвета свечения создают изображение на матрице фотоаппарата. Их движением и свечением управляют с помощью ручки 10, на которой закреплены три кнопки включения 9. Светодиоды точно повторяют траекторию шарика 7 благодаря двум пластинам 8, жёстко связанным друг с другом. Перегородка-экран находится между шариком и основанием 6. Резисторы 2, 11 ограничивают ток через кристаллы светодиодов. Электрическая схема конструкции изображена на рисунке 20 и в особых пояснениях не нуждается. Светодиоды, резисторы и элемент питания 3 (литиевая батарейка) смонтированы на С-образной плате 4 из фольгированного гетинакса. Плата крепится к металлическому основанию 6 посредством магнита 5. Основание приклеено к пластине 8. Магнит, в свою очередь, припаян к плате. Такая вариация позволяет более точно устанавливать светодиод нужного цвета напротив шарика. Для более удобной замены плат светодиодов других цветов свечения предназначен разъём 11. Плата соединена с кнопками гибким шнуром 13 от компьютерной мыши.

Конструкцию основного шарнирного соединения поясняет рис. 21.

Пластины «механической руки» 1, 2, 3 выполнены из оргстекла толщиной 5 мм длиной 280 мм и шириной 30 мм. В пластину 1 вклеен шарикоподшипник 6 диаметром около 22 мм. Пластины 2 и 3 жестко соединены при помощи двух стоек 8 с внутренней резьбой в торцах под винты М4 (элемент 9). Во внутреннее кольцо подшипника жестко вставлена стальная ось 5. Для уменьшения люфта применена шайба 4 и пластмассовая втулка 7. Шнур 10 для исключения трения об экран при рисовании зафиксирован к пластинам отрезками скотча.
Крепление «руки» к перегородке поясняет рисунок 22.

Прямоугольная пластина 1 изготовлена так же из оргстекла и имеет размеры 40x75 мм. Шарикоподшипник 2 тоже вклеен в пластину, как и первый подшипник. Т-образная вставка 3 соединяет пластину 1 на рис. 22 с пластиной 1 на рис. 21. Она вклеена в неё секундным клеем и жестко вставлена во внутреннее кольцо подшипника. К экрану 4 пластина прикручена четырьмя винтами М3 с гайками (элемент 5).
При правильной и аккуратной сборке рука двигается легко и плавно, повторяя в точности контур изображения на листе 7 (рис. 18). Экран сделан из листового алюминия размерами 330 мм на 550 мм и толщиной 1,5–2 мм. Лист картона 3 смягчает движение шарика карандаша по бумаге. К экрану они крепятся полосками скотча. Размеры остальных элементов не критичны. Их соединение осуществляется при помощи саморезов, расходный материал — обрезки фанеры и ДСП.
Налаживание сводится к подбору номинала токоограничительных резисторов. Навык работы с копиром приобретается достаточно быстро, удобнее работать в паре, корректируя совместную деятельность. Сначала желательно начинать с одноцветных рисунков одного — двух замкнутых контуров (в общем — глазик, носик, ротик и т. д.). Постепенно усложняя линии, делая их прерывными можно получать более сложные изображения.
В заключение, скажу пару слов о ещё одном фризлайт-приспособлении. Зеркальная настольная призма (рис. 23). Три прямоугольных отрезка зеркала размером 10–15 см на 35–45 см скреплены полосками скотча и сложены в треугольную призму. Она, в свою очередь уложена в X- образное основание, сделанное из обрезков ДСП.

Рисование ведут в окрестностях плоскости основания призмы, объектив фотоаппарата помещают со стороны другого основания внутрь призмы. Для стабилизации объектива локти упирают в стол. Получаются красивые разноцветные узоры — рисунки 24–26.



Робот усач
Забавная игрушка (рис. 27) жук-усач сделана, а точнее модернизирована по горячим следам робота пограничника. Теперь он бегает за пальцем, стараясь не упустить его из «поля действия своих усов», этакая игривая зверюшка…

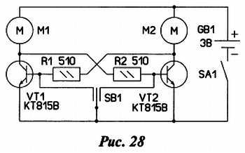
Принципиальная схема конструкции дана на рис. 28.

На транзисторах VT1, VT2 реализован триггер, управляющий работой двигателей M1, М2. «Перекидная кнопка» SB1, в свою очередь, управляет его работой.
Триггер действует, практически, как импульсное устройство. Его основу составляет пара транзисторов, работающих в ключевом режиме. Переход в новое состояние продолжается в течение очень короткого времени. Все триггеры отличаются особым свойством, заключающимся в способности запоминать двоичную информацию. На этом принципе и основано функционирование данных приборов. Сама память триггера заключается в возможности сохранять каждое состояние после того, как прекратит свое действие переключающий сигнал. Если одно состояние принять за единицу, а другое — за ноль, то, по сути, получается запоминание одного числового разряда, из которого состоит двоичный код. В данной конструкции это свойство заключается в том, что переключение моторов происходит при кратковременном касании датчика — уса о препятствие. Следующее переключение моторов произойдёт только при новом касании уса о преграду.