Простые роботы своими руками или несерьёзная электроника - Страница 22

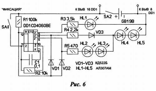
Порядок расположения светодиодов на индикаторе и последовательность переключений граней поясняет рис. 7 (элемент 1).

Работает схема следующим образом. После включения питания (SA2), при разомкнутых контактах выключателя SA1 запускается генератор микросхемы и происходит «перебор граней кубика». Процесс преобразования двоичного кода на выходах счётчика DD1 (выводы 5, 4, 6) в «код» граней происходит так. При коде 000 ни один из светодиодов не горит это грань «пусто». При коде 001 (высокий уровень на выводе 5) загорается светодиод HL1 — грань «1», при коде 010 светят светодиоды HL4, HL5 это грань «2» и т. д. Когда на выходах счётчика установится код 110 (цифра 6) благодаря обратным связям через диоды VD1, VD2 на входе R счётчика установится высокий уровень. Произойдёт его обнуление и рабочий цикл повторится вновь.
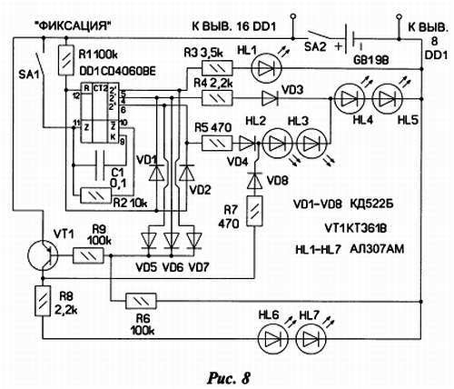
При желании создания традиционного кубика (рис. 7 — элемент 3) схему можно доработать в соответствии с рисунком 8.

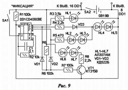
Если применять «восьмигранный кубик» то его можно реализовать по схеме рисунка 9.

Сделать его, правда, можно только в электронном виде.
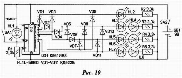
Появление ярких светодиодов с током потребления в доли миллиампера при заметном свечении сделало возможным реализацию кубика в шесть граней согласно схеме рисунка 10.

Её основа микросхема К561ИЕ8. Это десятичный счётчик с дешифратором. При подаче тактовых импульсов, например, на вход СР происходит последовательное появление логической единицы на каждом выходе 0–9. Диодная матрица VD1-VD11 преобразует последовательный код в код граней кубика. При наличии единицы на выходе 3 ток через диод VD1 поступает на светодиод HL1. Например, при наличии высокого уровня на выводе 1 ток поступает через диод VD10 на светодиоды HL3, HL4, а через диод VD11 на светодиоды HL5, HL6. Непосредственно элементы HL7, HL8 питаются с выхода микросхемы. Мигающий светодиод HL1 создаёт импульсы, переключающие триггеры счётчика.
Заключение
Вот и всё, читатель, о чём я хотел тебе рассказать в рамках «игрушечной электроники» самоделок. Эта третья книга — последняя в данной тематике.
Транзисторная электроника и электроника логических схем неотвратимо уходит, уступая место микроконтроллерам. Вместо паяльника и фольгированного текстолита приходит «беспаечная макетка» и компьютер, готовая плата и написанные кем-то программы. Разнообразие простых самоделок заменяется обилием конструкторов и «настольных проектов» в стадии вечных макетов. Описания-рассказы трансформируются в доходчивые инструкции-приложения. Наверное, так и должно быть в стране, в которой радиоэлектронная промышленность — давно уже не промышленность, а увлечение или хобби многих людей, никак не связано с их профессиональной деятельностью. Мир преображается.
Читая эти строки, ты читатель, возможно, отметишь про себя, что эта книга старомодна и мало востребована. Отчасти ты прав. И, тем не менее, мне вдвойне приятно выразить слова благодарности издателю в лице Митина Владимира Александровича, взявшего на себя финансовые риски, решившись на издание данных книг. Сегодня радиолюбительство переживает не лучшие времена, поколения меняются, взгляды и интересы тоже. Однако разнообразие и альтернативность, простота и доступность всегда определяли направление вектора творческой самореализации человека.
Успехов и радости!
Автор
Список используемой литературы
При написании данной книги мною были использованы материалы авторских статей в следующем порядке:
Мамичев Д. Электронные весы-игрушка // РАДИО 2009; № 6; с.45
Мамичев Д. Бабочка // РАДИО 2014; № 2; с.47
Мамичев Д. Игрушка «Жук-брызгалка»// РАДИО 2011; №; с.51
Мамичев Д. Игрушка-сувенир «Привет — Пока!» // РАДИО 2010; № 5; с.48.
Мамичев Д. «Настоящий» электронный кубик// РАДИО 2009; № 4; с.45
Мамичев Д. Игра «Минное поле»// РАДИО 2006; № 6; с.50
Мамичев Д. «Шарманка-2» // РАДИО 2008; № 2; с.48
Мамичев Д. Светодиодная «лампада» // РАДИО 2013; № 12; с.45
Мамичев Д. Светодиодная «кисть» для фризлайта // РАДИО 2014; № 8; с.48
Мамичев Д. Ночник «Ассорти»// РАДИО 2011; № 10; с.53
Мамичев Д. Кораблик-катамаран, управляемый светом // РАДИО 2014; № 9; с.49
Мамичев Д. Звонница на основе жестких дисков// РАДИО 2014; № 11; с.48
Мамичев Д. Электронный кубик // РАДИО 2004; № 6; с.48
Мамичев Д. Электронные кубики // РАДИО 2009; № 2; с.49
* * *
