Простые роботы своими руками или несерьёзная электроника - Страница 19

Для них надо применить два одинаковых виброзвонка. Технологии снятия эксцентрика с вала виброзвонка и изготовления гребного винта подробно рассмотрены в указанной выше статье. Из листовой пластмассы толщиной 2 мм изготавливают прямоугольные опоры 1, у каждой их которых есть отверстие для крепления к корпусу корабля и прорезь для приклеивания к U-образной скобе 5 (изготовлена из такой же пластмассы). К скобе приклеивают виброзвонок 2, а на его вал надевают отрезок 3 (ПВХ изоляция тонкого провода), в котором закреплён вал 4 (отрезок тонкой стальной проволоки от скрепки). С другой стороны вала 4 с помощью ещё одного отрезка 6 закреплён винт 7. Готовые двигатели испытывают. При напряжении 1,5…2,5 В на воздухе винты должны быстро вращаться, а каждый двигатель — потреблять ток не более 20…35 мА. Если винты вращаются с разной скоростью — для дальнейшей реализации конструкции это допустимо.
Следующий этап — изготовление плат с перемычками. Большинство элементов монтируют на односторонней монтажной печатной плате (рис. 21) из фольгированного стеклостекстолита толщиной 1,5 мм.

Применены таймеры в корпусах для поверхностного монтажа, их выводы вставляют в пазы и приклеивают к плате. Монтаж проводят с помощью тонкого (0,15…0,3 мм) лужёного провода. На шесть фольгированных площадок с отверстиями выводят питание, выходы и входы Е таймеров. Сверху (рис. 22) навесным монтажом крепят резисторы, конденсаторы, транзистор, фототранзистор VT3 и геркон.

Плата-держатель элементов питания с металлическими перемычками изготовлена из односторонне фольгированного стеклотекстолита, её чертёж показан так же на рис. 21. Две перемычки 1 из металлической проволоки, соединяющие корпуса катамарана вставлены в отверстия в плате 4 и припаяны к ней. Из металлической скрепки изготовлена стойка 3 и скоба 2, которая удерживает гальванические элементы 5. Для изоляции на перпендикулярные плате участки скобы 2 надеты отрезки 6 трубки ПВХ. Плату с деталями через изоляционную прокладку приклеивают к скобе 2, дополнительно к стойке 3 (она соединена с «+» батареи) припаяны некоторые детали на монтажной плате.
Далее изготавливают корпуса — поплавки (рис. 23).

Пластмассовое основание 6 вырезают в форме пули из прямоугольного куска чёрной пластмассы размерами 20x55 мм и толщиной 3 мм. Поплавок 10 из пенопласта размерами 13x25x65 мм вырезают терморезаком. Его окрашивают масляной краской, а на пластмассовое основание наклеивают рубку 4 (пластмассовая клавиша от компьютерной клавиатуры). Сбоку в основании делают два отверстия для вклеивания платы-перемычки 5, затем основание приклеивают к поплавкам. Двигатель 1 крепят к основанию 6 с помощью отрезков 3 канцелярских скрепок. Фототранзисторы VT1 и VT2 закреплены на выносных балках 9 и 2, которые припаяны к печатной плате, на которой размещён VT3. На все фототранзисторы надеты световые экраны — отрезки изоляции шнура от компьютерной клавиатуры.
Если один двигатель вращается быстрее второго, кораблик станет поворачивать в сторону. Чтобы устранить этот недостаток более «быстрый» двигатель можно развернуть к внешней стороне кораблика на 15…45 градусов или параллельно выводам виброзвонка подключить резистор сопротивлением 130…220 Ом, а последовательно — резистор сопротивлением 10…24 Ом. Осадка и крен вперёд или назад можно выровнять наклейкой на дно дополнительных поплавков 7 или балластных металлических шайб 8. Соответствие направления движения даваемым командам устанавливают экспериментально подключением подводящих проводов к виброзвонкам.
Управляют корабликом с помощью жезла (изготовленного из любого материала), на конце которого закреплён круг из непрозрачного материала диаметром 4…6 см, закрашенный чёрной краской.
Игрушка-сувенир «Конический маятник»
Внешний вид игрушки представлен на рисунке 24.

Два шарика на стержнях шарнирно закреплены к оси вращения. При её движении стрежни расходятся на некоторый угол, образуя конус вращения — отсюда и название маятника.
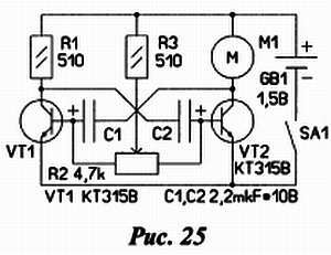
Схема конструкции дана на рисунке 25.

Работой двигателя M1 управляет мультивибратор, реализованный на транзисторах VT1, VT2. Резистором R2 регулируется длительность и скважность импульсов тока, питающих двигатель, а следовательно скорость вращения маятника и угол отклонения шариков.
Конструкцию сувенира поясняет рисунок 24. Подвижная часть состоит из оси вращения 11 (отрезок стальной проволоки диаметром 0,5–0,7 мм и длиной около 6 см), перекладины 10 из того же материала и двух стержней 9 с шариками и шарнирами на концах. Декоративные элементы 12 выполнены из медной проволоки ПЭЛ-0,35 и приклеены к стержням «секундным клеем». Ось вращения 11 соединяется с двигателем 7 посредством отрезка изоляции 8 (длина 10–12 мм) тонкого 3 мм (дно компьютерной клавиатуры). Сама рамка приклеивается к кольцу — основанию 2. Внизу к рамке приклеивается контактная панель 13 — прямоугольный отрезок фольгированного гетинакса. Выводы двигателя с панелькой соединяют витой проволокой 5 (ПЭЛ-0,15 намотанная на стержень-оправку диаметром 3 мм). Готовый маятник приклеивают к основанию 3 (оргстекло толщиной 4 мм и размером 30х105 мм). Снизу в углах приклеены четыре «ножки» 1 (отрезки резиновой трубки из привода автомобильного CD-проигрывателя).
Плата 4 с смонтированными элементами и проводными выводами к контактной панели 13 также приклеивается к основанию 3 через четыре резиновые опоры 1. В заключение производится электрическое соединение платы и двигателя маятника (панелька 13).
Большинство элементов схемы монтируется на плату из односторонне фольгированного текстолита. Эскиз топологии печатных проводников дан на рис. 26.

В конструкции применены резисторы МЛТ. Переменный резистор — импортный. Транзисторы можно использовать любые данного типа проводимости. Двигатель взят от виброзвонка сотового телефона, электролитические конденсаторы тоже импортные.
Звонница на основе жестких дисков
В октябрьском номере журнала РАДИО за 2009 г. на с. 52 опубликована моя статья «Колокольный звон… из жестких дисков». Хочу предложить твоему вниманию читатель новый, изменённый вариант конструкции с другой схемой управления.
Внешний вид устройства представлен на рис. 27.

Основным элементом конструкции (помимо двух дисков) являются молоточки, закреплённые на шестерне, которая совершает колебательные движения. Поэтому молоточки поочерёдно ударяют по дискам, создавая перезвон.
Схема управления устройством представлена на рис. 28.