Практичные самоделки для дачи своими руками - Страница 7

Буролопата
Для выкапывания узких и глубоких (более 1 м) ям и скважин можно применить буролопату. Это приспособление состоит из 2 лопат с фигурными ручками. Между собой их соединяют шарниром. Чтобы пробурить скважину с помощью буролопаты, берутся за черенки и раздвигают лопасти на величину, равную размерам отверстия. Затем кромками рабочих частей лопат ударяют в землю. Этот прием повторяют. Затем поворачивают инструмент (примерно на 120°), ударяют во второй раз. В результате в дерне образуется почти правильный круг. После этого сдвигают рукоятки, захватывают грунт и выбрасывают его. Пока не будет выкопана ямка глубиной 150 – 200 мм.

В хозяйстве желательно иметь 2 комплекта деревянных черенков: один – длиной 120 см (для рытья скважин глубиной до 150 см), второй больше: в зависимости от глубины скважины. За 25 – 30 мин можно вручную пробурить скважину диаметром 250 мм на глубину 160 – 170 см.
Земляной бур
Подобное техническое приспособление позволяет легко извлекать из почвы глубоко сидящие в ней мощные корни различных сорных растений.

Гидробур
Приспособление предназначено для внесения удобрения непосредственно в корневую зону, существенного сокращения потери влаги на испарение, уменьшение степени травмирования корней растений, смывания вредителей со стволов и ветвей.

Гидробур. 1 – трубка, 2 – наконечник, 3 – шланг, 4 – тройник, 5 – ручка, 6 – кран, 7 – бак дозатора, 8 – гибкая перегородка, 9 – шланг, 10 – вентиль, 11 – шланг.
На прочный резиновый шланг надевают конический наконечник. Диаметр его выходного отверстия должен быть 6 – 8 мм. При давлении в водопроводе в 1 ат вода, вытекающая из гидробура, в считанные секунды вымывает в почве отверстие глубиной до 70 см (диаметром до 6 см).
Для того чтобы с помощью гидробура внести подкормку, к нему подсоединяют гидрокомпрессор с гибкой перегородкой. После его подсоединения подачу питательного раствора регулируют с помощью специального вентиля.
Бур из старой кастрюли
Изготовленный из старой кастрюли бур фиксируют на стояке, предварительно снизу установив обломок сверла (диаметром 25 мм). (Вместо него можно использовать скрученную спиралью полоску стали.) К корпусу с 2 сторон прикреплены по ножу. Перед каждым из них проделаны небольшие прорези (шириной 30 – 40 мм). При заглублении бура через эти самые прорези грунт подается в кастрюлю. Затем его удаляют.

Бур из старой кастрюли. 1 – наконечник, 2 – щель, 3 – нож, 4 – крепление ножа, 5 – корпус, 6 – стояк.
Маркеры и сеялки
На дачном участке куда ни повернись, сплошь требуется ручной труд. Даже примитивная механизация работ существенно облегчит дело и повысит производительность труда. Маркер – приспособление, которое позволяет одним движение сделать не одну, а сразу несколько бороздок (или гнезд) для семян.
Поперечный маркер

Поперечный маркер. 1 – основание, 2 – рейка, 3 – рукоятка, 4 – стойка-опора, 5 – метчик.
Если планируется, что посевы на грядке будут располагаться поперек, бороздки делают с помощью поперечного маркера, захватывающего всю ширину гряды.
Основанием маркера служит доска. Снизу к ней прибивают рейки, но не плоские, а имеющие треугольное сечение. Сверху крепят рукоятку со стойкой-опорой и метчиком. Маркер кладут поперек гряды и упираются ногой в доску. При этом одна из граней рейки вдавливается в почву и оставляет ровные бороздки. Шип метчика является своеобразной границей для следующей установки маркера. Ряд за рядом устанавливая маркер, размечают всю грядку.
Продольный маркер
Когда растения располагают вдоль гряды, то используют продольный маркер, по форме напоминающий грабли. Но это только по форме: вместо зубьев к основе прикрепляют 3-гранные параллельно расположенные деревянные брусочки.

Приспособление дает возможность за один проход сделать сразу 12 борозд.
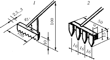
Простой маркер
Сделать посадки овощных культур более аккуратными поможет более простой маркер.

Его конструкция и размеры показаны на рисунке (1 – для семян редиса, 2 – для семян гороха).
Маркер из граблей
Приспособить под маркер можно и обыкновенные грабли. Но без усовершенствования здесь не обойтись.

К граблям на болтах крепят 2 металлических острия, по длине превосходящих их зубья. Просверлив же в планке граблей несколько отверстий, переставляя острия, можно менять расстояние между ними, а следовательно, интервал между бороздками.
Упрощенный маркер
Выручит, когда требуется сделать много лунок для семян. Похож на инструмент, которым пользуются штукатуры. Делают из доски или куска ДСП. На рабочей поверхности маркера закрепляют деревянные шипы, а сверху приделывают ручку.
Несложный маркер
Делают из старых («беззубых») граблей. К основанию, с противоположной стороны приклепывают «усики» из 3 тонких металлических пластинок.

В середине основания предусматривают треугольную выемку. Благодаря ей маркер можно перемещать по натянутому шнуру, что гарантирует аккуратность разметки.
Маркер (И. Михайлов)
Предназначен как для посева редиса и моркови, так и для разметки участка под томаты и огурцы. Умелец в основу изобретения положил деревянные рейки шириной 50 – 60 мм (толщиной 15 – 30 мм и длиной 130 и 200 см). Он обстругал их рубанком, придав форму клина, а затем соединил 2 короткими (пропорционально величине междурядий) поперечными брусками. Перед началом сельхозработ огородник кладет конструкцию на грядку, слегка надавливает на нее ногой – и в почве появляются борозды глубиной 20 – 30 мм. Местоположение будущего растения рационализатор определяет так: он укладывает на площадку заранее размеченную трубу диаметром 76,2 мм. Ее длина соответствует размеру участка.
Маркер (Н. Семенов)
Изобретатель стальной прут (диаметром 12 мм) пропустил через металлическую трубу (длиной 30 и наружным диаметром 6 см). На концы доморощенной оси он насадил по подшипнику.
К той же оси огородник прикрепил 2 изогнутые пластины, образующие «рога». Между их концами вставлена вторая труба, но уже длиной 120 см (сквозь ушки пластин и нижний конец второй трубы, для большей прочности соединения, просверлены 2 ряда отверстий диаметром 8 мм. В них вставлены крепежные болты М8). В зависимости от желаемой ширины междурядий на вращающийся в горизонтальной плоскости вал надевают от 3 до 7 дисков (наружным диаметром 100 и внутренним – 60 мм). Толщина дисков – 10 мм, внешняя кромка их заточена на конус). С целью облегчения перемещения маркера сверху в вертикальную трубу вставлен руль от детского велосипеда.
Маркер многорядный
Делают из куска толстой фанеры (или ДСП). В основании приспособления через необходимые промежутки сверлят отверстия (в несколько рядов). В них вбивают деревянные круглые колышки, выступающие с одной стороны основания на требуемую величину. Нижний конец колышков заостряют. С 2 сторон основания приделывают ручки.