Практичные самоделки для дачи своими руками - Страница 21
Уровень воды в баке должен сохраняться постоянным, и после использования определенного объема ее следует доливать. Аккумулятор снабжен регулятором уровня (емкость объемом 30 – 40 л), к которому поводят водопровод с запорным клапаном поплавкового типа. Регулятор уровня с нижней частью бака соединяют трубой. По окончанию сезона воду сливают (через вентиль).
В средней полосе России ясным летним днем вода в баке нагревается до 80°С.
Солнечный водонагреватель
В этом устройстве коллектор состоит из 15 тонкостенных стальных труб (диаметром 16 и длиной 1600 мм) каждая. Их верхние и нижние концы приваривают к подводящей и отводящей трубам (диаметром 25 мм). Корпус коллектора представляет собой плоский короб, сбитый из досок. Его стенки и дно тщательно изолированы пенопластом. Поверх пенопласта на дно короба укладывают лист кровельного железа. На него кладут регистр и закрепляют его скобками, сделанными из полосы стали. Регистр, железо и стенки короба (изнутри) покрывают черной (матовой) краской – для того чтобы они лучше поглощали солнечные лучи. Затем короб затягивают обычной полиэтиленовой пленкой (лучше накрыть стеклом), стараясь сделать его герметичным. Можно использовать для этого оконную замазку. Для уменьшения потерь тепла снаружи короб покрывают белой краской.

Коллектор солнечного водонагревателя. 1 – отводящая труба, 2 – стекло, 3 – трубы, 4 – пенопласт, 5 – лист железа, 6 – подводящая труба.
Аккумулятор делают из бочки емкостью 150 – 200 л. Ее ставят в деревянный ящик с крышкой (съемной), а пространство между его стенками и бочкой заполняют пенопластом, шлаковатой, сухими опилками и другими теплоизолирующими материалами.
Трубы (диаметром 19 – 25 мм) для циркуляции воды между регистром и баком соединяют стандартными резьбовыми муфтами и тройниками. Изолируют места соединений паклей с масляной краской. Трубы термоизолируют лентами поролона.
Аккумулятор размещают на чердаке какого-либо строения, по соседству с баком для холодной воды, а коллектор – непременно на южном скате крыши, с наклоном 45 – 60°. Его опускают как можно ниже аккумулятора: это необходимо для улучшения циркуляции воды.
«Производительность» солнечного нагревателя увеличивают подключением к баку еще 1 (или даже 2) коллектора.
Душ с подогревом воды
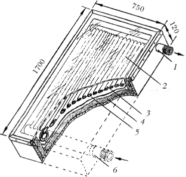
Сначала вода из бака попадает в специальный ящик – водонагреватель, который устанавливают на поворачивающейся подставке, а потом поступает в душевую установку. Под бак приспосабливают железную бочку, предварительно покрытую черной краской. Обычный смеситель разбавляет горячую воду холодной. Изготовленный из листового железа бак вместимостью 100 л укреплен в деревянном ящике, закрытом 3 оконными стеклами (расстояние между ними составляет 20 – 25 см), на брусках-подкладках. Его размеры – 100×50×20 см. Штуцеры делают из металлической трубки (диаметром 14 – 16 мм), располагают по диагонали вплотную к стенкам бака и приваривают ко дну. Левый штуцер входит в бак на глубину 10 – 12 мм (чтобы не образовывался воздушный мешок), а правый – на 5 – 7 мм.

Водонагреватель. 1 – бруски-подкладки, 2 – теплоизоляционный слой, 3 – рамка, 4 – оконные стекла, 5 – деревянный ящик, 6 и 8 – штуцер, 7 – бак.
Между стенками ящика и бака прокладывают слой теплоизоляции толщиной 35 – 40 мм (войлока, стекловаты, пористого картона). Его прикрывают деревянной ступенчатой рамкой, которая прибита к боковым стенкам ящика. На ее «ступеньки» кладут стекла и промазывают их замазкой.
Готовый водонагреватель обязательно проверяют на отсутствие в нем щелей и перекосов, в которые могла бы просачиваться вода. Водонагреватель с обеих сторон сжимают стальными полосами, сидящими на оси (диаметром 10 – 12 мм). Опирается конструкция на полочку уголка (40×40 мм), укрепленного откосами. Поперечина, соединенная с нагревателем уголками, позволяет регулировать его наклон. Вес нагревателя принимает на себя вертикальная труба, входящая в трубу большего диаметра и упирающаяся в болт. С поперечиной трубу соединяют стяжкой.

Крепление и поворотное устройство водонагревателя. 1 – откос, 2 – полочка уголка, 3 – ось, 4 – стальные полосы, 5 – уголки, 6 – поперечина, 7 – стяжка, 8 – труба большего диаметра, 9 – болт, 10 – труба.

Общий вид душевой установки.
Душ, работающий на солнечной энергии
Поплавок, с привязанным к нему шлангом, опускают в бак с водой. Устройство позволяет пользоваться водой из верхнего слоя, нагретого солнцем. Вырезают поплавок из куска пенопласта.


Бак, закрытый стеклом.
Некоторые изобретатели пошли еще дальше: чтобы мыться чистой водой, в которой нет ни пыли, ни мусора, они закрывают бак рамкой из металлического уголка, в которую вставлено стекло.

Бак из автомобильной камеры.
В качестве емкости для воды вместо бака можно приспособить обычную автомобильную камеру.
Идея не лишена смысла: во-первых, вода в такой емкости не ржавеет, а во-вторых, быстро нагревается.
Каркасы для овощных и ягодных культур
Совсем не лишним при выращивании рассады и овощей под пленкой на садовом участке будут простые по устройству каркасы, а также временные укрытия.
Каркас из молодых прутьев ивы, орешника или тополя
Это самый простой и дешевый каркас, который может построить даже неопытный огородник. Для обеспечения нужной высоты каркаса (40 – 50 см) прутья должны быть длинными. Более толстые концы заглубляют (на 10 – 15 см) в землю, а тонкие переплетают вверху между собой и завязывают шпагатом.

Чтобы пленка (или другое укрытие) не провисали, по верху дужек натягивают шпагат и захлестывают его петлей над каждой дужкой.
Для устойчивости каркаса концы шпагата с обеих торцевых сторон закрепляют к вбитым в землю колышкам.
Если в хозяйстве нет пленки, на такой каркас набрасывают любой утепляющий материал (рогожу, толь, маты, старые одеяла или клеенку, а также полотна, специально сшитые для этого из толстой оберточной бумаги). Такое укрытие предохранит растения от заморозков и временных похолоданий.
Каркас из проволоки
Такой каркас делают из проволоки сечением 4 – 5 мм. Расстояние между дужками составляет 80 – 100 см.

Чтобы пленка не провисала, по верху дужек натягивают проволоку, но меньшего сечения (2 – 3 мм).
Для устойчивости каркаса и удобства его переноса нижние концы проволочных дуг крепят к 2 параллельным рейкам в виде полозьев.
Расстояние между полозьями – 80 см, высота в центре дужки – 50 см.
Каркас из треугольников

Делают из деревянных реек сечением 4×4 см. Кол в центре треугольника заостренным концом заглубляют в землю, что делает каркас устойчивым. Треугольники ставят один от другого (по длине каркаса) на расстоянии 3 – 5 м, а между ними – дужки из проволоки. По верху треугольников и дополнительных дужек и по их боковым сторонам натягивают шпагат. Размеры деталей на рисунке даны в см.