Практичные самоделки для дачи своими руками - Страница 18
Защита деревьев от грызунов
Оригинальный способ предложили садоводы: они берут лист плотного материала (например полиуретана), проделывают в нем небольшие отверстия и обворачивают им, в виде упругой спирали, стволы деревьев на участке.
Размер отверстий в материале должен быть таков, чтобы растение могло дышать, а вот грызуны не пролезали через них. «Упакованные» таким образом стволы надежно защищены от грызунов.
Ловушка для летающих насекомых
Для изготовления потребуются кусок старой вентиляционной трубы (диаметром 400 мм), электропатрон (с лампочкой мощностью 25 Вт), бутылка (без дна) и ведро (с крышкой). Ведро ставят внутрь трубы, а бутылку укрепляют в стенке. Ведро закрывают крышкой, а сверху закрепляют электропатрон с лампочкой.
Включают ловушку, когда уже стемнело: насекомые, привлеченные светом, попадают в трубу (через бутылку). Обратно вылететь они уже не могут, и спустя короткое время, выбившись из сил, падают в ведро. После этого крышку опускают в ведро, а его само вынимают из трубы.
Ручной опылитель
Оно из них состоит из брезентовых мехов, деревянного корпуса трубки-распылителя, 2 ручек, ремня и зажимов.
Зажимы, удерживающие трубку-распылитель, отворачивают, и в отверстие в корпусе устройства засыпают химпрепарат. Затем опылитель вешают на шею, надевают марлевую повязку и защитные очки. Опыление производят, сжимая и разжимая ручки меха.
Длина струи выбрасываемой ручным опылителем достигает 3,2 м, ширина сектора – 0,9 м. Длину струи, а соответственно, и расход вещества регулируют интенсивностью раскрытия мехов.
Приспособления для прививки кустов и деревьев
Шпилька для окулировки (М.Л. Скрыль)
Длина рабочей части приспособления составляет 31 мм, ширина – 3 мм, высота в районе ручки – 4 мм, в конце – 1,5 мм. Верхние бока шпильки, сделанной из твердой древесины, изобретатель частично скосил – так, что они образовали треугольник. Конец самой шпильки с боков и сверху он заострил.

А ручку он оснастил крючком (для подвешивания). Используется шпилька как альтернатива косточке прививочного ножа: она практически не поднимает кору черенка.
Шаблон для косых срезов на черенках при весенних и зимних прививках (А, В, Сергеев)
Приспособление можно использовать при ширине черенка от 4 до 10 мм. Садовод в паз шириной 10 мм вложил пластинку толщиной 1 и 0,5 мм.

Нож оригинальной конструкции для прививок всех видов плодовых деревьев
Нож имеет конусообразную форму, желобок на лезвии и одностороннюю режущую кромку.

Такая конструкция позволяет делать продольный срез на подвое под любым углом, в любой абсолютно части кроны или штамба. Кроме того, он дает возможность сделать желобок в древесине.
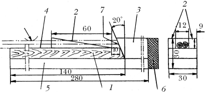
Эффективное приспособление для прививки и перепрививки деревьев
Работают с этим устройством так: привой и подвой (диаметром до 6 мм) размещают в пазе (12×12 мм) настила, а их торцы прижимают к упорной плоскости. Прививки прижимают к настилу пальцем левой руки.
Острым лезвием чистого ножа делают качественный срез, скользя по полозкам. Прививки снова укладывают в паз, прижимают к настилу и срезают (по одному).
Затем на треть длины среза делают расщеп и свободный конец черенка отсекают над 2 – 3-й почкой.

Приспособление для прививки. 1 – обойма, 2 полозки, 3 – упор, 4 – настил, 5 – основание, 6 амортизатор, 7 – упорная плоскость.
Габариты составных частей приспособления:
– деревянная обойма (20×30×140 мм);
– полозки из нержавеющей стали, 2 шт. (0,2×9×80 мм),
– упор, сделанный из дерева (20×30×150 мм),
– настил из пленки (0,3×12×160 мм),
– основание (10×30×280 мм),
– амортизатор из пористой резины (размер определяется свободным местом).
Деревянная обойма имеет 3 рабочие плоскости: 2 ровные, расположенные на одной линии с уклоном 20° (на них крепятся 2 полозка) и 1 – опорную, на которой располагают настил.
Обойму, упор и основание, поскольку они сделаны из дерева, покрывают олифой (или лаком). Все детали приспособления делают из отходов производства.
Самодельный транспорт
Для перевозки органических удобрений, собранных плодов и других грузов в пределах участка многие садоводы используют тележки собственной конструкции. Среди огромного количества этих самоделок встречаются удобные и функциональные устройства, призванные серьезно облегчить труд на дачным или приусадебном участке.
Оригинальная велотележка (П. и Б. Морозовы)
При создании своего «транспортного средства» изобретатели использовали подручные материалы: заднюю часть двухколесного велосипеда для взрослых они спереди присоединили (вместо руля и переднего колеса) тележку с кузовом, который установили на 2 велосипедных колеса. Работать с подобной велотележкой может любой человек – даже тот, кто абсолютно не умеет ездить на велосипеде.
Тележка имеет 3 точки опоры, поэтому достаточно устойчива. Управлять ею несложно: умельцы скрепили высокий П-образный руль с рамой тележки, а ее, в свою очередь, насадили на поворотный кронштейн с 2 жесткими ограничителями поворота. Чтобы остановить велотележку, как и любой двухколесный велосипед, обратным движением педалей «включают» трещотку заднего колеса.
Роликовая тележка (В. Шишков)
Умелец в стенке железной бочки вырезал прямоугольник, а под ним, ближе к днищу, болтами прикрепил 2 деревянные ручки. С обеих сторон некоего подобия корыта (ниже центра) приварил на коротких штырях 2 толстых металлических круга. Они перекатываются по опорным стальным колесам с помощью роликов (или шариков).
Чтобы разгрузить тележку, емкость, резко приподняв ручки, опрокидывают на 180°.
Полуавтоматическая роликовая тележка (В. Томашевский)
Рационализатор в поперечинах рамы своей тележки вырезал полукруглые выемки (6 шт.). В них он поставил вмонтированные в специальную платформу ролики. Она в процессе перевозки лежит на раме тележки, поддерживая груз.
На месте разгрузки слегка умелец слегка приподнимает один край платформы. Ролики, под тяжестью груза, вращаются, и он плавно съезжает с платформы.
Тележка-сани (Н. Ковалевский)
Концы 2 перекладин (от детской коляски) изобретатель загнул вверх по радиусу 20 мм, отведя их на 15° за вертикаль. Среднюю же часть (длиной 60 см) он оставил прямой. Получились санные полозья. Противоположные концы каждого полоза соединил стальными полосами, а их стянул 3 поперечинами и вышла прочная рама, лежащая на полозьях. Отступив на 15 см справа и слева, на боковинах просверлил 4 сквозных отверстия и пропустил сквозь них стержни – оси будущих колес. Колеса он закрепил шайбами и шплинтами. Если это «транспортное средство» надо использовать зимой, рационализатор размещает поклажу между колесами. Летом он просто переворачивает тележку и катит ее по дороге, положив груз между полозьями.
Универсальное транспортное средство (Н. Семенов)
Умелец изогнул в виде санных полозьев 2 уголка (размером 25×25 м и длиной 80 см) на расстоянии 50 см от края. Изогнутые части он соединил между собой 2 металлическими поперечинами с таким расчетом, чтобы верхнюю можно использовать в качестве ручки.