Практичные самоделки для дачи своими руками - Страница 10
Автоматический полив
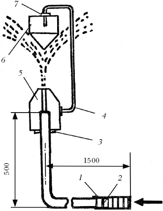
На свободном пятачке строят помост и устанавливают на нем емкость. Ее размеры зависят от величины сада (могут быть от 1 до 10 м3). В дне емкости предусмотрен клапан для выпуска воды.
По соседству с большой емкостью ставят поменьше – своеобразные водяные часы. В ней находится пенопластовый поплавок толщиной 40 мм (или резиновый мяч). Водяные часы снабжены выпускным устройством, в которое вставляются специальные прокладки. Изготавливаются такие вставки (до 10 шт.) из алюминия. Отверстия во вставках различаются по диаметру: от 0,1 мм до 1,4 мм. Каждое отверстие соответствует определенному интервалу полива. Если в большую емкость позволительно наливать любую воду, то в маленькую – только чистую, иначе водяные часы засорятся. Вода из них, через калиброванное отверстие, просачивается наружу постепенно. Одновременно с уровнем воды опускается и поплавок.

Устройство для автоматического полива. 1 – штанга, 2 – стойка, 3 – микропереключатель, 4 – выключатель.
Когда он займет определенное положение, несложное устройство (рычаг с грузом и тросиком) потянет клапан большой емкости вверх. Сливное отверстие откроется, и вода по трубам пойдет к растениям.
В них делают, на определенных расстояниях, отверстия. Вода через них просачивается наружу, увлажняя почву.
Когда вода выливается, штанга опускается и с помощью микропереключателя включает электродвигатель. Емкость заполняется, штанга поднимается и замыкает выключатель на стойке.
Бочковой полив
Для полива можно с успехом использовать приспособление, для которого потребуются 2 бочки, 4 деревянных бруска (длиной около 70 см), 1 вентиль, 4 кирпича (для фундамента) и пленка для укрытия.
На землю сначала кладут кирпичи, на них – деревянную (обязательно прокрашенную) решетку из брусков. В первой бочке на пробку наваривают отрезок трубы с резьбой под вентиль. В него вворачивают второй отрезок трубы (для шланга). Бочку после заполнения водой укрывают пленкой. За день вода в ней нагревается до 30 °С и выше. Приспособление занимает совсем мало места: всего около 1 м2. Приспособление позволяет готовить питательные растворы для растений. На объем воды 200 л вносят, например, 20 спичечных коробков мочевины.
Подкормку культур производят с помощью удлиненного шланга.
Дождевальная установка
Обязательное ее условие монтажа – наличие на участке стационарного водопровода. Для изготовления устройства-дождевателя берут водопроводную трубу длиной 2 м. С одного ее конца делают кольцевые проточки (под шланг), а с другой нарезают резьбу. Трубу сгибают под прямым углом.
Чтобы один из концов трубы был направлен вертикально, ее приваривают (или прикрепляют любым другим способом) к толстой пластине из нержавеющей стали.
Конусы вытачивают из металла. Нижний имеет сквозное отверстие (диаметром 8 – 10 мм).
В верхнем делают отверстие с резьбой. Его крепят на кронштейне из проволоки диаметром 5 мм контргайкой.
Нижний конус навинчивают на трубу и тоже фиксируют с помощью гайки. Верхний советуем отшлифовать: это позволит гораздо мельче распылять воду.

Дождевальная установка. 1 – шланг, 2 – кольцевые проточки, 3 – гайка, 4 – кронштейн, 5 – нижний конус, 6 – верхний конус, 7 – контргайка.
Дождеватель подсоединяют к шлангу, устанавливают в дальнем конце участка, включают насос и через каждые 20 – 30 мин подтягивают устройство на радиус полива.
Оросительная система
Вода поступает к растениям из установленной выше уровня земли емкости: причем чем выше, тем напор больше. Труба, отходящая от емкости, заканчивается краном. В магистральной трубе через равные промежутки просверливают отверстия. Обычно этот интервал соответствует расстоянию между грядками. Во все отверстия вваривают стальные штуцеры, на них надевают отводные рукава. В местах соединений не должно просачиваться ни капельки воды, иначе вся эта затея окажется под угрозой: давление внутри системы сразу же упадет. После того как все сделано, магистральную трубу слегка заглубляют.
В качестве отводных рукавов используют резиновые или пластиковые шланги и проделывают в них маленькие отверстия. Концы шлангов, как и магистральной трубы, забивают пробками, обмотав их паклей.
Размеры отверстий существенно зависят от климата и от того, насколько влаголюбивые культуры растут на участке. Если растения любят воду, каждый шланг должен «обслуживать» отдельную грядку; если же в меру, его прокладывают между двумя соседними грядами. При угрозе заморозков, закончив полив, шланги отсоединяют и воду из них сливают: замерзнув, она их разорвет.
Такая система лучше всего работает на ровной площадке: перепад высот на участке не должен превышать 1 м. Если небольшой уклон все таки есть, магистральная труба должна лежать на возвышении.
На периферии напор воды в отводном рукаве будет уменьшаться. А поскольку растения должны получать влагу в одинаковых объемах, то чем дальше от магистральной трубы, тем должен быть больше диаметр отверстий в шлангах. В идеале, повышение давления при понижении рельефа будет компенсировать его падение, вызванное длиной рукава. Если же длина орошаемых грядок превышает 50 м, рациональнее проложить магистраль по центру, а рукава отводить по обе стороны от нее.
Форсунка для полива участка
Различные приспособления для полива имеют один недостаток: имея постоянную площадь сечения, при понижении давления в водопроводе, они перестают работать нормально. Более удачный вариант – форсунка с автоматическим регулированием площади выходной кольцевой щели. Устройство несложно в изготовлении. Для приспособления берут 2 трубки (длиной 60 – 100 мм): одну диаметром 3/4, другую – 1/2 дюйма. На первой точно по диаметру трубы делают пропил (размером 6×10 мм). В него вставляют Т-образный шток. С этой целью на длинном конце штока предусмотрена резьба Мб. На шток ставят клапан, который фиксируют гайкой через пружину и шайбу. На трубе меньшего диаметра нарезают конические проточки для подсоединения шланга. Затем меньшую трубу вставляют в большую и сваривают. Главное – сделать это так, чтобы шток ходил точно по продольной оси.

Форсунка-автомат. 1 – штуцер (труба 1/2 дюйма), 2 – корпус (труба 3/4 дюйма), 3 – клапан (Д16), 4 – шайба (2 шт., Д16), 5 – пружина, 6 – гайка Мб, 7 – шток (сталь) (все размеры даны в мм).
Заключительная операция – пришлифовка клапана к открытому концу большой трубки и регулировка усилия сжатия клапана положением гайки: оно должно соответствовать минимальному рабочему давлению.
При повышении давления в водопроводе приспособление будет орошать максимальную площадь, при более низком – несколько меньшую, но распределение воды по участку будет качественным.
Дождевальная насадка (Н. Барсуков, Н. Княжичев, В. Марьясов)
В предложенной рационализаторами конструкции дождевальной насадки главную роль играет болт (диаметром 6 мм, с метрической резьбой). Вода из магистрали сначала поступает в насадку, а затем подается в зазор между корпусом и головкой болта. В результате влага веером из капель падает на землю.

Орошение происходит в радиусе от 3 до 10 м от насадки (расстояние зависит от напора в сети). Чтобы отрегулировать его на нужную дальность, потребуется лишь слегка довернуть болт отверткой (или, наоборот, чуть вывернуть его).