Отопление и водоснабжение загородного дома - Страница 6
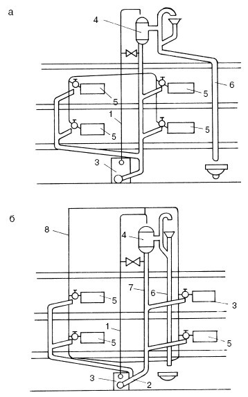
В первом случае нагретый теплоноситель поступает в стояки сверху, т. е. с чердака, во втором случае – снизу, из подвала. Стоит заметить, что независимо от схемы разводки расширительный бак устанавливают всегда в самой высокой точке, а водогрейный котел монтируют внизу (подвал или первый этаж). Весьма наглядно это показано на рис. 6.
Системы водяного отопления по схеме расположения труб стояков подразделяются на: однотрубные горизонтальные, однотрубные вертикальные, двухтрубные, тупиковые двухтрубные вертикальные, проточные двухтрубные с попутным движением воды и т. д. Расскажем подробнее о некоторых из них.

Рис. 6. Двухтрубная схема водяного отопления: а – с верхней разводкой; б – с нижней разводкой; 1 – главный стояк; 2 – обратный трубопровод; 3 – котел; 4 – расширительный бак; 5 – нагревательные приборы; 6 – перелив; 7 – предохранительный трубопровод; 8 – воздушная труба
Однотрубная горизонтальная система
В этой системе вода течет в одном направлении, а минимальная длина трубопровода обеспечивается за счет того, что вода после прохождения через отопительные приборы возвращается в подающую систему. Таким образом, расход в подающем трубопроводе является постоянным на всем его протяжении, а температура снижается. Это связано с тем, что поступает более холодная вода из отопительных приборов. При фиксированном теплоподводе площадь теплоотдающей поверхности отопительного прибора должна возрастать с увеличением расстояния от водонагревателя.
Серьезным недостатком однотрубной горизонтальной системы является невозможность регулирования теплового потока, т. е. отопительный прибор может работать только при полностью открытом или закрытом приборном вентиле. Частичное регулирование можно выполнять с помощью специальных устройств, однако это редко является экономически оправданным. В частности, для выполнения перепуска теплоносителя через перекрытый отопительный прибор следует смонтировать специальные перемычки, так называемые байпасы. Как это сделать, показано на рис. 7.

Рис. 7. Перепуск теплоносителя через перекрытый радиатор с помощью байпаса: 1 – байпас; 2 – радиатор
Данные перемычки дают возможность регулировать объем поступающей в отопительные приборы воды, но их установка довольно часто ухудшает внешний вид системы и повышает температуру на поверхности трубы стояка и перепуска.
Однотрубная вертикальная система
Для тех домов, которые имеют более чем один этаж, как правило, используют разновидность однотрубной системы с верхней разводкой и прокладкой по чердаку подающего трубопровода, от которого вниз отходят параллельные вертикальные стояки для подачи воды в радиаторы. Они должны находиться на разных этажах строго один над другим. При этом температура воды в подающем трубопроводе одинакова в точке входа в любой нисходящий стояк, т. е. изменение температуры возникает уже в самих стояках. При использовании системы с вертикальными стояками все отопительные приборы подсоединяются к общему стояку независимо от того, на каком этаже они расположены (рис. 8).
По сравнению с двухтрубными, однотрубные системы водяного отопления имеют более эстетичный внешний вид и небольшую сметную стоимость. Но устраивать их можно только в тех домах, где есть чердак, т. к. это дает возможность смонтировать систему с верхней разводкой.

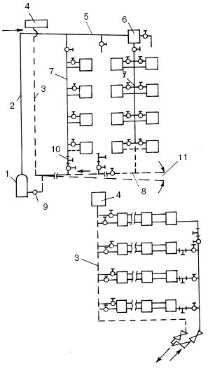
Рис. 8. Однотрубные системы водяного отопления: а – с замыкающими участками; б – с горизонтальной проточной системой; 1 – котел; 2 – главный стояк; 3 – расширительная труба; 4 – расширительный бак; 5 – подающая линия; 6 – воздухосборник; 7 – стояки; 8 – обратная линия; 9 – насос; 10 – тройники с пробками; 11 – уклон
Двухтрубные системы водяного отопления
Такая система водяного отопления является самой распространенной. В этом случае к каждому отопительному прибору подходят две трубы (прямая и обратная). Первая служит для подачи нагретой воды в отопительный прибор, а вторая – для отвода охлажденной воды.
Трубопровод может быть смонтирован несколькими способами:
1) в форме звезды, когда прямая и обратная трубы подходят к каждому отопительному прибору от общего трубопровода (рис. 9, а). В этом случае и прямая, и обратная трубы, идущие к котлу и от него, разветвляются на столько частей, сколько отопительных приборов установлено в доме;
2) в виде шлейфа. В этом случае прямая и обратная трубы последовательно обходят ряд отопительных приборов (рис. 9, б). При использовании такой формы разводки отопительные приборы, расположенные ближе к котлу, имеют более выгодное положение, потому что им достается более горячая вода. Чтобы разница температур не была слишком большой, сечение труб по мере приближения к котлу увеличивается.
Недостатком двухтрубной системы является потеря давления в каждом гидравлическом контуре (соответствующем каждому радиатору), возрастающая по мере удаления от водонагревателя (котла). Для обеспечения одинакового давления нужно принимать специальные меры.
Двухтрубные системы бывают с тупиковым и попутным движением воды в магистралях.
Система с тупиковым движением воды аналогична однотрубной вертикальной системе. Исключением является то, что радиаторы на каждом этаже подключены параллельно между подводящим и отводящим стояками. У тупиковой системы имеется два циркуляционных кольца разной длины: одно из них (короткое) проходит через самый близкий к котлу стояк, другое (длинное) – через самый удаленный от котла стояк.

Рис. 9. Способы выполнения двухтрубной разводки: а – способ разводки «звезда»; б – способ разводки «шлейф»; 1 – прямая труба; 2 – обратная труба; 3 – отопительные приборы

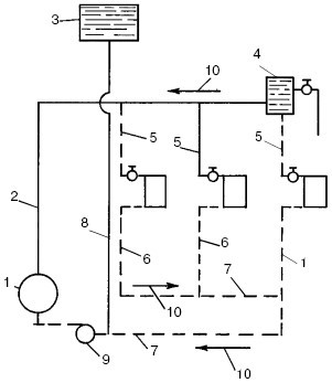
Рис. 10. Водяное отопление с попутным движением воды: 1 – котел; 2 – главный стояк; 3 – расширительный бак; 4 – воздухосборник; 5 – подающие стояки; 6 – обратные стояки; 7 – обратная линия; 8 – расширительная труба; 9 – насос; 10 – направление уклона труб
Двухтрубная система с попутным движением воды обладает всеми достоинствами вообще двухтрубных систем. В то же время она лишена недостатка, связанного с неравенством перепадов давления, присущего системе с тупиковым движением воды. В этом случае горячая вода из водонагревателя проходит по подающему трубопроводу уменьшающегося размера к трубам, затем к нагревательным приборам, а от них поступает в обратный трубопровод, который идет параллельно подающему в направлении водонагревателя. Трубопровод собирает выходящую из радиаторов воду и увеличивается в диаметре до последнего радиатора. При этом длина пути, проходимого водой, одинакова для всех радиаторов. На рис. 10 показан пример такой системы отопления.
Водогрейные котлы (Генераторы тепла)
Водогрейный котел, или генератор тепла, представляет собой устройство, вырабатывающее нужное количество тепла при сжигании топлива. Это тепло передается жидкому теплоносителю.
Конструкция самых разных водогрейных котлов одинакова. Они состоят из металлического корпуса с теплообменником внутри. Теплоноситель нагревается в теплообменнике и поступает по трубам к отопительным приборам.
В настоящее время на рынке имеется несколько десятков моделей отечественных и импортных котлов мощностью от 10 до 420 кВт, что соответствует тепловой мощности от 5000 до 360 000 ккал/ч.