Отопление и водоснабжение загородного дома - Страница 12
Таблица 21
Комбинированные котлы, работающие на газовом и жидком топливе


Комбинированные котлы бывают двух типов:
• с двумя горелками: одна для газа, другая для жидкого топлива;
• с одной комбинированной горелкой для обоих видов топлива.
В первом случае при необходимости можно легко снять одну горелку, а на ее место установить другую, которая вставляется в специально оборудованное место на дверце или в передней части котла (горелку крепят с помощью винтов на глубине топочной камеры). После этого с помощью накидной гайки подсоединяется газовая или жидкотопливная линия.
Газовая горелка, применяемая в комбинированных аппаратах, имеет вентиляторный наддув. Это дает ей возможность не зависеть от давления газа в магистрали. В этом случае котел может работать даже тогда, когда давление газа в магистрали значительно снижено.
Если агрегат имеет одну комбинированную горелку, то подводящие топливные линии (газ и жидкое топливо) подходят к ней с двух сторон. При необходимости горелка подключается к нужной линии. Конструктивная особенность комбинированных горелок состоит в том, что они имеют одинаково круглое пламя независимо от вида топлива. Обычно такие горелки оснащены воздушным клапаном на сервоприводе, что позволяет значительно экономить тепло и дает возможность топливу сгорать полностью. Данный клапан не дает камере сгорания остывать в период, когда котел не работает, а при вторичном розжиге аппарата плавно переводит оборудование в рабочее состояние. Есть или нет в горелке воздушный клапан, можно увидеть в маркировке. В табл. 22 даны некоторые модели газовых горелок для комбинированных котлов, а в табл. 23 – модели жидкотопливных горелок.
Таблица 22
Горелки для газового топлива


Таблица 23
Горелки для жидкого топлива


Поскольку цена котла с комбинированной горелкой значительно выше, чем у котла с одним видом топлива, но со сменной горелкой, то в России их пока немного.
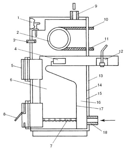
Универсальный котел «Пламя»
Такие котлы бывают как одноконтурными, так и двухконтурными. Их корпус изготавливается из стали, а работают они на всех видах топлива (рис. 21). Конструкция агрегата «Пламя» такова, что позволяет довольно быстро переоборудовать его с одного вида топлива на другой. На передней панели имеются две дверцы. Первую из них используют для загрузки твердого топлива, а вторую – для чистки топки и для подачи воздуха.
В случае, когда котел работает на газе или дизтопливе, вместо второй дверцы устанавливается атмосферная или жидкотопливная горелка. На задней стенке котла смонтированы патрубки горячей воды, дымоход и патрубок обратного трубопровода отопительной системы.
При работе котла с использованием твердого топлива используется регулятор подачи воздуха, который регулирует интенсивность горения и систему электроподогрева, позволяющую поддерживать постоянную температуру между загрузкой порций топлива. Кроме этого, если произойдет отключение основного источника обогрева, то данная система будет поддерживать плюсовую температуру в доме.
Промышленность выпускает три модификации универсального котла «Пламя», которые классифицируются по мощности:
– модель 12,5 предназначена для обогрева домов площадью до 120 м2;
– модель 20 – для домов площадью от 120 м2;
– модель 40 – для домов площадью 250—500 м2. Данные модели предназначены для отопительных систем с естественной и принудительной циркуляцией теплоносителя.

Рис. 21. Универсальный котел «Пламя»: 1 – термометр; 2 – проточный водонагреватель; 3 – патрубок установки термодатчика; 4 – турбулизатор; 5 – дверца загрузочная; 6 – топка; 7 – колосник; 8 – поддувало; 9 – патрубок подающего трубопровода; 10 – патрубок горячей воды; 11 – патрубок холодной воды; 12 – шибер регулирования тяги, установленный в дымоходе; 13 – кожух; 14 – воздушный зазор (теплозащита); 15 – внешняя стенка котла; 16 – водяная рубашка (теплоноситель); 17 – внутренняя стенка котла; 18 – патрубок обратного трубопровода
Положительными качествами котла «Пламя» можно считать невысокую цену оборудования, простоту и дешевизну установки, долгий срок эксплуатации, а также экономию тепла за счет системы электроподогрева.
Водогрейные (гидронные) котлы
В настоящее время промышленность выпускает водогрейные котлы трех типов:
• с горизонтальными водяными трубами (ГВТ);
• с горизонтальными огневыми трубами (ГЖТ);
• с чугунным секционным теплообменником (ЧСТ).
Внешний вид такого рода котлов показан на рис. 22.
Если при эксплуатации водогрейных котлов вышеуказанных типов будут соблюдаться условия, оптимальные для их работы, то агрегаты будут работать долго и без сбоев. Неправильная эксплуатация и уход не только уменьшают КПД котла, но могут привести к перебоям в работе весьма дорогостоящего и надежного оборудования. Поскольку в России довольно часто бывают всевозможные форс-мажорные явления, то специалисты были вынуждены придумать так называемые гидронные котлы, имеющие «прощающую» конструкцию. Массовое производство таких котлов началось в 2000 г.
Специальная «прощающая» конструкция была заимствована из авиастроения. Конструкция представляет собой систему, способную эффективно работать в экстремальных условиях: при высокой жесткости воды, при сбоях в подаче электроэнергии, при низкой температуре воды и т. д.
Гидронные котлы – это высокоскоростные водогрейные агрегаты малой емкости. Какими же преимуществами обладает гидронный котел по сравнению с другими моделями отопительных котлов?

Рис. 22. Водогрейные котлы: а – с горизонтальными водяными трубами; б – с чугунным секционным теплообменником; в – с горизонтальными огневыми трубами
Первое, и основное, преимущество – высокая скорость прохождения теплоносителя через нагреваемые поверхности аппарата. Высокая скорость предотвращает отложение накипи на стенках теплообменника, в трубах и отопительных приборах. Даже если накипь и появится, водяной поток, движущийся с большой скоростью, тут же смоет ее. Причем чем жестче будет вода, тем более высокой должна быть скорость потока.
Второе преимущество: в связи с высокой скоростью движения теплоносителя в системе скорость теплоотдачи в котле такого типа в 10 раз выше, чем в аппаратах обычной системы.
Третье преимущество: из-за небольшого водяного объема гидронные котлы абсолютно безопасны и экономят топливо. Агрегаты с большим объемом воды требуют больше времени и топлива для нагрева всей массы воды. Если при этом выйдет из строя система безопасности, то огромное количество горячей воды может спровоцировать сильный взрыв с довольно ощутимыми разрушениями. Правда, происходит это весьма редко, но все-таки случается.
Четвертое преимущество: в гидронных котлах не образуется конденсат, а значит, они не подвержены коррозии. Это происходит еще и потому, что трубы теплообменника изготовлены из меди, которая, как известно, слабо поддается коррозии.